LEMON Manuals: Even more car manuals for everyone
Home >> Cadillac >> 2012 >> Escalade EXT >> Repair and Diagnosis >> Electrical >> Wiring Diagrams >> Wiring Systems And Power Management - Component Connector End Views - Memory Seat Module (X5) To Yaw Sensor >> Component Connector End Views >> Transmission Power Inverter Module (3 Phase) Cable Cover (HP2)

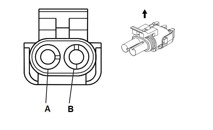
Transmission Power Inverter Module (3 Phase) Cable Cover (HP2)

GM781760Courtesy of
Connector Part Information
  • Harness Type: Engine
  • OEM Connector: 12015792
  • Service Connector: 12126452
  • Description: 2-Way F Weather Pack Series, Sealed (BK)
Terminal Part Information
  • Terminated Lead: Service by Connector Assembly- 12126452
  • Release Tool: J-38125-10A
  • Diagnostic Test Probe: J-35616-8 (OG)
  • Terminal/Tray: 12089188/3
  • Core/Insulation Crimp: E/5
Transmission Power Inverter Module (3 Phase) Cable Cover (HP2)

Pin Wire Circuit Function
A 0.5 OG 5690 High Voltage Interlock Circuit-
B 0.5 YE 5690 High Voltage Interlock Circuit-