LEMON Manuals: Even more car manuals for everyone
Home >> Cadillac >> 2011 >> Escalade EXT >> Repair and Diagnosis >> Quick Lookups >> Wiring Diagrams >> Wiring Systems And Power Management - Component Connector End Views - Electronic Steering Control Module X2 Through Memory Seat Module >> Component Connector End Views >> Heated Seat Element - Left Rear Cushion (KA6)

Heated Seat Element - Left Rear Cushion (KA6)

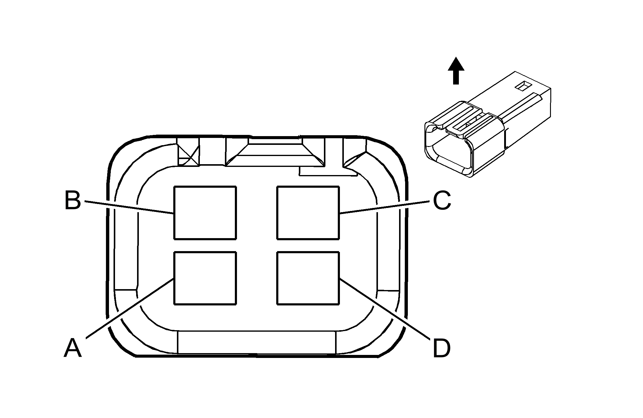
Fig 1: Heated Seat Element - Left Rear Cushion (KA6) Connector End View
GM283890Courtesy of GENERAL MOTORS CORP.
Heated Seat Element- Left Rear Cushion (KA6)

Pin Wire Circuit Function
A 1 PK 2445 Heated Seat Element Control
B 1 BN 2295 Ground
C 0.35 L-BU 2299 Left Rear Heated Seat Sensor Signal
D 0.35 D-BU 2298 Low Reference
Connector Part Information
  • Harness Type: Left Rear Seat
  • OEM Connector: 12066498
  • Service Connector: 12085536
  • Description: 4-Way F Metri-Pack 150 Series (BK)
Terminal Part Information
  • Terminal/Tray: Service by Harness- See Part Catalog
  • Core/Insulation Crimp: Not Available
  • Release Tool/Test Probe: Not Available