LEMON Manuals: Even more car manuals for everyone
Home >> Cadillac >> 2011 >> Escalade EXT >> Repair and Diagnosis >> Quick Lookups >> Wiring Diagrams >> Wiring Systems And Power Management - Component Connector End Views - Electronic Steering Control Module X2 Through Memory Seat Module >> Component Connector End Views >> HVAC Control Module X3 (CJ2)

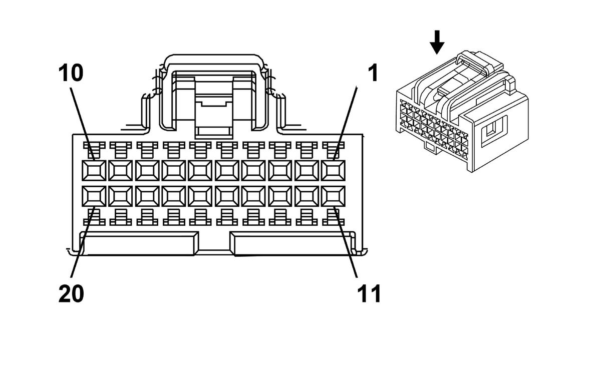
HVAC Control Module X3 (CJ2)

Fig 1: HVAC Control Module X3 (CJ2) Connector End View
GM2498539Courtesy of GENERAL MOTORS CORP.
HVAC Control Module X3 (CJ2)

Pin Wire Circuit Function
1 0.35 TN 518 Lower Left Air Temperature Sensor Signal
2 0.35 YE/BK 713 Defrost/Heater Mode Valve Position Sensor Signal
3 0.35 PU 1838 Recirculation Door Position Signal
4 0.35 GY/BK 754 Blower Motor Speed Control
5-9 - - Not Used
10 0.35 GY 598 5-Volt Reference
11 0.35 TN 520 Lower Right Air Temperature Sensor Signal
12 0.35 L-BU 733 Air Temperature Door Position Signal
13 0.35 D-BU 1646 Auxiliary Air Temperature Door Position Signal (C69)
14 0.5 D-BU 204 A/C Low Pressure Sensor Signal (HP2)
0.35 WH 2622 Evaporator Temperature Signal (except HP2)
15 0.35 TN 2273 Mode Door Control
16 0.35 D-BU 1199 Air Temperature Door Control
17 0.35 D-GN 1614 Recirculation Door Control
18 0.35 WH/BK 1236 Auxiliary Air Temperature Door Control (C69)
19 0.5 TN 914 Low Reference (HP2)
20 0.35 YE 1791 Low Reference
Connector Part Information
  • Harness Type: Instrument Panel
  • OEM Connector: 13782500
  • Service Connector: 13578571
  • Description: 20-Way F USCAR 0.64 Series (GY)
Terminal Part Information
  • Terminated Lead: 13575550
  • Release Tool: J-38125-559
  • Diagnostic Test Probe: J-35616-16 (L-GN)
  • Terminal/Tray: 15445905/23
  • Core/Insulation Crimp: J/J