LEMON Manuals: Even more car manuals for everyone
Home >> Cadillac >> 2009 >> Escalade EXT >> Repair and Diagnosis >> External Pages >> Different car >> Section 8 (Cellular System, Entertainment System, And Navigation System) >> Component Locator >> Entertainment/Communication Component Views

Entertainment/Communication Component Views

WARNING: This page does not describe the selected car, but rather 8 other vehicles, including the 2007 GMC Yukon XL, 2007 GMC Yukon, 2007 Chevrolet Tahoe, 2007 Chevrolet Suburban, and 2007 Chevrolet Avalanche. However, it is still accessible from the selected car via links, so may be relevant.
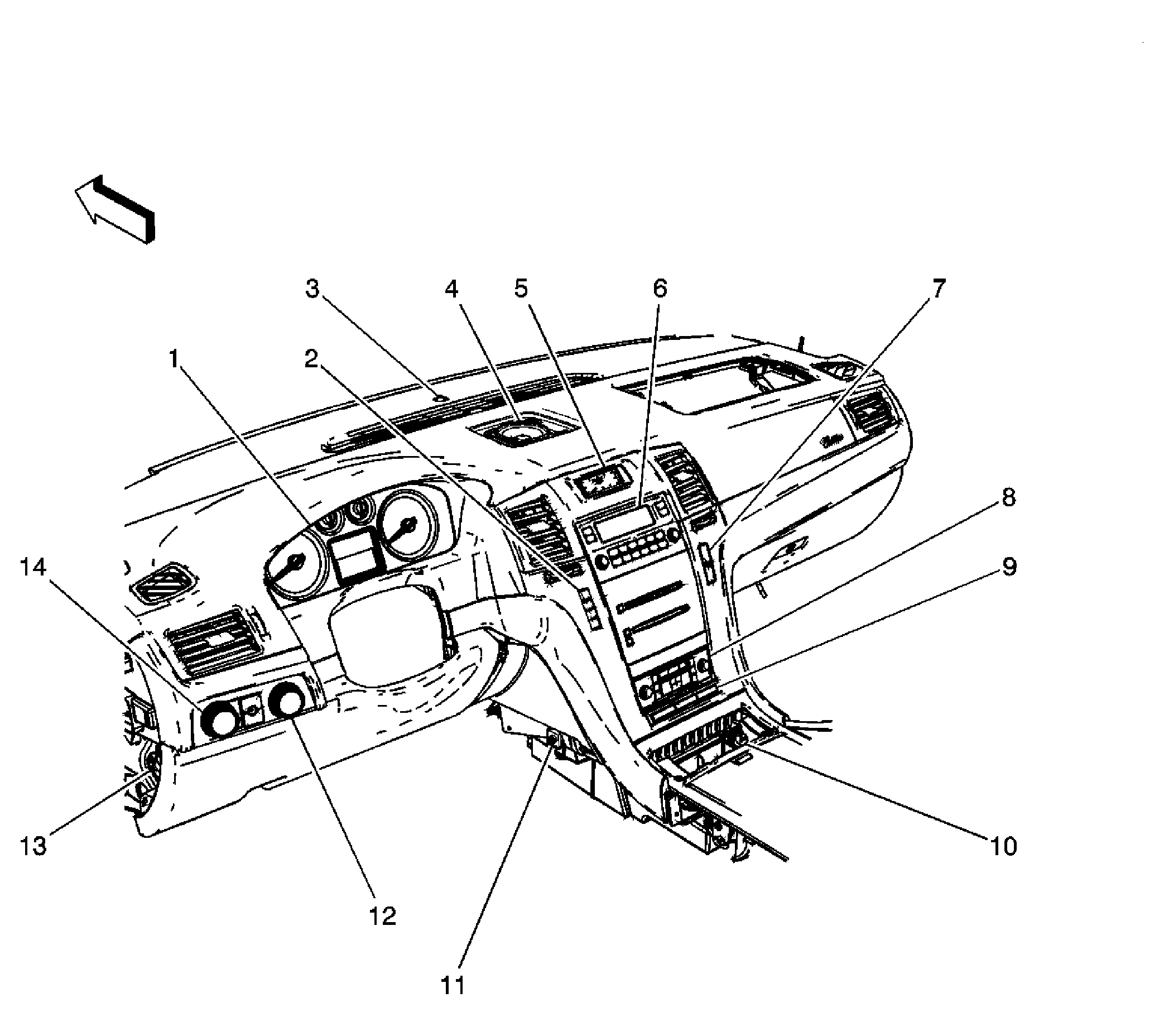
Fig 1: Front of the I/P (Except Z75)
GM1714203Courtesy of GENERAL MOTORS CORP.
Callout Component Name
1 Turn Signal Multifunction Switch
2 Inflatable Restraint Steering Wheel Module Coil
3 Instrument Panel Cluster (IPC)
4 Tow/Haul Switch
5 Driver Information Center (DIC) Switch
6 Ambient Light/Sunload Sensor Assembly (CJ2) or Ambient Light Sensor (CJ3)
7 HVAC Control Module
8 Auxiliary Power Outlet - Front 2
9 I/P Multifunction Switch Assembly
10 Auxiliary Power Outlet - Front 1
11 Radio
12 Transfer Case Shift Control Switch
13 Headlamp and Panel Dimmer Switch
Fig 2: Front of the I/P (Z75)
GM1732568Courtesy of GENERAL MOTORS CORP.
Callout Component Name
1 Instrument Panel Cluster (IPC)
2 Driver Information Center (DIC) Switch
3 Ambient Light/Sunload Sensor Assembly (CJ2)
4 Speaker - Center
5 Analog Clock
6 Radio
7 Traction Control / Rear Object Detection Switch
8 HVAC Control Module
9 I/P Multifunction Switch Assembly
10 Auxiliary Power Outlet - Front 1
11 Noise Compensation Microphone (Y91)
12 Transfer Case Shift Control Switch
13 Fuse Block - I/P
14 Headlamp and Panel Dimmer Switch
Fig 3: Behind the I/P
GM1732559Courtesy of GENERAL MOTORS CORP.
Callout Component Name
1 I/P Trim
2 Fuse Block - I/P
3 Body Control Module (BCM)
4 Speaker - Subwoofer (UQA)
5 Vehicle Communication Interface Module (VCIM) (UE1)
6 Digital Radio Receiver (U2K)
Fig 4: Top of the I/P
GM1739425Courtesy of GENERAL MOTORS CORP.
Callout Component Name
1 I/P Trim
2 Navigation Antenna Module
Fig 5: Top Front of the Passenger Compartment
GM1714227Courtesy of GENERAL MOTORS CORP.
Callout Component Name
1 Sunroof Switch (CF5)
2 Courtesy/Reading Lamps - Second Row
3 Power Liftgate Switch (E61)
4 Folding Seat Switch - Front (ARS)
5 Garage Door Opener (UG1)
6 Onstar Button Assembly (UE1)
7 Inside Rearview Mirror (ISRVM)
8 Inflatable Restraint Passenger Air Bag ON/OFF Indicator
9 Courtesy/Reading Lamp - Front
10 Inside Air Temperature Sensor - Front (CJ2)
Fig 6: Above the Driver Door
GM1739414Courtesy of GENERAL MOTORS CORP.
Callout Component Name
1 Windshield
2 Cellular / Navigation / and Digital Radio Antenna (U2K)
Fig 7: Driver Door
GM1714202Courtesy of GENERAL MOTORS CORP.
Callout Component Name
1 Door Frame
2 Outside Rearview Mirror - Driver
3 Memory/Heated Seat Switch (AN3 Except KB6) / Memory Seat Switch (KB6)
4 Driver Door Switch (DDS)
5 Speaker - LF Door
6 Window Motor - Driver
7 Inflatable Restraint Side Impact Sensor (SIS) - LF (ASF)
8 Door Latch Assembly - Driver
Fig 8: Passenger Door
GM1714232Courtesy of GENERAL MOTORS CORP.
Callout Component Name
1 Outside Rearview Mirror - Passenger
2 Passenger Door Switch (PDS)
3 Door Latch Assembly - Passenger
4 Inflatable Restraint Side Impact Sensor (SIS) - RF (ASF)
5 Speaker - RF Door
6 Window Motor - Passenger
7 Heated Seat Switch (KA6)
Fig 9: RR Door
GM1714215Courtesy of GENERAL MOTORS CORP.
Callout Component Name
1 Window Switch - RR
2 Door Frame
3 Inflatable Restraint Side Impact Sensor (SIS) - RR (ASF)
4 Speaker - RR Door
5 Window Motor - RR
Fig 10: LR Door
GM1732576Courtesy of GENERAL MOTORS CORP.
Callout Component Name
1 Door Frame
2 Window Motor - LR
3 Window Switch - LR
4 Speaker - LR Door
5 Inflatable Restraint Side Impact Sensor (SIS) - LR (ASF)
6 Door Latch Assembly - LR
Fig 11: LR of the Passenger Compartment
GM1714230Courtesy of GENERAL MOTORS CORP.
Callout Component Name
1 Liftgate Trim
2 Speaker - Left D-Pillar
3 LR Compartment Trim
Fig 12: RR of the Passenger Compartment (E52)
GM1714229Courtesy of GENERAL MOTORS CORP.
Callout Component Name
1 Information Center Telltale Assembly (UD7)
2 Speaker - Right D-Pillar
3 Auxiliary Power Outlet (APO) - Rear
Fig 13: Near the RR Window
GM1739420Courtesy of GENERAL MOTORS CORP.
Callout Component Name
1 Rear Window Antenna
2 RR Window
3 RR Door Panel