LEMON Manuals: Even more car manuals for everyone
Home >> Cadillac >> 2009 >> Escalade EXT >> Repair and Diagnosis (Single Page) >> Engine Performance >> System >> Engine Control System & Fuel - 4.8L, 5.3L, 6.0L Or 6.2L - Introduction >> Repair Instructions >> Engine Control Module Replacement >> Installation Procedure

Installation Procedure

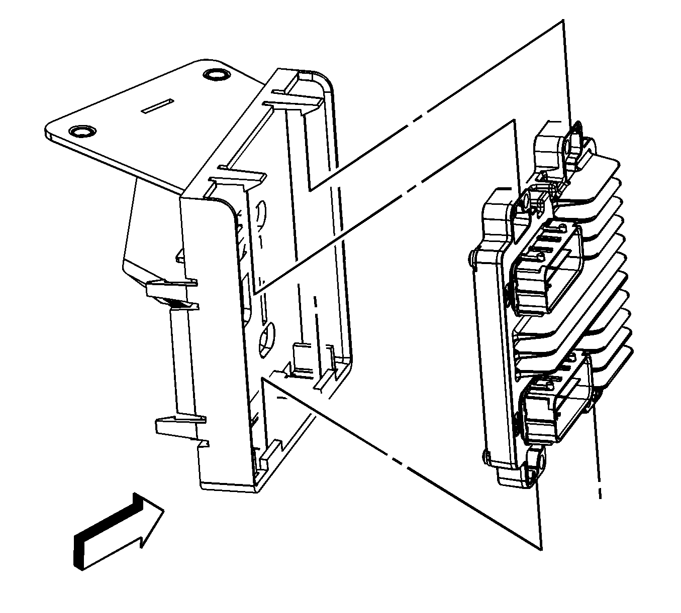
    Fig 1: View Of ECM & Bracket
    GM1703439Courtesy of GENERAL MOTORS CORP.
  1. Install the bottom ECM tabs into the bracket.
  2. Push the ECM in securing the ECM to the bracket.
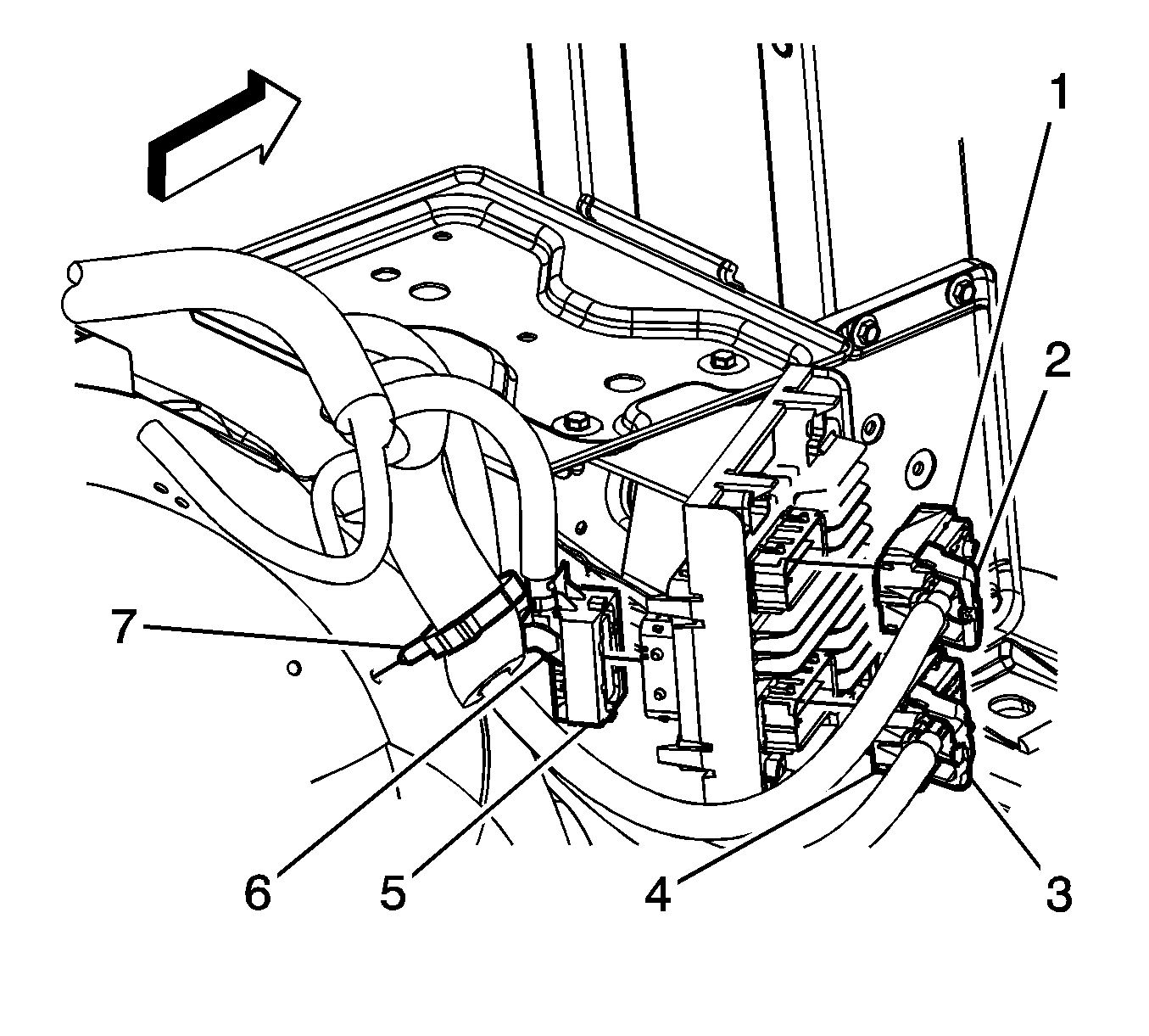
  3. Fig 2: View Of ECM Components
    GM1703437Courtesy of GENERAL MOTORS CORP.
  4. Position the engine wiring harness lower electrical connector and engage the retainer (3) securing the lower connector (4) to the ECM.
  5. Position the engine wiring harness upper electrical connector and engage the retainer (2) securing the upper connector (1) to the ECM.
  6. Connect the negative battery cable. Refer to Battery Negative Cable Disconnection and Connection .
  7. If a NEW ECM was installed, program the ECM. Refer to Control Module References .