LEMON Manuals: Even more car manuals for everyone
Home >> Cadillac >> 2007 >> STS V >> Repair and Diagnosis >> Quick Lookups >> Wiring Diagrams >> OEM Connector End Views - Cruise Control, Electronic Suspension Control, Engine Control Module, Engine Controls, Horn, Theft Deterrent System, Shift Lock Control, Steering Assist, Engine Electrical, Automatic Level Control >> Electronic Suspension Control Connector End Views >> Suspension Damper Connector End View - LR

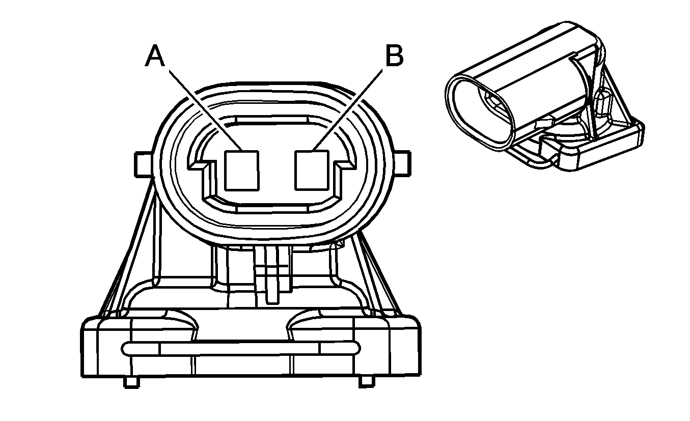
Suspension Damper Connector End View - LR

Fig 1: Suspension Damper - LR Connector End View
GM287974Courtesy of GENERAL MOTORS CORP.
Fig 2: Suspension Damper - LR Connector End View
GM1486322Courtesy of GENERAL MOTORS CORP.
Suspension Damper - LR Connector Parts Information

Connector Part Information 
  • OEM: 15305168
  • Service: 12167117
  • Description: 2-Way F Metri-Pack 150 Series (GY)
  • OEM: 15359261
  • Service: 88953232
  • Description: 2-Way M Metri-Pack 150 Series (L-GY)
Terminal Part Information 
  • Terminal/Tray: 12048074/2
  • Core/Insulation Crimp: E/1
  • Release Tool/Test Probe: 12094429/J-35616-2A (GY)
  • Terminal/Tray: N/A
  • Core/Insulation Crimp: N/A
  • Release Tool/Test Probe: N/A
Suspension Damper - LR Connector End View

Pin Wire Color Circuit No. Function
A OG 1010 Left Rear Strut Motor Increase Damping Control (F55)
B OG/BK 1013 Left Rear Strut Motor Decrease Damping Control (F55)