LEMON Manuals: Even more car manuals for everyone
Home >> Cadillac >> 2007 >> STS V >> Repair and Diagnosis >> Quick Lookups >> Wiring Diagrams >> OEM Connector End Views - Antilock Brake System, Remote Function, Steering Wheel And Column, Engine Control Module, Engine Controls, Entertainment/Communication >> Remote Function Connector End Views >> Keyless Entry Antenna Connector End View - Headliner

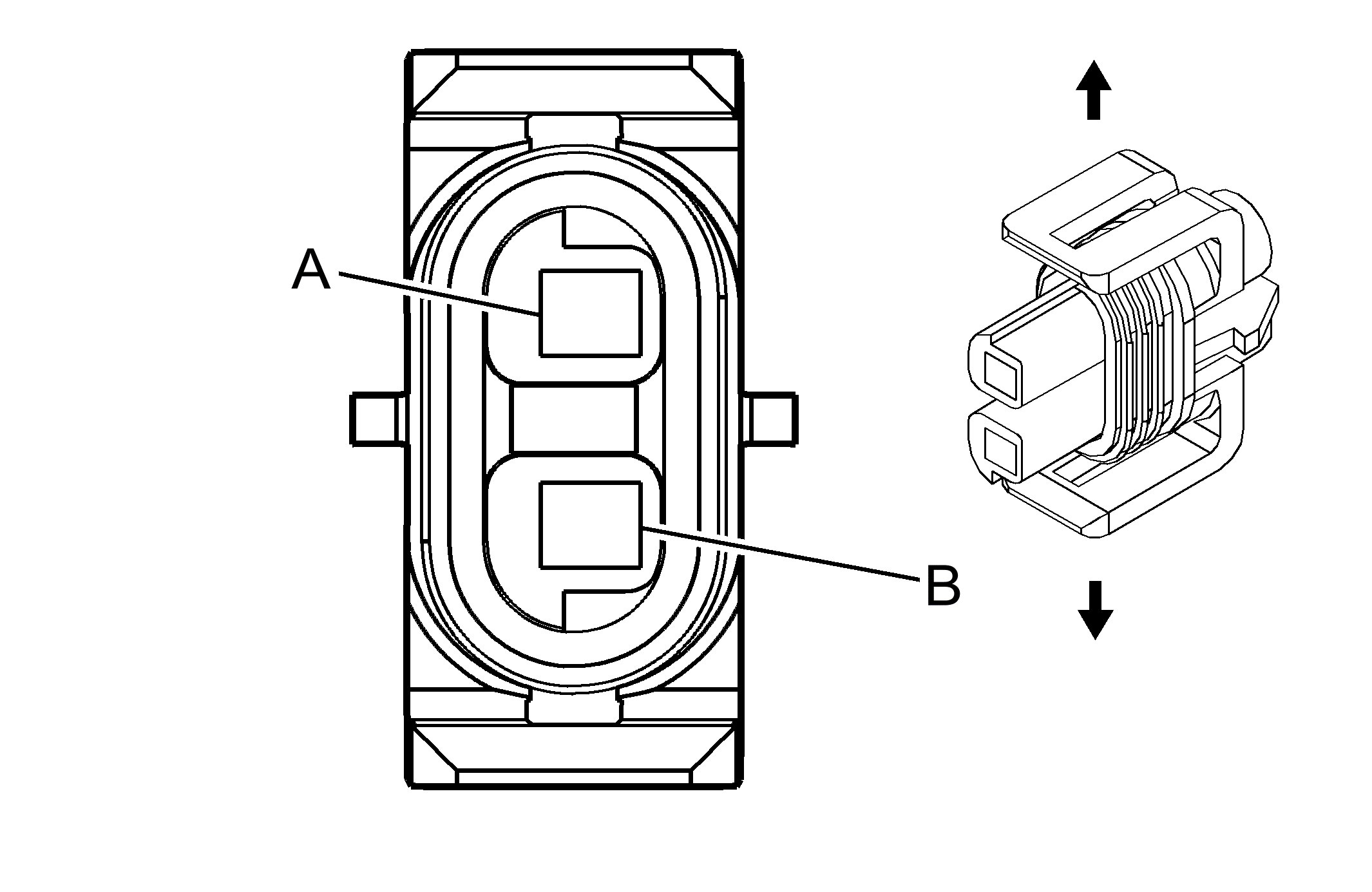
Keyless Entry Antenna Connector End View - Headliner

Fig 1: Keyless Entry Antenna - Headliner Connector End View
GM1334534Courtesy of GENERAL MOTORS CORP.
Keyless Entry Antenna - Headliner Connector Parts Information

Connector Part Information 
  • OEM: 12162017
  • Service: 12101937
  • Description: 2-Way F Metri-Pack 150 Series Sealed (M-GY)
Terminal Part Information 
  • Terminal/Tray: 12048074/2
  • Core/Insulation Crimp: E/1
  • Release Tool/Test Probe: 12094429/J-35616-2A (GY)
Keyless Entry Antenna - Headliner Connector End View

Pin Wire Color Circuit No. Function
A L-GN 5707 Keyless Entry Antenna Signal (2)
B L-GN/BK 5711 Keyless Entry Antenna Low Reference (2)