LEMON Manuals: Even more car manuals for everyone
Home >> Cadillac >> 2007 >> STS V >> Repair and Diagnosis >> Quick Lookups >> Wiring Diagrams >> OEM Connector End Views - Antilock Brake System, Remote Function, Steering Wheel And Column, Engine Control Module, Engine Controls, Entertainment/Communication >> Entertainment/Communication Connector End Views >> Speaker Connector End View - LF I/P (UX8)

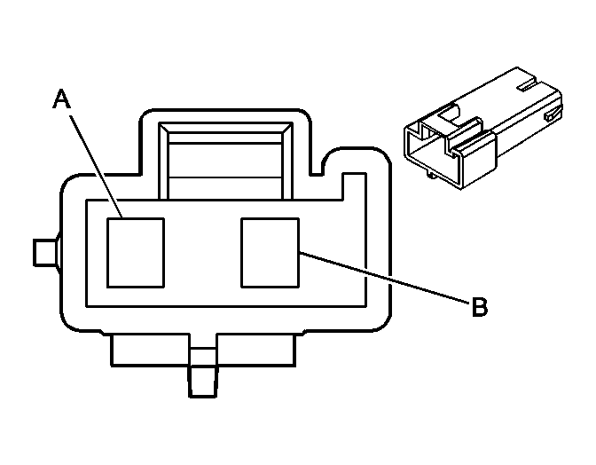
Speaker Connector End View - LF I/P (UX8)

Fig 1: Speaker - LF I/P (UX8) Connector End View
GM795623Courtesy of GENERAL MOTORS CORP.
Speaker - LF I/P (UX8) Connector Parts Information

Connector Part Information 
  • OEM: 12110131
  • Service: 15306030
  • Description: 2-Way M Metri-Pack 280 Series (WH)
Terminal Part Information 
  • Terminal/Tray: 12034047/2
  • Core/Insulation Crimp: E/A
  • Release Tool/Test Probe: 12094430/J-35616-5 (PU)
Speaker - LF I/P (UX8) Connector End View

Pin Wire Color Circuit No. Function
A YE 1956 Left Front Tweeter Speaker (-) (YQ2)
B TN 1856 Left Front Tweeter Speaker (+) (YQ2)