LEMON Manuals: Even more car manuals for everyone
Home >> Cadillac >> 2007 >> STS V >> Repair and Diagnosis >> Quick Lookups >> Wiring Diagrams >> OEM Connector End Views - Antilock Brake System, Remote Function, Steering Wheel And Column, Engine Control Module, Engine Controls, Entertainment/Communication >> Engine Controls Connector End Views >> Heated Oxygen Sensor (HO2S) Connector End View - Bank 1 Sensor 2

Heated Oxygen Sensor (HO2S) Connector End View - Bank 1 Sensor 2

Fig 1: Heated Oxygen Sensor (HO2S) - Bank 1 Sensor 2 Connector End View
GM806613Courtesy of GENERAL MOTORS CORP.
Heated Oxygen Sensor (HO2S) - Bank 1 Sensor 2 Connector Parts Information

Connector Part Information 
  • OEM: 15326423
  • Service: See Catalog
  • Description: 4-Way M Metri-Pack 150 Series (BK)
Terminal Part Information 
  • Terminal/Tray: 12045773/2
  • Core/Insulation Crimp: E/1
  • Release Tool/Test Probe: 12094429/J-35616-3 (GY)
Heated Oxygen Sensor (HO2S) - Bank 1 Sensor 2 Connector End View

Pin Wire Color Circuit No. Function
A TN/WH 3121 HO2S Low Signal Bank 1 Sensor 2
B PU 3120 HO2S High Signal Bank 1 Sensor 2
C GY/WH 3122 HO2S Heater Low Control Bank 2 Sensor 1
D PK/BK 5294 Engine Main Relay Fused Control (5)


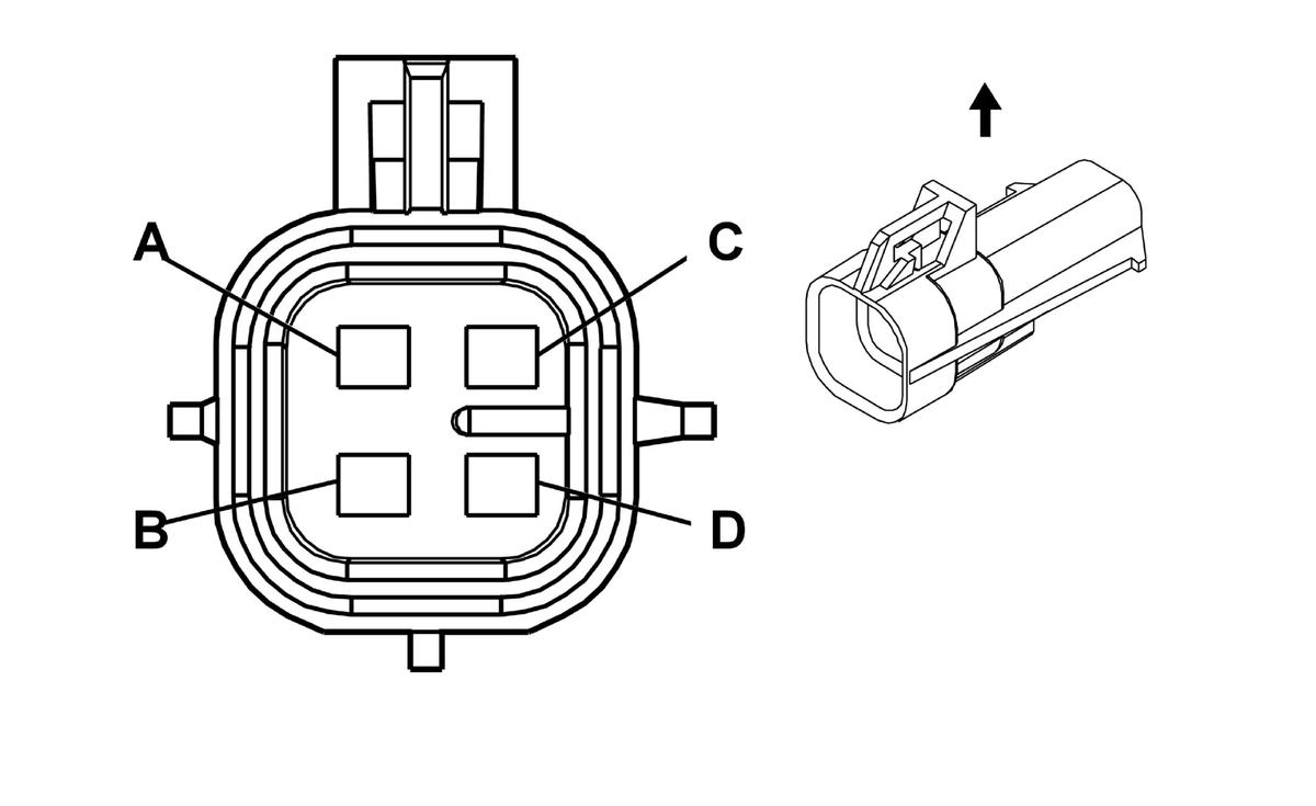
Fig 1: Heated Oxygen Sensor (HO2S) - Bank 1 Sensor 2 Connector End View
GM280761Courtesy of GENERAL MOTORS CORP.
Heated Oxygen Sensor (HO2S) - Bank 1 Sensor 2 Connector Parts Information

Connector Part Information 
  • OEM: 12160825
  • Service: See Catalog
  • Description: 4-Way M Metri-Pack 150 Series (BK)
Terminal Part Information 
  • Terminal/Tray: 12045773/2
  • Core/Insulation Crimp: E/1
  • Release Tool/Test Probe: 12094429/J-35616-3 (GY)
Heated Oxygen Sensor (HO2S) - Bank 1 Sensor 2 Connector End View

Pin Wire Color Circuit No. Function
A TN/WH 3121 HO2S Low Signal Bank 1 Sensor 2
B PU 3120 HO2S High Signal Bank 1 Sensor 2
C GY/WH 3122 HO2S Heater Low Control Bank 1 Sensor 2
D PK/BK 5294 Engine Main Relay Fused Control (5)