LEMON Manuals: Even more car manuals for everyone
Home >> Cadillac >> 2007 >> STS V >> Repair and Diagnosis >> Quick Lookups >> Wiring Diagrams >> OEM Connector End Views - Antilock Brake System, Remote Function, Steering Wheel And Column, Engine Control Module, Engine Controls, Entertainment/Communication >> Engine Controls Connector End Views >> Charge Air Cooler (CAC) Coolant Pump Connector End View

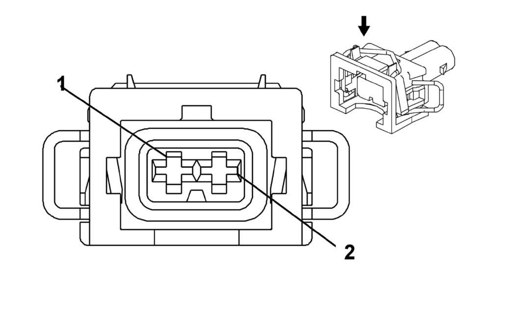
Charge Air Cooler (CAC) Coolant Pump Connector End View

Fig 1: Charge Air Cooler (CAC) Coolant Pump Connector End View
GM1405759Courtesy of GENERAL MOTORS CORP.
Charge Air Cooler (CAC) Coolant Pump Connector Parts Information

Connector Part Information 
  • OEM: 12131678
  • Service: 89046833
  • Description: 2-Way F DS 280 SLD Delphi (BK)
Terminal Part Information 
  • Terminal/Tray: 60012941/21
  • Core/Insulation Crimp: See Terminal Repair Kit
  • Release Tool/Test Probe: 12122378/J-35616-4A (PU)
Charge Air Cooler (CAC) Coolant Pump Connector End View

Pin Wire Color Circuit No. Function
1 BK 1550 Ground
2 TN 2022 Coolant Pump Control