LEMON Manuals: Even more car manuals for everyone
Home >> Cadillac >> 2007 >> STS V >> Repair and Diagnosis >> External Pages >> Different car >> Section 69 (Object Detection System) >> Component Locator >> Object Detection Component Views

Object Detection Component Views

WARNING: This page is about a different car, the 2006 Cadillac STS. However, it is still accessible from the selected car via links, so may be relevant.
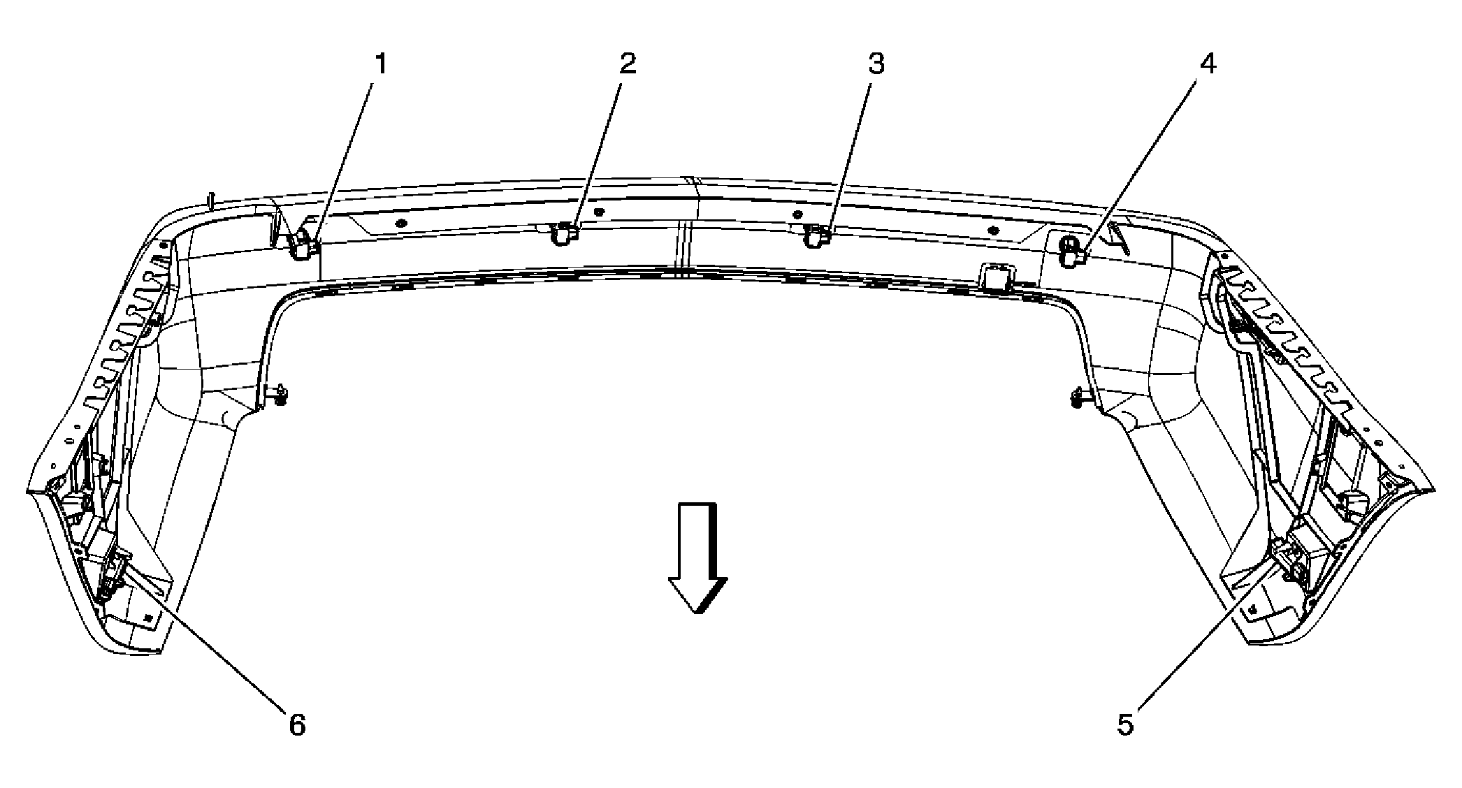
Fig 1: Rear Fascia Component View
GM1488566Courtesy of GENERAL MOTORS CORP.
Callout Component Name
1 Object Sensor - LR Corner (UD7)
2 Object Sensor - LR Middle (UD7)
3 Object Sensor - RR Middle (UD7)
4 Object Sensor - RR Corner (UD7)
5 Tire Pressure Monitor Receiver - LR (UH3)
6 Tire Pressure Monitor Receiver - RR (UH3)
Fig 2: Headliner Components
GM1530189Courtesy of GENERAL MOTORS CORP.
Callout Component Name
1 Overhead Courtesy/Reading Lamps - Front
2 Garage Door Opener (UG1)
3 Keyless Entry Antenna - Headliner
4 Sunroof Control Module (CF5)
5 Overhead Courtesy/Reading Lamps-Rear
6 Rear Parking Assist (RPA) Display (UD7)
7 Sunroof Assembly (CF5)
8 Top of Headliner
9 Noise Compensation Microphone (UY5)
10 Sunroof Switches (CF5)
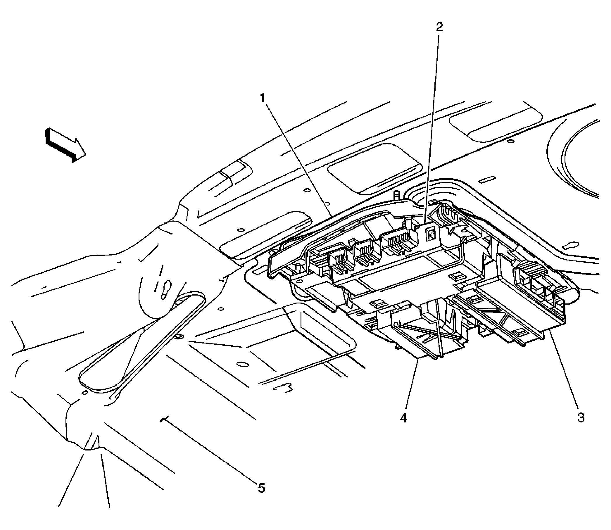
Fig 3: Under the Rear Window Shelf
GM1488523Courtesy of GENERAL MOTORS CORP.
Callout Component Name
1 Module Bracket Assembly
2 Remote Control Door Lock Receiver (RCDLR)
3 Rear Integration Module (RIM)
4 Rear Object Sensor Control Module (UD7)
5 Rear Window Shelf
Fig 4: Under Left Rear Window Panel
GM1721660Courtesy of GENERAL MOTORS CORP.
Callout Component Name
1 Rear Parking Assist Diagnostic Connector
2 Speaker Grille - LR
3 Wheel Well - LR