LEMON Manuals: Even more car manuals for everyone
Home >> Cadillac >> 2007 >> STS V >> Repair and Diagnosis >> Electrical >> Body Electrical >> OEM Connector End Views - Antilock Brake System, Remote Function, Steering Wheel And Column, Engine Control Module, Engine Controls, Entertainment/Communication >> Steering Wheel and Column Connector End Views >> Steering Column Lock Control Module Connector End View C1 (UA2)

Steering Column Lock Control Module Connector End View C1 (UA2)

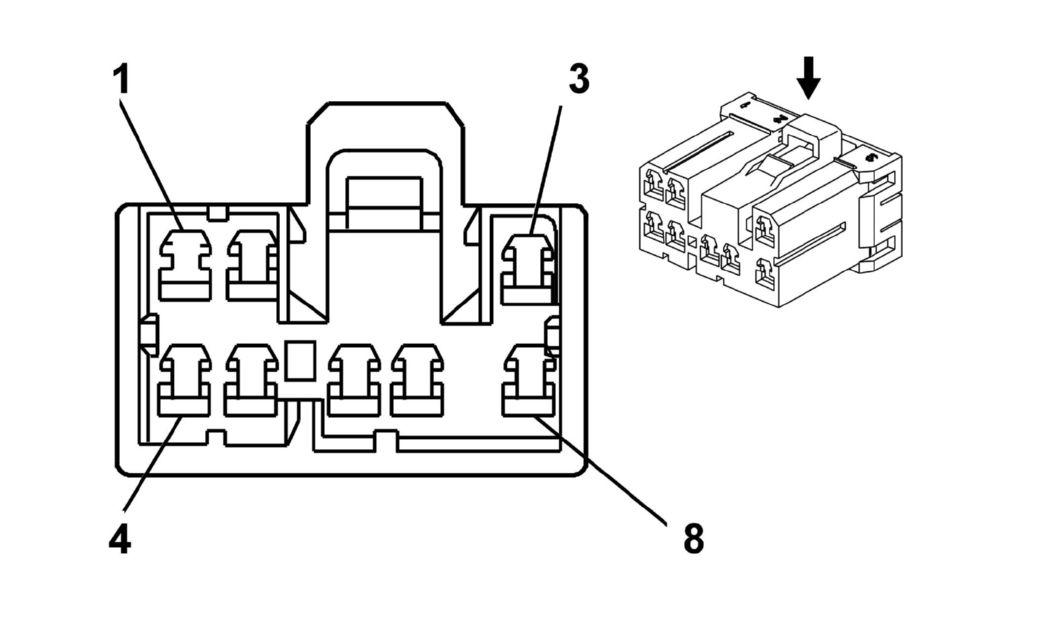
Fig 1: Steering Column Lock Control Module C1 (UA2) Connector End View
GM1391782Courtesy of GENERAL MOTORS CORP.
Steering Column Lock Control Module C1 (UA2) Connector Parts Information

Connector Part Information 
  • OEM: 173850-1
  • Service: 88953352
  • Description: 8-Way F 070 AMP (WH)
Terminal Part Information 
  • Pins: 1, 2, 3, 4, 5, 6, 7
  • Terminal/Tray: See Terminal Repair Kit
  • Core/Insulation Crimp: See Terminal Repair Kit
  • Release Tool/Test Probe: See Terminal Repair Kit
Steering Column Lock Control Module C1 (UA2) Connector End View

Pin Wire Color Circuit No. Function
1 D-GN/WH 9154 Transmission Shift Select Switch Park Signal
2 RD/WH 9840 Battery Positive Voltage
3 WH 9122 Steering Column Lock Module Lock Enable Relay Control
4 BK/WH 351 Ground
5 PK 339 Ignition 1 Voltage
6 BK 350 Ground
7 D-GN 5060 Low Speed GMLAN Serial Data
8 - - Not Used