LEMON Manuals: Even more car manuals for everyone
Home >> Cadillac >> 2007 >> Escalade EXT >> Repair and Diagnosis >> External Pages >> Different car >> Section 47 (Engine Controls - System & Component Testing - 4.3) >> Fuel Systems >> Fuel Pump Electrical Circuit Diagnosis >> Notes

Fuel Pump Electrical Circuit Diagnosis: Notes

WARNING: This page is about a different car, the 2003 GMC Sierra and 2003 Chevrolet Silverado. However, it is still accessible from the selected car via links, so may be relevant.
Fig 1: Identifying Underhood Fuse/Relay Block
G00169529Courtesy of GENERAL MOTORS CORP.
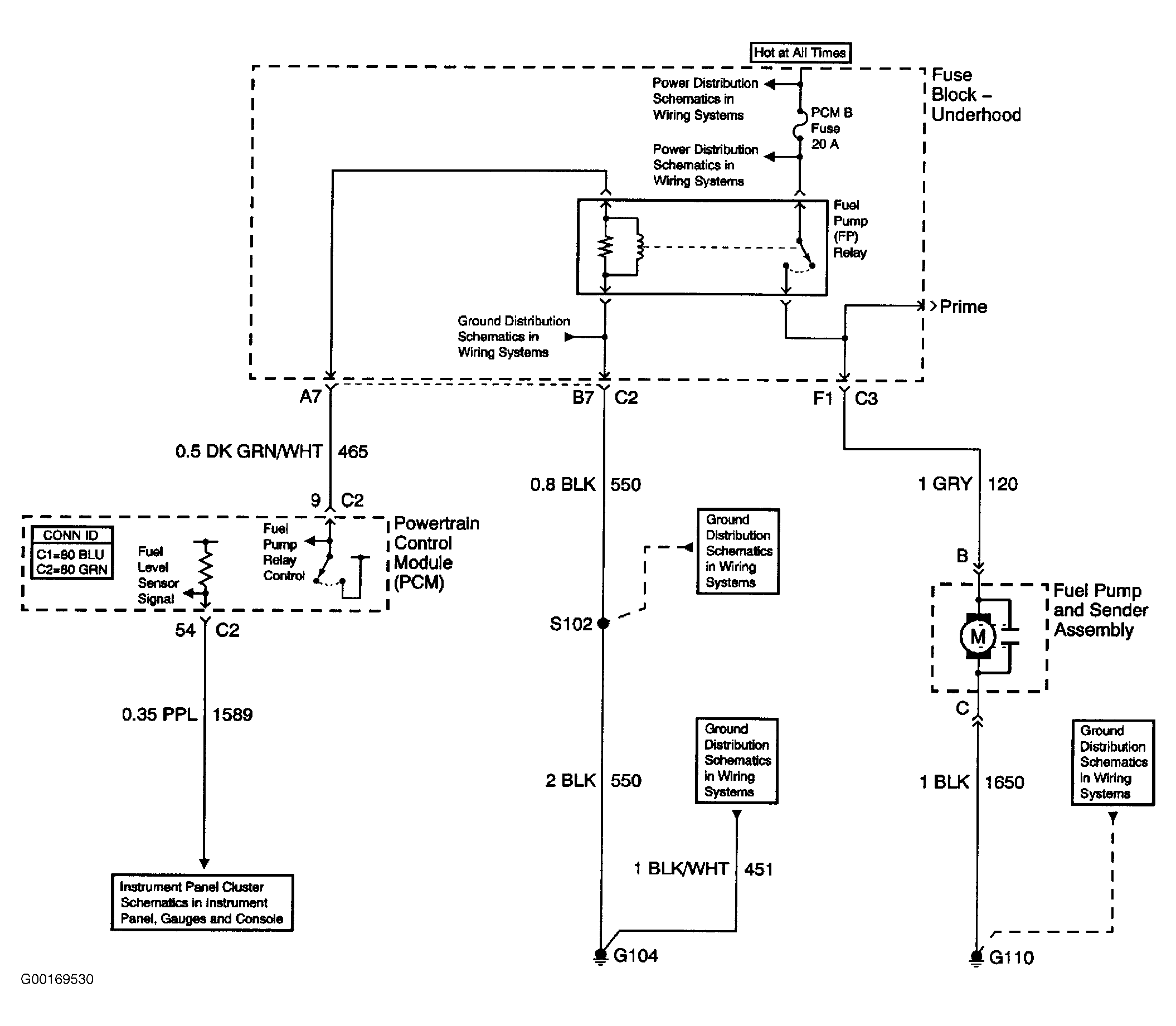
Fig 2: Fuel Pump Electrical Schematic
G00169530Courtesy of GENERAL MOTORS CORP.