LEMON Manuals: Even more car manuals for everyone
Home >> Cadillac >> 2007 >> Escalade EXT >> Repair and Diagnosis >> External Pages >> Different car >> Section 2093 (Wiring Systems And Power Management - Component Views &, Component Connector End View Index) >> Electrical Center Identification Views >> Junction Block - Right I/P X6

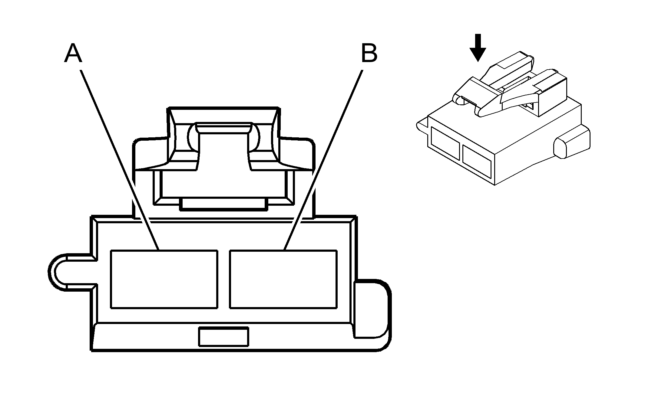
Junction Block - Right I/P X6

WARNING: This page is about a different car, the 2008 GMC Sierra, 2008 GMC Cab & Chassis Sierra, 2008 Chevrolet Silverado, and 2008 Chevrolet Cab & Chassis Silverado. However, it is still accessible from the selected car via links, so may be relevant.
Fig 1: Junction Block - Right I/P X6
GM493694Courtesy of GENERAL MOTORS CORP.
Junction Block - Right I/P X6

Pin Wire Color Circuit No. Function
A 3 RD 542 Battery Positive Voltage
B 3 BK 1050 Ground
Connector Part Information 
  • OEM: 12129939
  • Service: 15306380
  • Description: 2-Way F Metri-Pack 630 Series (BK)

Terminal Part Information 
  • Terminal/Tray: 12084590/3
  • Core/Insulation Crimp: F/G
  • Release Tool/Test Probe: 12094430/J-35616-42 (RD)