LEMON Manuals: Even more car manuals for everyone
Home >> Cadillac >> 2007 >> Escalade EXT >> Repair and Diagnosis >> External Pages >> Different car >> Section 1973 (Wiring Systems And Power Management - Component Connector End Views - Memory Seat Module (X5) To Yaw Sensor) >> Component Connector End Views >> Speaker- Left Front (UQA or UQS)

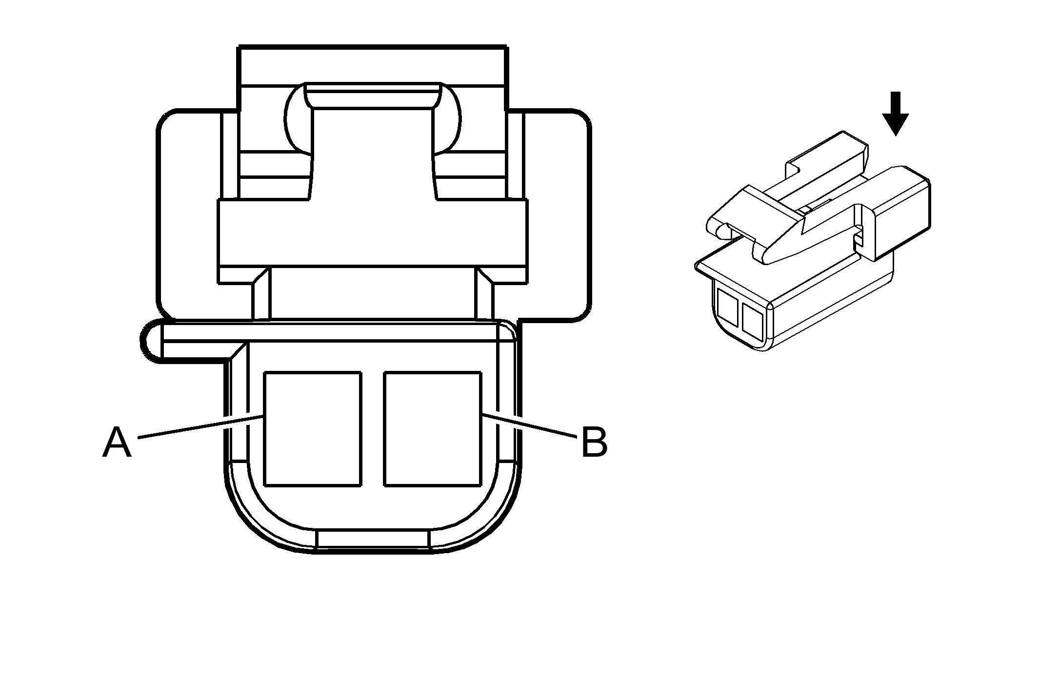
Speaker- Left Front (UQA or UQS)

WARNING: This page does not describe the selected car, but rather 8 other vehicles, including the 2012 GMC Yukon XL, 2012 GMC Yukon, 2012 Chevrolet Tahoe, 2012 Chevrolet Suburban, and 2012 Chevrolet Avalanche. However, it is still accessible from the selected car via links, so may be relevant.
GM130724Courtesy of
Connector Part Information
  • Harness Type: Driver Door
  • OEM Connector: 12064869
  • Service Connector: 12117323
  • Description: 2-Way F Metri-Pack 150 Series (BU)
Terminal Part Information
  • Terminated Lead: 13575735
  • Release Tool: J-38125-553
  • Diagnostic Test Probe: J-35616-2A (GY)
  • Terminal/Tray: 12191812/19
  • Core/Insulation Crimp: C/A
Speaker- Left Front (UQA or UQS)

Pin Wire Circuit Function
A 0.8 GY 118 Left Front Speaker Output (-)
B 0.8 TN 201 Left Front Speaker Output (+)