LEMON Manuals: Even more car manuals for everyone
Home >> Cadillac >> 2007 >> Escalade EXT >> Repair and Diagnosis >> External Pages >> Different car >> Section 1973 (Wiring Systems And Power Management - Component Connector End Views - Memory Seat Module (X5) To Yaw Sensor) >> Component Connector End Views >> Seat Rear Vertical Motor - Driver (AG1 with HP2)

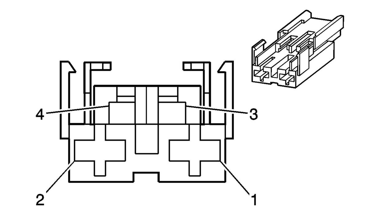
Seat Rear Vertical Motor - Driver (AG1 with HP2)

WARNING: This page does not describe the selected car, but rather 8 other vehicles, including the 2012 GMC Yukon XL, 2012 GMC Yukon, 2012 Chevrolet Tahoe, 2012 Chevrolet Suburban, and 2012 Chevrolet Avalanche. However, it is still accessible from the selected car via links, so may be relevant.
GM1554926Courtesy of
Connector Part Information
  • Harness Type: Driver Seat
  • OEM Connector: 968182-1
  • Service Connector: Service by Harness - See Part Catalog
  • Description: 4-Way F (BK)
Terminal Part Information
  • Terminated Lead: Service by Harness - See Part Catalog
  • Release Tool: 12093647
  • Diagnostic Test Probe: J-35616-4A (PU)
  • Terminal/Tray: 4-965999-1/25
  • Core/Insulation Crimp: 4/A
Seat Rear Vertical Motor - Driver (AG1 with HP2)

Pin Wire Circuit Function
1 2 L-BU 283 Driver Power Seat Rear Vertical Motor Down Control
2 2 YE 282 Driver Power Seat Rear Vertical Motor Up Control
3-4 - - Not Used