LEMON Manuals: Even more car manuals for everyone
Home >> Cadillac >> 2007 >> Escalade EXT >> Repair and Diagnosis >> External Pages >> Different car >> Section 1827 (Wiring Systems And Power Management - Component Connector End Views - Mode Actuator Through Yaw Sensor) >> Component Connector End Views >> Seat Back Ventilation Heating and Cooling Module - Driver (KB6)

Seat Back Ventilation Heating and Cooling Module - Driver (KB6)

WARNING: This page does not describe the selected car, but rather 8 other vehicles, including the 2011 GMC Yukon XL, 2011 GMC Yukon, 2011 Chevrolet Tahoe, 2011 Chevrolet Suburban, and 2011 Chevrolet Avalanche. However, it is still accessible from the selected car via links, so may be relevant.
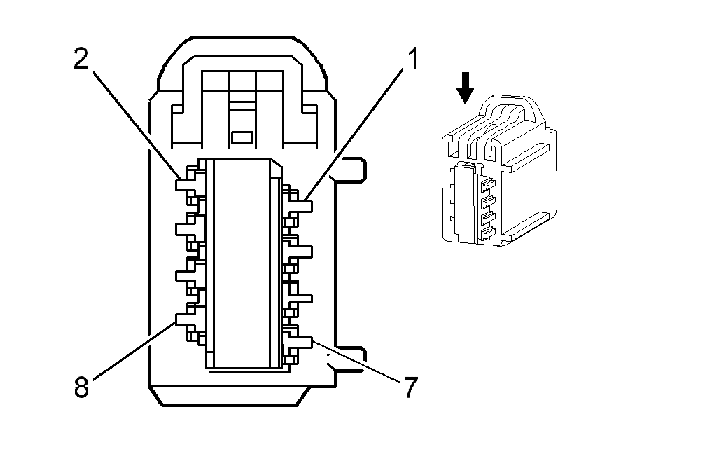
Fig 1: Seat Back Ventilation Heating and Cooling Module - Driver (KB6) Connector End View
GM1554145Courtesy of GENERAL MOTORS CORP.
Seat Back Ventilation Heating and Cooling Module - Driver (KB6)

Pin Wire Circuit Function
1 1 BN 6193 Driver Seat Back Heated/Cool Ventilation Module Heat Control
2 0.35 D-GN 5918 Driver Seat Blower Voltage Reference
3 3 OG 6194 Driver Seat Back Heated/Cool Ventilation Module Cool Control
4 0.35 GY 5912 Low Reference
5 0.35 D-BU 2425 Driver Seat Back Temperature Sensor Signal
6 - - Not Used
7 0.35 TN 7010 Driver Seat Back Blower Speed Control
8 0.35 PK 2426 Low Reference
Connector Part Information
  • Harness Type: Driver Seat
  • OEM Connector: E3575-001
  • Service Connector: Service by Harness - See Part Catalog
  • Description: 8-Way F 1.5mm Unsealed (BK)
Terminal Part Information
  • Pins: 1, 3
  • Terminated Lead: 13575829
  • Release Tool: J-38125-11A
  • Diagnostic Test Probe: J-35616-2A (GY)
  • Terminal/Tray: 7116-4101-08/9
  • Core/Insulation Crimp: E/A
  • Pins: 2, 4, 5, 7, 8
  • Terminated Lead: 13578891
  • Release Tool: J-38125-11A
  • Diagnostic Test Probe: J-35616-2A (GY)
  • Terminal/Tray: 7116-4100-08/9
  • Core/Insulation Crimp: E/C