LEMON Manuals: Even more car manuals for everyone
Home >> Cadillac >> 2006 >> STS V >> Repair and Diagnosis >> Quick Lookups >> Wiring Diagrams >> OEM Connector End Views - Keyless Entry, Automatic Level Control, Power Door Systems, Navigation System, Engine Electrical, Instrument Panel, Gages, And Console, Shift Lock Control, Sir, Automatic Transmission, Stationary Windows >> Stationary Windows Connector End Views >> Rear Window Defogger Connector End View - C1

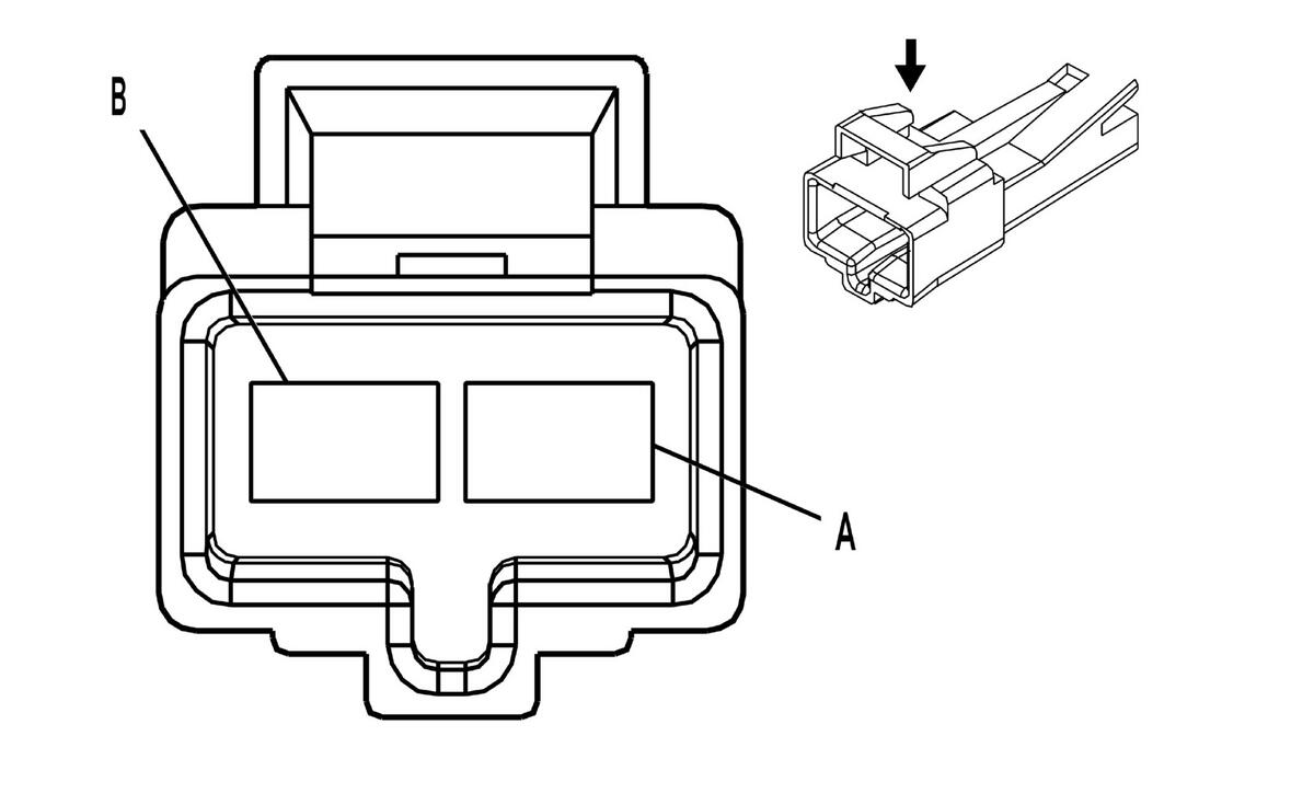
Rear Window Defogger Connector End View - C1

Fig 1: Rear Window Defogger - C1 Connector View
GM38284Courtesy of GENERAL MOTORS CORP.
Stationary Windows Connector End Views

Connector Part Information 
  • OEM: 12064750
  • Service: 12101935
  • Description: 2-Way M Metri-Pack 480 Series (BK)
Terminal Part Information 
  • Terminal/Tray: 12033820/2
  • Core/Insulation Crimp: B/G
  • Release Tool/Test Probe: 12094430/J-35616-40 (BU)
Rear Window Defogger - C1

Pin Wire Color Circuit No. Function
A PU 293 Rear Defog Element Supply Voltage
B BK 1950 Ground