LEMON Manuals: Even more car manuals for everyone
Home >> Cadillac >> 2005 >> CTS V >> Repair and Diagnosis >> Engine Performance >> System >> Engine Controls - 5.7L - Introduction >> Component Locator >> Engine Controls Component Views

Engine Controls Component Views

Fig 1: Engine Controls Components
GM1369069Courtesy of GENERAL MOTORS CORP.
Callout Component Name
1 Fuel Injector 6
2 Fuel Injector 8
3 Fuel Injector 3
4 Fuel Injector 5
5 Fuel Injector 7
6 Ignition Coil/Module 7
7 Ignition Coil/Module 5
8 C131
9 Ignition Coil/Module 3
10 Ignition Coil/Module 1
11 Engine Coolant Temperature (ECT) Sensor
12 Evaporative Emission (EVAP) Canister Purge Solenoid Valve
13 Fuel Injector 1
14 Throttle Actuator Control (TAC) Motor
15 Throttle Position (TP) Sensor
16 Fuel Injector 2
17 Ignition Coil/Module 2
18 Ignition Coil/Module 4
19 Fuel Injector 4
20 C132
21 Ignition Coil/Module 6
22 Ignition Coil/Module 8
Fig 2: RF Of Engine Compartment Components
GM1552992Courtesy of GENERAL MOTORS CORP.
Callout Component Name
1 Fuse Block - Underhood Connector C2
2 Fuse Block - Underhood Connector C3
3 Throttle Actuator Control (TAC) Module Connector C1
4 Throttle Actuator Control (TAC) Module
5 Throttle Actuator Control (TAC) Module Connector C2
6 Splice Pack SP102
7 Fuse Block - Underhood Connector C5
8 Fuse Block - Underhood Connector C1
9 Fuse Block - Underhood Connector C4
Fig 3: MAF and IAT Sensors - 5.7L (LS6)
GM1372932Courtesy of GENERAL MOTORS CORP.
Callout Component Name
1 Mass Air Flow (MAF) and Intake Air Temperature (IAT) Sensors
2 Mass Air Flow (MAF) Connector
Fig 4: Right Side Of Engine Components
GM1551000Courtesy of GENERAL MOTORS CORP.
Callout Component Name
1 Crankshaft Position (CKP) Sensor Connector
2 A/C Compressor Clutch Connector (C60)
3 Engine Oil Level Switch Connector
4 Starter Motor
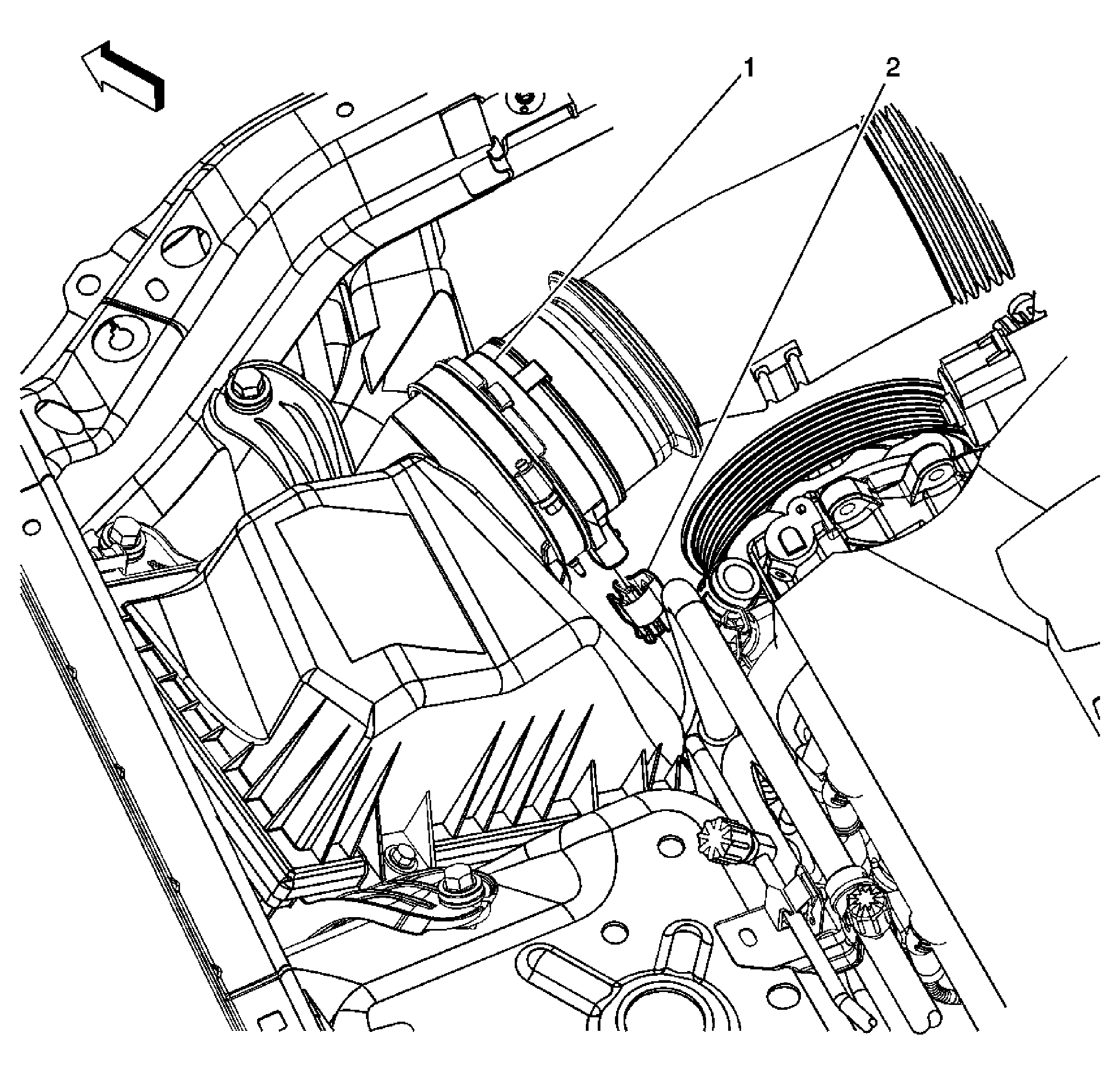
Fig 5: View Of Knock Sensors
GM198593Courtesy of GENERAL MOTORS CORP.
Callout Component Name
1 Knock Sensor (KS) 1
2 Knock Sensor (KS) 2
Fig 6: Rear of Engine Components - 5.7L (LS6)
GM1368977Courtesy of GENERAL MOTORS CORP.
Callout Component Name
1 Ground G141
2 Manifold Absolute Pressure (MAP) Sensor
3 Ground G142
4 Camshaft Position (CMP) Sensor
5 Engine Oil Pressure (EOP) Sensor
6 Ground G140
Fig 7: View Of Heated Oxygen Sensors (HO2S)
GM1379281Courtesy of GENERAL MOTORS CORP.
Callout Component Name
1 Heated Oxygen Sensor (HO2S) Bank 1 Sensor 1
2 Heated Oxygen Sensor (HO2S) Bank 2 Sensor 1
3 Heated Oxygen Sensor (HO2S) Bank 2 Sensor 2
4 Heated Oxygen Sensor (HO2S) Bank 1 Sensor 2
Fig 8: Brake Pedal, Accelerator Pedal, BPP and APP Sensors
GM1334064Courtesy of GENERAL MOTORS CORP.
Callout Component Name
1 Accelerator Pedal Position (APP) Sensor
2 Accelerator Pedal
3 Brake Pedal
4 Brake Pedal Position (BPP) Sensor
Fig 9: EVAP Canister Vent Solenoid Valve Component View
GM1378817Courtesy of GENERAL MOTORS CORP.
Callout Component Name
1 EVAP Canister
2 EVAP Canister Vent Solenoid Valve Connector
3 EVAP Canister Vent Solenoid Valve
Fig 10: Fuel Tank Subsystem Components
GM1378267Courtesy of GENERAL MOTORS CORP.
Callout Component Name
1 Secondary Fuel Sender Assembly
2 Secondary Fuel Sender Assembly Connector
3 Secondary Fuel Sender Assembly (Removed from Fuel Tank)
4 Fuel Pump and Sender Assembly (Removed from Fuel Tank)
5 Fuel Pump and Sender Assembly
6 Fuel Pump and Sender Assembly Connector
7 Fuel Tank Pressure Sensor
8 Fuel Tank Pressure Sensor Connector
Fig 11: RF Of The Engine Compartment Components
GM1552991Courtesy of GENERAL MOTORS CORP.
Callout Component Name
1 C101
2 Battery Bracket
3 C102
4 RF Strut Tower