LEMON Manuals: Even more car manuals for everyone
Home >> Cadillac >> 2004 >> Escalade EXT >> Repair and Diagnosis >> Quick Lookups >> Wiring Diagrams >> OEM Connector End Views - Instrument Panel, Gages, Console, Lighting Systems, Power And Grounding, Power Door Systems, Power Outlet, Power Roof Systems, Power Seat Systems, Powertrain Control Module (Pcm) >> Lighting Systems Connector End Views >> Cargo Lamp Assembly Connector End Views (Avalanche and Escalade EXT Only)

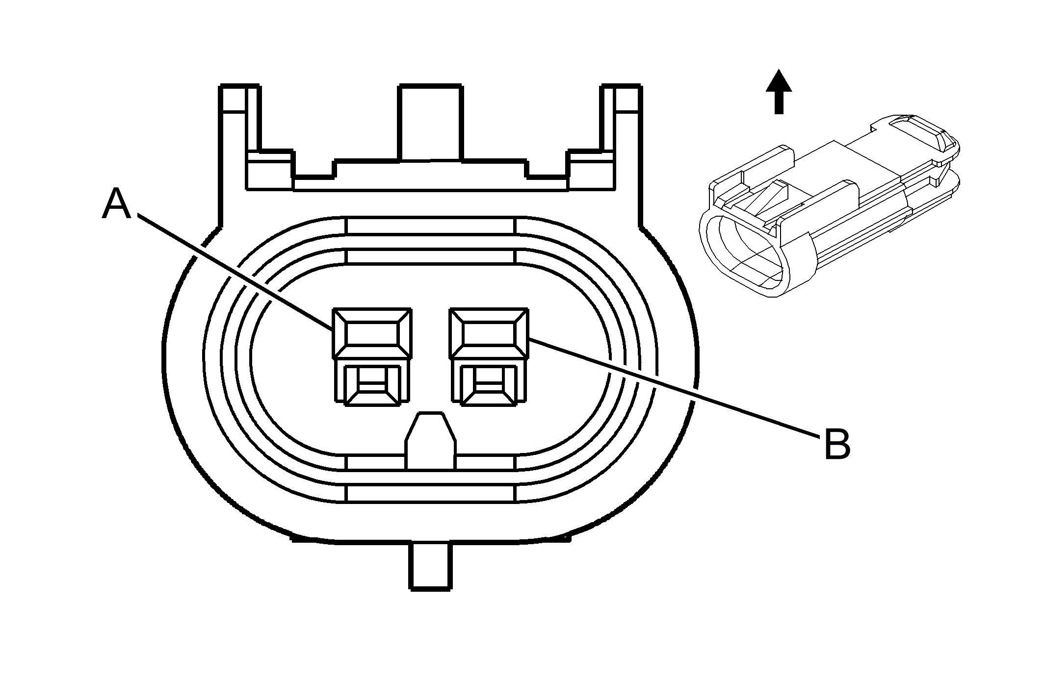
Cargo Lamp Assembly Connector End Views (Avalanche and Escalade EXT Only)

Cargo Lamp Assembly - Driver (Avalanche and Escalade EXT Only)

GM632349Courtesy of GENERAL MOTORS CORP.
Connector Part Information
  • 15326806
  • 2-Way F GT 150 Series Sealed (BLK)
Pin Wire Color Circuit No. Function
A ORN 1732 Inadvertent Power Supply Voltage
B DK BLU/WHT 149 Cargo Lamp Low Control
Cargo Lamp Assembly - Passenger (Avalanche and Escalade EXT Only)

GM632349Courtesy of GENERAL MOTORS CORP.
Connector Part Information
  • 15326806
  • 2-Way F GT 150 Series Sealed (BLK)
Pin Wire Color Circuit No. Function
A ORN 1732 Inadvertent Power Supply Voltage
B DK BLU/WHT 149 Cargo Lamp Low Control