LEMON Manuals: Even more car manuals for everyone
Home >> Cadillac >> 2004 >> Escalade EXT >> Repair and Diagnosis >> Quick Lookups >> Wiring Diagrams >> OEM Connector End Views - Instrument Panel, Gages, Console, Lighting Systems, Power And Grounding, Power Door Systems, Power Outlet, Power Roof Systems, Power Seat Systems, Powertrain Control Module (Pcm) >> Instrument Panel, Gages, and Console Connector End Views >> Coolant Level Switch Connector End Views

Coolant Level Switch Connector End Views

Coolant Level Switch (8.1L)

GM655783Courtesy of GENERAL MOTORS CORP.
Connector Part Information
  • 15324243
  • 2-Way F Metri-Pack 150 Series (GRY)
Pin Wire Color Circuit No. Function
A LT GRN 1478 Coolant Level Switch Signal
B BLK 550 Ground
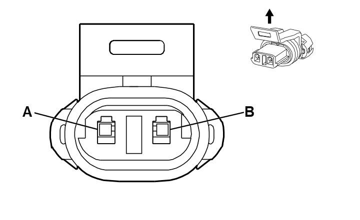
Coolant Level Switch (Except 8.1L)

GM537107Courtesy of GENERAL MOTORS CORP.
Connector Part Information
  • 12052644
  • 2-Way F Metri-Pack 150 Series (GRY)
Pin Wire Color Circuit No. Function
A LT GRN 1478 Coolant Level Switch Signal
B BLK 550 Ground