Relay Block Connector End Views - Body
Relay Block - I/P - C1
| Connector Part Information |
|
||
|---|---|---|---|
| Pin | Wire Color | Circuit No. | Function |
| A1 | LT GRN | 24 | Backup Lamp Supply Voltage - BCM |
| LT GRN | 24 | Backup Lamp Supply Voltage - Junction Block - Rear | |
| A2 | - | - | Not Used |
| A3 | BLK/WHT | 1704 | Low Reference |
| A4 | DK GRN/ WHT |
636 | Ambient Air Temperature Sensor Signal |
| A5 | BLK/WHT | 1851 | Ground |
| BLK/WHT | 1851 | Ground | |
| A6 | WHT | 193 | Rear Defog Relay Control |
| A7 | - | - | Not Used |
| A8 | BRN/WHT | 230 | Instrument Panel Lamps Dimming Control |
| BRN/WHT | 230 | Instrument Panel Lamps Dimming Control (w/Y91) | |
| A9 | YEL | 1139 | Ignition 1 Voltage |
| A10 | - | - | Not Used |
| A11 | BRN/WHT | 230 | Instrument Panel Lamps Dimming Control (w/NP1/NP8/NR4) |
| BRN/WHT | 230 | Instrument Panel Lamps Dimming Control (w/VSES) | |
| A12 | GRY/BLK | 690 | Courtesy Lamp Supply Voltage |
| B1 | PNK | 1045 | Serial Communications Circuit (w/o Y91) |
| B2 | ORN | 3740 | Battery Positive Voltage (UQ7 w/o Y91) |
| B3 | BLK/WHT | 1851 | Ground |
| BLK/WHT | 1851 | Ground | |
| B4 | - | - | Not Used |
| B5 | BLK/WHT | 1851 | Ground |
| BLK/WHT | 1851 | Ground | |
| B6 | ORN | 1840 | Battery Positive Voltage |
| B7 | RED | 642 | Battery Positive Voltage |
| B8 | BRN/WHT | 230 | Instrument Panel Lamps Dimming Control |
| BRN/WHT | 230 | Instrument Panel Lamps Dimming Control (w/JL4) | |
| BRN/WHT | 230 | Instrument Panel Lamps Dimming Control (w/NYS) | |
| B9 | DK GRN/WHT | 817 | Vehicle Speed Signal (UQ7 w/Y91) |
| DK GRN/WHT | 817 | Vehicle Speed Signal | |
| B10 | - | - | Not Used |
| B11 | ORN | 3240 | Battery Positive Voltage (w/o Y91) |
| B12 | - | - | Not Used |
| C1 | ORN | 340 | Battery Positive Voltage (w/YE9) |
| C2 | BRN/WHT | 230 | Instrument Panel Lamps Dimming Control |
| BRN/WHT | 230 | Instrument Panel Lamps Dimming Control (w/YE9) | |
| C3 | BRN/WHT | 230 | Instrument Panel Lamps Dimming Control (w/YE9) |
| BRN/WHT | 230 | Instrument Panel Lamps Dimming Control (w/U1S) | |
| C4 | ORN | 1732 | Inadvertent Power Supply Voltage |
| C5 | BLK/WHT | 1851 | Ground |
| C8 | BRN/WHT | 230 | Instrument Panel Lamps Dimming Control |
| BRN/WHT | 230 | Instrument Panel Lamps Dimming Control | |
| C9 | ORN | 1340 | Battery Positive Voltage |
| C10 | BRN | 2409 | Interior Park Lamps Supply Voltage |
| C11 | ORN | 1732 | Inadvertent Power Supply Voltage (w/Y91) |
| ORN | 1732 | Inadvertent Power Supply Voltage (Avalanche/Escalade EXT) | |
| C12 | - | - | Not Used |
| D1 | WHT/BLK | 5515 | Inside Air Temperature Sensor Assembly Control (w/CJ2) |
| D2 | BRN/WHT | 230 | Instrument Panel Lamps Dimming Control |
| D3 | BRN/WHT | 230 | Instrument Panel Lamps Dimming Control (w/T89/-Y91) |
| BRN/WHT | 230 | Instrument Panel Lamps Dimming Control (w/UM8) | |
| D4 | ORN | 1732 | Inadvertent Power Supply Voltage |
| D5 | BLK/WHT | 1851 | Ground |
| BLK/WHT | 1851 | Ground (w/U42) | |
| D8 | BLK/WHT | 1851 | Ground |
| BLK/WHT | 1851 | Ground (w/Y91) | |
| D9 | BLK | 1050 | Ground |
| D10 | BRN | 2409 | Interior Park Lamps Supply Voltage (906 w/NYS) |
| D11 | - | - | Not Used |
| D12 | ORN | 2340 | Battery Positive Voltage (w/VYU) |
| E1 | BRN | 718 | Low Reference (w/CJ2) |
| E2 | PNK | 1691 | Automatic Day/Night Mirror Low Reference (w/DL3) |
| E3 | - | - | Not Used |
| E4 | PPL/WHT | 1382 | LED Dimming Signal |
| PPL/WHT | 1382 | LED Dimming Signal (w/NP1/NP8/NR4) | |
| E5 | BLK/WHT | 1851 | Ground (w/AU3/-YE9) |
| BLK/WHT | 1851 | Ground (w/UQ7/Y91) | |
| E6 | DK GRN/WHT | 817 | Vehicle Speed Signal |
| DK GRN/WHT | 817 | Vehicle Speed Signal (w/NYS) | |
| E7 | PPL/WHT | 1382 | LED Dimming Signal |
| PPL/WHT | 1382 | LED Dimming Signal | |
| E8 | BLK/WHT | 1851 | Ground - BCM - C2 |
| BLK/WHT | 1851 | Ground - BCM - C3 | |
| E9 | - | - | Not Used |
| E10 | RED | 242 | Battery Positive Voltage |
| E11-E12 | - | - | Not Used |
| F1 | DK GRN | 734 | Inside Air Temperature Sensor Signal (w/CJ2) |
| F2 | GRY | 1690 | Automatic Day/Night Mirror Signal (w/DL3) |
| F3 | PNK | 739 | Ignition 1 Voltage |
| F4 | TAN/WHT | 1384 | Selective Ride Control Switch Signal |
| F5 | BLK/WHT | 1851 | Ground (w/NP1/NP8) |
| BLK/WHT | 1851 | Ground (w/U2K/U2L & Y91) | |
| F6 | PPL/WHT | 1382 | LED Dimming Signal (w/Z75 or T79) |
| PPL/WHT | 1382 | LED Dimming Signal (w/NYS) | |
| F7 | ORN | 4540 | Battery Positive Voltage |
| ORN | 4540 | Battery Positive Voltage (w/ T79) | |
| F8 | BLK/WHT | 1851 | Ground (w/ Y91) |
| BLK/WHT | 1851 | Ground (Export Only) | |
| F9 | LT BLU | 1620 | Trailer CHMSL Supply Voltage |
| F10 | DK BLU | 47 | Trailer Auxiliary Supply Voltage (w/o LU3) |
| F11 | YEL | 243 | Accessory Voltage |
| F12 | - | - | Not Used |
Relay Block - I/P - C3
| Connector Part Information |
|
||
|---|---|---|---|
| Pin | Wire Color | Circuit No. | Function |
| A | LT GRN | 24 | Backup Lamp Supply Voltage |
| B | ORN | 4540 | Battery Positive Voltage |
| C | BLK | 1050 | Ground |
| D | - | - | Not Used |
| E | YEL | 1139 | Ignition 1 Voltage |
| F | DK GRN | 2308 | Passenger Air Bag OFF Indicator Control (w/ALO) |
| G | BLK/WHT | 1704 | Low Reference (w/YE9) |
| H | DK BLU | 2307 | Passenger Air Bag ON Indicator Control (w/ALO) |
| J | - | - | Not Used |
| K | DK GRN/WHT | 636 | Ambient Air Temperature Sensor Signal (w/YE9) |
| L | GRY/BLK | 690 | Courtesy Lamp Supply Voltage |
| GRY/BLK | 690 | Courtesy Lamp Supply Voltage (Avalanche/Escalade EXT) | |
| M | ORN | 1732 | Inadvertent Power Supply Voltage |
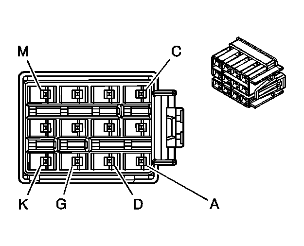
Relay Block - I/P - C4
| Connector Part Information |
|
||
|---|---|---|---|
| Pin | Wire Color | Circuit No. | Function |
| A | BRN/WHT | 230 | Instrument Panel Lamps Dimming Control (w/YE9) |
| BRN/WHT | 230 | Instrument Panel Lamps Dimming Control (w/C36 or C69) | |
| B | PNK | 1691 | Automatic Day/Night Mirror Low Reference (w/DL3) |
| C | GRY | 1690 | Automatic Day/Night Mirror Signal (w/DL3) |
| D | DK GRN | 734 | Inside Air Temperature Sensor Signal (w/CJ2) |
| E | BRN | 718 | Low Reference (w/CJ2) |
| F | WHT/BLK | 5515 | Inside Air Temperature Sensor Assembly Control (w/CJ2) |
Relay Block - I/P - C7 (Z82 w/Electric Trailer Brake Jumper Installed)
| Connector Part Information |
|
||
|---|---|---|---|
| Pin | Wire Color | Circuit No. | Function |
| A | BRN | 2409 | Interior Park Lamps Supply Voltage |
| B | RED | 242 | Battery Positive Voltage |
| C | DK BLU | 47 | Trailer Auxiliary Supply Voltage |
| D | LT BLU | 1620 | Trailer CHMSL Supply Voltage |
| E | - | - | Not Used |
| F | BLK | 1050 | Ground |
Relay Block - I/P - C8 (w/VYU)
| Connector Part Information |
|
||
|---|---|---|---|
| Pin | Wire Color | Circuit No. | Function |
| A | ORN | 2340 | Battery Positive Voltage |
| B-D | - | - | Not Used |
| E | ORN | 4540 | Battery Positive Voltage |
| F | BLK | 1050 | Ground |
Relay Block - I/P - C9 (Except Y91)
| Connector Part Information |
|
||
|---|---|---|---|
| Pin | Wire Color | Circuit No. | Function |
| A | - | - | Not Used |
| B | PNK | 1045 | Serial Communications Circuit |
| C | - | - | Not Used |
| D | ORN | 3740 | Battery Positive Voltage (UQ7) |
| E | ORN | 340 | Battery Positive Voltage (w/UK6) |
| ORN | 340 | Battery Positive Voltage (w/U2K/U2L) | |
| F-G | - | - | Not Used |
| H | ORN | 3240 | Battery Positive Voltage (w/UE1) |
| ORN | 3240 | Battery Positive Voltage (w/UE1) | |
| J | ORN | 3240 | Battery Positive Voltage (w/U42) |
| K | BLK/WHT | 1851 | Ground (UE1) |
| BLK/WHT | 1851 | Ground (w/U42) | |
| L | BLK/WHT | 1851 | Ground (w/UE1) |
| M | BLK/WHT | 1851 | Ground (UQ7) |
| BLK/WHT | 1851 | Ground (w/U2K/U2L) | |
Relay Block - I/P - C10
| Connector Part Information |
|
||
|---|---|---|---|
| Pin | Wire Color | Circuit No. | Function |
| A | ORN | 4540 | Battery Positive Voltage - LR Heated Seat Module (w/Y91) |
| ORN | 4540 | Battery Positive Voltage - RR Heated Seat Module (w/Y91) | |
| B | GRY/BLK | 690 | Courtesy Lamp Supply Voltage (Suburban/Escalade ESV) |
| C | GRY/BLK | 690 | Courtesy Lamp Supply Voltage - LR Door |
| GRY/BLK | 690 | Courtesy Lamp Supply Voltage - RR Door | |
| D | DK GRN | 2308 | Passenger Air Bag OFF Indicator Control (w/ALO) |
| E | ORN | 1440 | Battery Positive Voltage |
| F | BRN/WHT | 230 | Instrument Panel Lamps Dimming Control |
| BRN/WHT | 230 | Instrument Panel Lamps Dimming Control | |
| G | DK BLU | 2307 | Passenger Air Bag ON Indicator Control (w/ALO) |
| H | ORN | 1440 | Battery Positive Voltage |
| J | DK GRN/WHT | 817 | Vehicle Speed Signal (w/Z75) |
| K | ORN | 1340 | Battery Positive Voltage |
| L | PPL | 293 | Rear Defog Element Supply Voltage |
| M | YEL | 1139 | Ignition 1 Voltage |
| YEL | 1139 | Ignition 1 Voltage (w/ALO) | |