LEMON Manuals: Even more car manuals for everyone
Home >> Cadillac >> 2004 >> Escalade EXT >> Repair and Diagnosis >> Quick Lookups >> Wiring Diagrams >> OEM Connector End Views - Abs, Adjustable Pedals, Automatic Level Control SUSP, Automatic Transmission, Shift Lock Control, Body Control System, Body Rear End, Cellular Communication, Cruise Control, Data Link Communications, Electrical Center >> Electrical Center Connector End Views >> Fuse Block Connector End Views - Underhood

Fuse Block Connector End Views - Underhood

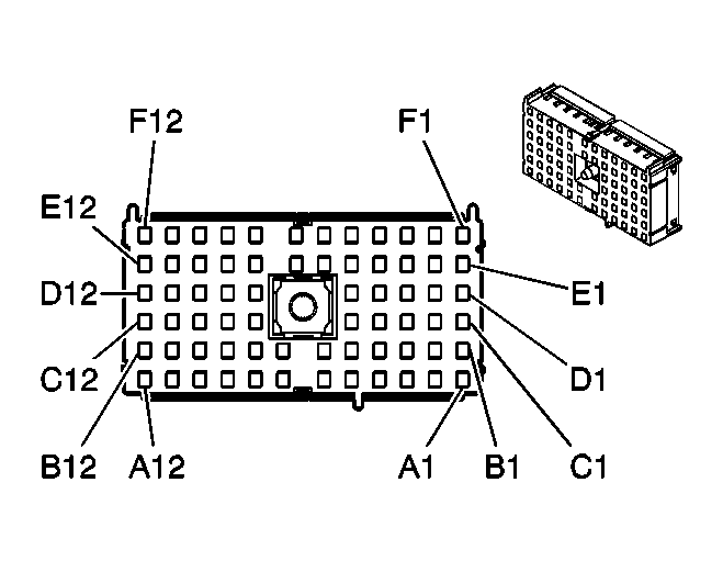
Fig 1: Fuse Block - Underhood Bottom View
GM891850Courtesy of GENERAL MOTORS CORP.
Fuse Block - Underhood - C1

GM365994Courtesy of GENERAL MOTORS CORP.
Connector Part Information
  • 12193905
  • 68-Way F Metri-Pack 280 Series Flexlock (GRY)
Pin Wire Color Circuit No. Function
A1 ORN 3940 Battery Positive Voltage (w/JF4)
A2 - - Not Used
A3 YEL 5 Crank Voltage
A4 ORN 2040 Battery Positive Voltage (w/YE9)
A5 ORN 4340 Battery Positive Voltage
A6 PNK 39 Ignition 1 Voltage
A7 YEL 1139 Ignition 1 Voltage
A8 LT GRN/BLK 584 A/T Shift Lock Control Switch Supply Voltage
A9 PNK 3 Ignition 1 Voltage
A10 ORN 1740 Battery Positive Voltage
A11 DK GRN 1433 Not Used
A12 BRN 2409 Interior Park Lamps Supply Voltage
BRN 2409 Interior Park Lamps Supply Voltage (w/U01)
B1 ORN 1640 Battery Positive Voltage (w/NP1/NP8/NR4)
B2 ORN 2268 Windshield Washer Relay Control
B3 DK GRN/WHT 1317 Fog Lamp Relay Control
DK GRN/WHT 1317 Fog Lamp Relay Control
B4-B7 - - Not Used
B8 ORN 1840 Battery Positive Voltage
B9 BLK/WHT 1969 Headlamp Relay Control/Headlamp High Beam Relay Control
B10 - - Not Used
B11 ORN 3840 Battery Positive Voltage (w/CF5)
B12 RED 142 Battery Positive Voltage
C1 ORN 1640 Battery Positive Voltage (w/NP8)
C2 ORN 3240 Battery Positive Voltage
C3 BLK 28 Horn Relay Control
BLK 28 Horn Relay Control
C4-C8 - - Not Used
C9 PNK 1020 Off/Run/Crank Voltage
C10 ORN 1040 Battery Positive Voltage
C11 - - Not Used
C12 PPL 420 TCC Brake Switch/Cruise Control Release Signal
D1-D2 - - Not Used
D3 PNK/WHT 1970 Headlamp Low Beam Relay Control
D4 ORN 340 Battery Positive Voltage
ORN 340 Battery Positive Voltage (w/UQ3/UQ5)
D5 ORN 640 Battery Positive Voltage
ORN 640 Battery Positive Voltage
D8-D9 - - Not Used
D10 PNK 639 Ignition 1 Voltage
D11 - - Not Used
D12 ORN 1140 Battery Positive Voltage
ORN 1140 Battery Positive Voltage (w/T89)
E1-E2 - - Not Used
E3 LT GRN /BLK 592 DRL Relay Control
E4 ORN 4540 Battery Positive Voltage
ORN 4540 Battery Positive Voltage (w/8S8)
E5 - - Not Used
E6 BRN/WHT 1571 Traction Control Switch Signal (w/NW7)
E7 LT BLU 1320 CHMSL Supply Voltage/Stop Lamp Supply Voltage
E8-E9 - - Not Used
E10 DK BLU 2115 Right Turn Signal Lamps Supply Voltage
E11 ORN 2340 Battery Positive Voltage (w/VYU)
E12 - - Not Used
F1 PNK 139 Ignition 1 Voltage
F2 ORN 3740 Battery Positive Voltage
F3 LT BLU 2114 Left Turn Signal Lamps Supply Voltage
F4 - - Not Used
F5 PNK 739 Ignition 1 Voltage
PNK 739 Ignition 1 Voltage (w/8S8)
PNK 739 Ignition 1 Voltage (w/Z75)
F6 PNK 639 Ignition 1 Voltage (w/o 8S8)
PNK 639 Ignition 1 Voltage
F7 ORN 2840 Battery Positive Voltage (w/o 8S8)
F8-F9 - - Not Used
F10 GRY 1524 Backup Lamp Supply Voltage
F11 WHT 1080 Park Lamp Relay Control
F12 ORN 1540 Battery Positive Voltage
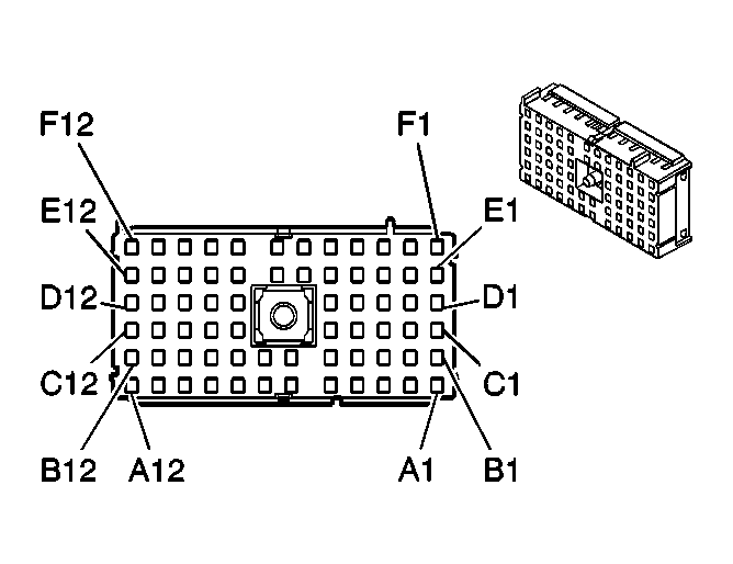
Fuse Block - Underhood - C2

GM362761Courtesy of GENERAL MOTORS CORP.
Connector Part Information
  • 12193906
  • 68-Way F Metri-Pack 280 Series (BLK)
Pin Wire Color Circuit No. Function
A1-A2 - - Not Used
A3 DK GRN 59 A/C Compressor Clutch Supply Voltage
A4-A6 - - Not Used
A7 DK GRN/WHT 465 Fuel Pump Relay Control - Primary
A8 - - Not Used
A9 PNK 1339 Ignition 1 Voltage
A10 LT BLU 1320 CHMSL Supply Voltage/Stop Lamp Supply Voltage
A11 GRY 1524 Trailer Backup Lamp Supply Voltage
A12 PNK 439 Ignition 1 Voltage (w/EVA)
PNK 439 Ignition 1 Voltage (w/L59)
B1-B2 - - Not Used
B3 BLK/WHT 1695 Axle Switch Signal (w/NP2)
BLK/WHT 1695 Axle Switch Signal (w/NP2)
B4-B6 - - Not Used
B7 BLK 550 Ground
B8 ORN 440 Battery Positive Voltage - PCM
ORN 440 Battery Positive Voltage - PCM
B9 PNK 1039 Ignition 1 Voltage
B10 PNK 439 Ignition 1 Voltage - MAF Sensor
PNK 439 Ignition 1 Voltage - PCM
B11-B12 - - Not Used
C1-C2 - - Not Used
C3 DK GRN/
WHT
459 A/C Compressor Clutch Relay Control
C4-C9 - - Not Used
C10 PNK 1039 Ignition 1 Voltage
PNK 1039 Ignition 1 Voltage (w/o L18)
C11 - - Not Used
C12 PPL 420 TCC Brake Switch/Cruise Control Release Signal
D1-D2 - - Not Used
D3 LT GRN 275 Park Neutral Position Switch Park Signal
D4-D5 - - Not Used
D8 PNK 539 Ignition 1 Voltage - HO2S Bank 2 Sensor 1
PNK 539 Ignition 1 Voltage - HO2S Bank 1 Sensor 1
D9 PNK 1239 Ignition 1 Voltage
D10 PNK 1039 Ignition 1 Voltage - Fuel Injector 1 (w/o L18)
PNK 1039 Ignition 1 Voltage
D11 PPL 6 Starter Solenoid Crank Voltage
D12 YEL/BLK 625 Starter Enable Relay Control
E1-E5 - - Not Used
E6 PNK 1239 Ignition 1 Voltage - Fuel Injector 2 (w/o L18)
PNK 1239 Ignition 1 Voltage - Fuel Injector 4
E7 PNK 1539 Ignition 1 Voltage (All except L18 w/o NC1)
PNK 1539 Ignition 1 Voltage
E8-E9 - - Not Used
E10 PNK 1239 Ignition 1 Voltage - Fuel Injector 6 (w/o L18)
PNK 1239 Ignition 1 Voltage - Fuel Injector 8 (w/o L18)
E11 PNK 1020 Off/Run/Crank Voltage
PNK 1020 Off/Run/Crank Voltage
E12 - - Not Used
F1-F2 - - Not Used
F3 PPL 806 Crank Voltage
F4-F7 - - Not Used
F8 PNK 839 Ignition 1 Voltage
F9 PNK 639 Ignition 1 Voltage
F10 - - Not Used
F11 DK GRN 1433 Park/Neutral Start Switch Signal
F12 - - Not Used
Fuse Block - Underhood - C3

GM362759Courtesy of GENERAL MOTORS CORP.
Connector Part Information
  • 12193916
  • 32-Way F Metri-Pack 280 Series (RED)
Pin Wire Color Circuit No. Function
A1-A2 - - Not Used
A3 DK BLU 2115 Right Turn Signal Lamps Supply Voltage
A4 ORN 2640 Battery Positive Voltage
ORN 2640 Battery Positive Voltage (w/NYS)
A5 PPL 420 TCC Brake Switch/Cruise Control Release Signal
A6 - - Not Used
B1 BLK/WHT 1695 Axle Switch Signal (w/NP2)
B2 ORN 2440 Battery Positive Voltage (w/Z55)
B3 LT BLU 2114 Left Turn Signal Lamps Supply Voltage
B4-B5 - - Not Used
B6 BRN 2109 Trailer Park Lamps Supply Voltage
C1 - - Not Used
C2 LT GRN 1624 Trailer Backup Lamps Supply Voltage
LT GRN 1624 Trailer Backup Lamps Supply Voltage (w/8S3)
C5 - - Not Used
C6 BRN/WHT 2609 Right Rear Park Lamps Supply Voltage
D1-D6 - - Not Used
E1-E2 - - Not Used
E3 PNK 439 Ignition 1 Voltage (w/NQZ)
E4 BLK 550 Ground
BLK 550 Ground (w/JH2)
E5-E6 - - Not Used
F1 GRY 120 Fuel Pump Supply Voltage
GRY 120 Fuel Pump Supply Voltage (w/NQZ)
F2-F3 - - Not Used
F4 LT BLU 1320 CHMSL Supply Voltage/Stop Lamp Supply Voltage
F5 - - Not Used
F6 BRN 2509 Left Rear Park Lamps Supply Voltage
Fuse Block - Underhood - C4

GM362760Courtesy of GENERAL MOTORS CORP.
Connector Part Information
  • 12193914
  • 32-Way F Metri-Pack 280 Series (GRN)
Pin Wire Color Circuit No. Function
A1-A2 - - Not Used
A3 DK BLU 2115 Right Turn Signal Lamps Supply Voltage
DK BLU 2115 Right Turn Signal Lamps Supply Voltage (w/o Z75)
A4 BLK 550 Ground
A5 - - Not Used
A6 DK GRN 1329 Horn Fuse Supply Voltage
DK GRN 1329 Horn Fuse Supply Voltage (w/7Z1)
B1 - - Not Used
B2 DK BLU 545 DRL Supply Voltage
DK BLU 545 DRL Supply Voltage
B3-B6 - - Not Used
C1 BRN 2309 Front Park Lamps Supply Voltage (w/Z75)
BRN 2309 Front Park Lamps Supply Voltage (w/VYU)
C2 - - Not Used
C5 BRN 2309 Front Park Lamps Supply Voltage (w/VYU)
BRN 2309 Front Park Lamps Supply Voltage (w/Z75)
C6 RED 228 Windshield Washer Pump Control
D1 - - Not Used
D2 ORN 3540 Battery Positive Voltage (w/TT6)
D3-D5 - - Not Used
D6 PPL 34 Fog Lamps Supply Voltage (w/T96)
PPL 34 Fog Lamps Supply Voltage (w/T96)
E1 LT BLU 2114 Left Turn Signal Lamps Supply Voltage (w/o Z75)
LT BLU 2114 Left Turn Signal Lamps Supply Voltage
E2 DK GRN/
WHT
711 Left Headlamp High Beam Supply Voltage
E3 LT GRN/
BLK
311 Right Headlamp High Beam Supply Voltage
E4-E5 - - Not Used
E6 ORN 3640 Battery Positive Voltage (w/TT6)
F1-F3 - - Not Used
F4 YEL 712 Left Headlamp Low Beam Supply Voltage
F5 TAN/WHT 312 Right Headlamp Low Beam Supply Voltage
F6 - - Not Used
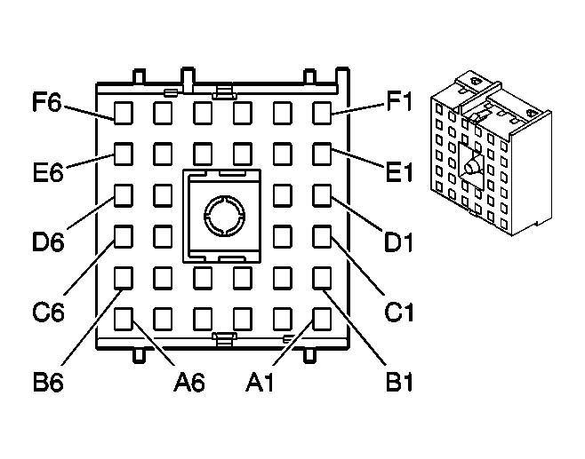
Fuse Block - Underhood - C5

GM845605Courtesy of GENERAL MOTORS CORP.
Connector Part Information
  • 15393171
  • 2-Way F J-Type (GRY)
Pin Wire Color Circuit No. Function
A RED 842 Battery Positive Voltage
B RED 542 Battery Positive Voltage
Fuse Block - Underhood - C6

GM845608Courtesy of GENERAL MOTORS CORP.
Connector Part Information
  • 15393172
  • 2-Way F J-Type (LT GRN)
Pin Wire Color Circuit No. Function
A RED 642 Battery Positive Voltage
B - - Not Used
Fuse Block - Underhood - C7

GM845633Courtesy of GENERAL MOTORS CORP.
Connector Part Information
  • 15393168
  • 2-Way F J-Type (BLK)
Pin Wire Color Circuit No. Function
A RED 342 Battery Positive Voltage
B RED 42 Battery Positive Voltage
Fuse Block - Underhood - C9

GM845602Courtesy of GENERAL MOTORS CORP.
Connector Part Information
  • 15393170
  • 2-Way F J-Type (WHT)
Pin Wire Color Circuit No. Function
A RED 442 Battery Positive Voltage
B RED 4042 Battery Positive Voltage (w/VSES)