Body Control Module (BCM) Connector End Views
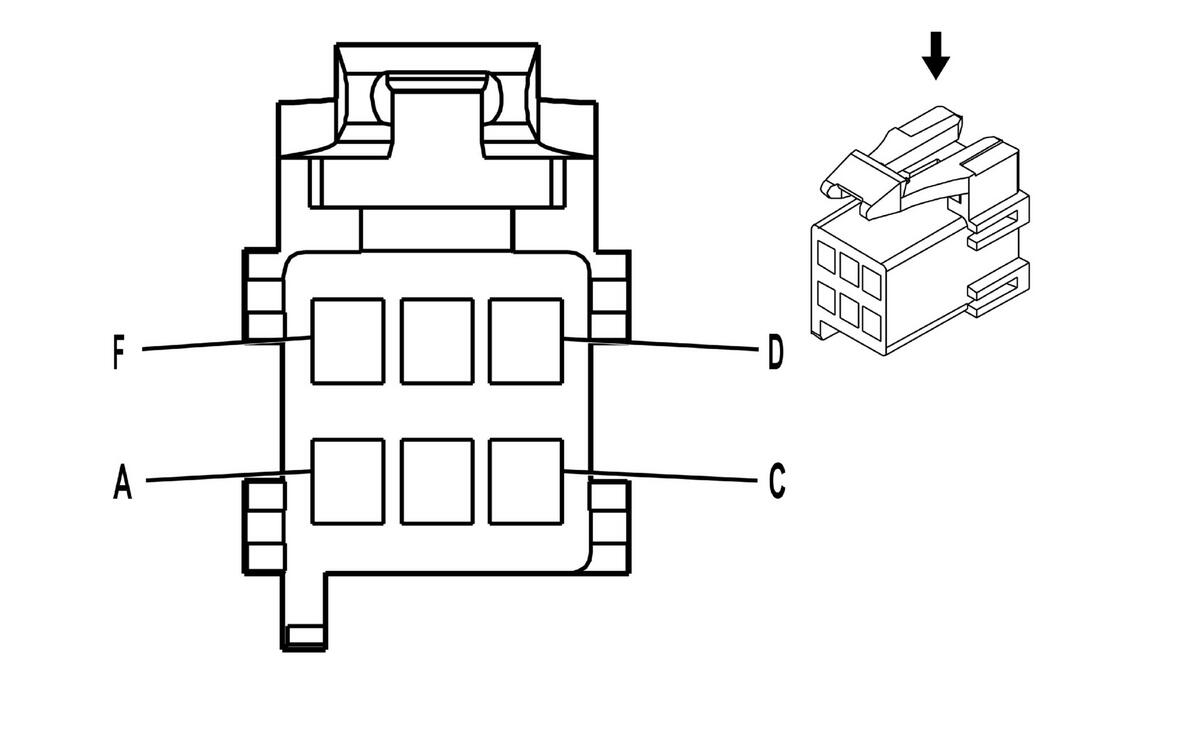
Body Control Module (BCM) - C1
| Connector Part Information |
|
||
|---|---|---|---|
| Pin | Wire Color | Circuit No. | Function |
| A | RED | 2353 | Instrument Panel Lamps Dimming Supply Voltage |
| B | PPL/WHT | 1382 | LED Dimming Signal |
| C | ORN | 4040 | Battery Positive Voltage |
| D | ORN | 1732 | Inadvertent Power Courtesy Lamps Supply Voltage |
| E | BRN/WHT | 230 | Instrument Panel Lamps Dimming Control |
| F | ORN | 2240 | Battery Positive Voltage |
Body Control Module (BCM) - C2
| Connector Part Information |
|
||
|---|---|---|---|
| Pin | Wire Color | Circuit No. | Function |
| A1 | - | - | Not Used |
| A2 | DK BLU | 1796 | Steering Wheel Radio Controls Supply Voltage |
| A3 | TAN/BLK | 254 | Rear Door Unlock Relay Control |
| A4 | PNK/WHT | 1970 | Headlamp Low Beam Relay Control |
| A5 | DK GRN/ WHT |
1317 | Fog Lamp Relay Control |
| A6 | GRY/BLK | 255 | Rear Door Lock Relay Control |
| A7 | - | - | Not Used |
| A8 | WHT | 193 | Rear Defog Relay Control |
| A9-A10 | - | - | Not Used |
| A11 | RED/WHT | 812 | 12-Volt Reference |
| A12 | ORN | 1140 | Battery Positive Voltage |
| B1 | BLK/WHT | 1969 | Headlamp High Beam Relay Control |
| B2 | WHT | 1080 | Park Lamp Relay Control |
| B3 | DK BLU | 1353 | RAP Supply Voltage |
| B4 | LT GRN/BLK | 592 | DRL Relay Control |
| B5 | PPL | 359 | DRL Off Indicator Control |
| YEL | 1977 | Rear Fog Lamp Relay Control (Export) | |
| B6 | BLK/WHT | 1851 | Ground |
| B7 | BLK | 1835 | Security System Sensor Low Reference |
| B8 | PNK | 1348 | Headlamp On Indicator Control |
| B9 | BLK | 28 | Horn Relay Control |
| B10 | WHT | 1304 | Liftgate Lock Relay Control (w/E52) |
| B11 | GRY | 1056 | Dimmer Switch 5-Volt Reference Voltage |
| B12 | LT GRN | 1037 | BCM Class 2 Serial Data |
Body Control Module (BCM) - C3
| Connector Part Information |
|
||
|---|---|---|---|
| Pin | Wire Color | Circuit No. | Function |
| A1-A3 | - | - | Not Used |
| A4 | WHT | 278 | Ambient Light Sensor Signal |
| A5 | GRY | 1548 | Passenger Sunload Sensor Signal (w/ CJ2) |
| A6 | YEL | 1836 | Security System Sensor Signal |
| - | - | Not Used (Export) | |
| A7 | LT GRN | 1011 | Remote Radio Control Signal |
| A8 | DK GRN | 588 | DRL Switch Signal |
| A9 | ORN | 192 | Front Fog Lamp Switch Signal |
| A10 | - | - | Not Used |
| A11 | PPL | 328 | Interior Lamp Defeat Switch Signal |
| A12 | - | - | Not Used |
| B1 | YEL | 710 | Class 2 Serial Data |
| B2 | GRY/BLK | 308 | Park Lamp Switch Signal |
| B3-B4 | - | - | Not Used |
| B5 | LT BLU/ BLK |
590 | Driver Sunload Sensor Signal (w/ CJ2) |
| B6 | BLK/WHT | 1851 | Ground |
| B7 | LT BLU | 1059 | Steering Wheel Position Sensor Signal (NYS, JL4) |
| B8 | ORN/BLK | 2090 | Dimming Switch Signal |
| B9 | LT GRN | 11 | Headlamp Dimmer Switch Signal |
| B10 | LT BLU | 187 | Rear Fog Lamp Indicator Control (Export) |
| - | - | Not Used | |
| B11 | LT BLU | 553 | Tow/Haul Switch Signal |
| B12 | - | - | Not Used |
Body Control Module (BCM) - C4
| Connector Part Information |
|
||
|---|---|---|---|
| Pin | Wire Color | Circuit No. | Function |
| A1 | LT GRN | 80 | Key In Ignition Switch Signal |
| A2 | YEL | 307 | Headlamp Switch Flash to Pass Signal |
| A3 | WHT | 530 | Off/Run/Crank Voltage |
| A4 | PNK | 39 | Ignition 1 Voltage |
| A5 | - | - | Not Used |
| A6 | DK BLU/ WHT |
149 | Cargo Lamp Low Control (Avalanche/Escalade EXT) |
| - | - | Not Used | |
| A7 | LT BLU | 1134 | Park Brake Switch Signal |
| A8 | GRY | 1524 | Backup Lamp Signal |
| A9-A11 | - | - | Not Used |
| A12 | WHT | 103 | Headlamp Switch Headlamps On Signal |
| B1-B2 | - | - | Not Used |
| B3 | YEL | 43 | Accessory Voltage |
| B4-B5 | - | - | Not Used |
| B6 | GRY/BLK | 2226 | Instrument Panel Lamps Dimmer Switch Low Reference |
| B7 | BLK | 279 | Ambient Light Sensor Low Reference |
| B8 | - | - | Not Used |
| B9 | DK BLU/WHT | 1495 | Courtesy Lamps On Signal |
| B10-B12 | - | - | Not Used |
Body Control Module (BCM) - C5
| Connector Part Information |
|
||
|---|---|---|---|
| Pin | Wire Color | Circuit No. | Function |
| A-C | - | - | Not Used |
| D | ORN | 2140 | Battery Positive Voltage |
| E | GRY/BLK | 690 | Courtesy Lamp Control |
| F | LT GRN | 24 | Backup Lamp Supply Voltage |
Body Control Module (BCM) - C6
| Connector Part Information |
|
||
|---|---|---|---|
| Pin | Wire Color | Circuit No. | Function |
| A1 | PNK/BLK | 1303 | Liftgate Ajar Switch Signal (ZW9) |
| A2 | LT GRN/ BLK |
748 | Right Rear Door Ajar Switch Signal |
| A3 | LT BLU/ BLK |
747 | Left Rear Door Ajar Switch Signal |
| A4 | - | - | Not Used |
| A5 | LT BLU | 2265 | Power Window Lockout Left Rear Control |
| A6 | LT GRN | 2266 | Power Window Lockout Right Rear Control |
| A7 | GRY/BLK | 1186 | Power Window Relay Right Rear Up Control |
| A8 | DK GRN | 1188 | Power Window Relay Right Rear Down Control |
| B1 | LT BLU | 2380 | Rear Parking Assist Chime Signal |
| B2-B6 | - | - | Not Used |
| B7 | YEL | 1187 | Power Window Relay Left Rear Down Control |
| B8 | WHT | 1185 | Power Window Relay Left Rear Up Control |