LEMON Manuals: Even more car manuals for everyone
Home >> Cadillac >> 2004 >> Escalade EXT >> Repair and Diagnosis >> Quick Lookups >> Wiring Diagrams >> OEM Connector End Views - Abs, Adjustable Pedals, Automatic Level Control SUSP, Automatic Transmission, Shift Lock Control, Body Control System, Body Rear End, Cellular Communication, Cruise Control, Data Link Communications, Electrical Center >> ABS Connector End Views >> Electronic Brake Control Module (EBCM) Connector End Views

Electronic Brake Control Module (EBCM) Connector End Views

Electronic Brake Control Module (EBCM) - C1 (w/o JL4)

GM684792Courtesy of GENERAL MOTORS CORP.
Connector Part Information
  • 12052613
  • 2-Way F Metri-Pack 480 Series Sealed (BLK)
Pin Wire Color Circuit No. Function
A BLK 2150 Ground
B RED 442 Battery Positive Voltage
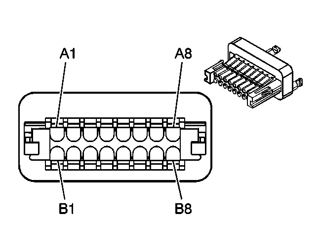
Electronic Brake Control Module (EBCM) - C2 (w/o JL4)

GM365992Courtesy of GENERAL MOTORS CORP.
Connector Part Information
  • 12193519
  • 16-Way F Micro-Pack 100W (NAT)
Pin Wire Color Circuit No. Function
A1 BRN 441 Ignition 3 Voltage
A2 YEL 873 Left Front Wheel Speed Sensor Low Reference
A3 DK GRN 872 Right Front Wheel Speed Sensor Signal
A4 TAN/BLK 464 Delivered Torque Signal
A5-A7 - - Not Used
A8 BLK/WHT 1695 Traction Control Switch Signal
B1 YEL/BLK 1827 Vehicle Speed Signal
B2 LT BLU 830 Left Front Wheel Speed Sensor Signal
B3 TAN 833 Right Front Wheel Speed Sensor Low Reference
B4 ORN/BLK 463 Requested Torque Signal
B5 PPL 420 TCC Brake Switch/Cruise Control Release Signal
B6 LT BLU 1122 ABS/TCS Class 2 Serial Data
B7 - - Not Used
B8 PPL 333 Brake Pressure Sensor Signal (1500 Series)
PPL 333 Brake Fluid Level Sensor Signal (2500 Series)
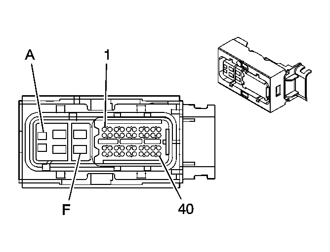
Electronic Brake Control Module (EBCM) (w/JL4)

GM1199759Courtesy of GENERAL MOTORS CORP.
Connector Part Information
  • 15405468
  • 46-Way F GT 280 (BLK)
Pin Wire Color Circuit No. Function
1 DK GRN 2087 Steering Wheel Position Sensor 5-Volt Reference
2-3 - - Not Used
4 LT BLU 1122 ABS/TCS Class 2 Serial Data
5 LT BLU 2088 Steering Wheel Position Sensor 5-Volt Reference
6-10 - - Not Used
11 BRN 441 Ignition 3 Voltage
12-13 - - Not Used
14 ORN/BLK 463 Requested Torque Signal
15 TAN/BLK 464 Delivered Torque Signal
16 - - Not Used
17 LT BLU 715 Lateral Accelerometer Signal
18-20 - - Not Used
21 LT GRN/
BLK
5352 Sensor Self Test Signal Circuit
22 PPL 420 TCC Brake Switch/Cruise Control Release Signal
23 LT GRN 1763 Steering Wheel Position Signal A
24 YEL 5353 YAW Rate Frequency
25 - - Not Used
26 WHT 1765 Steering Wheel Position Marker Pulse Signal
27 LT BLU 1764 Steering Wheel Position Signal B
28 - - Not Used
29 LT BLU 2206 Traction Control Preference Switch Signal
30 DK BLU 716 Yaw Rate Sensor Signal
31 PPL 333 Brake Fluid Level/Pressure Sensor Signal
32 YEL/BLK 1827 Vehicle Speed Signal
33 YEL 873 Left Front Wheel Speed Sensor Low Reference
34 LT BLU 830 Left Front Wheel Speed Sensor Signal
35 TAN 833 Right Front Wheel Speed Sensor Low Reference
36 DK GRN 872 Right Front Wheel Speed Sensor Signal
37 RED 885 Left Rear Wheel Speed Sensor Low Reference
38 BLK 884 Left Rear Wheel Speed Sensor Signal
39 WHT 883 Right Rear Wheel Speed Sensor Low Reference
40 BRN 882 Right Rear Wheel Speed Sensor Signal
A DK GRN 2878 Precharge Motor Low
B RED 4042 Battery Positive Voltage
C BLK 2150 Ground
D DK BLU 2877 Precharge Motor Hi
E BLK 2150 Ground
F RED 442 Battery Positive Voltage