LEMON Manuals: Even more car manuals for everyone
Home >> Cadillac >> 2004 >> Escalade EXT >> Repair and Diagnosis >> Accessories & Equipment >> Infotainment >> Navigation Systems >> Schematic and Routing Diagrams >> Navigation System Schematics

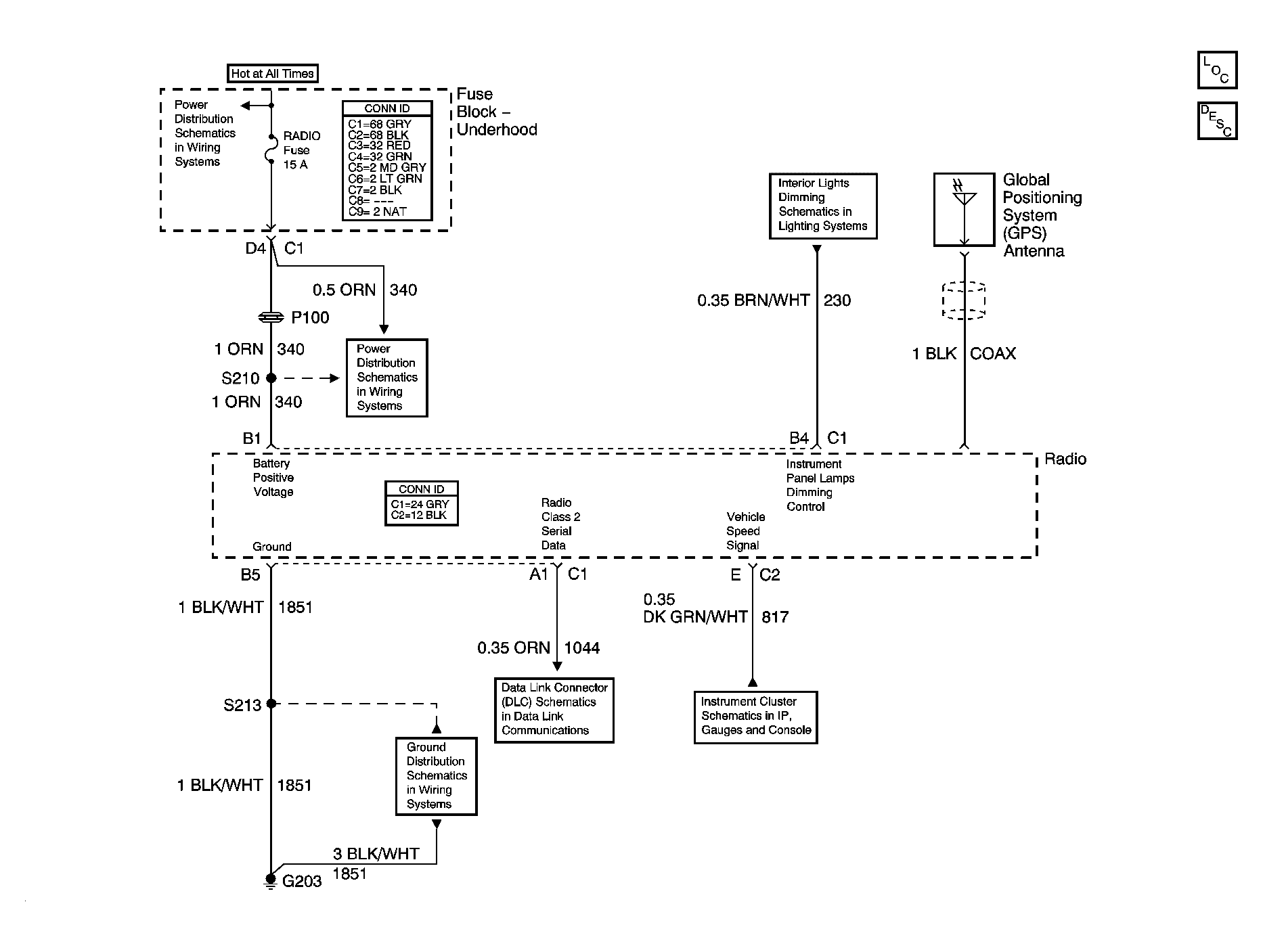
Navigation System Schematics

Fig 1: Navigation System Schematic
GM1246802Courtesy of GENERAL MOTORS CORP.