LEMON Manuals: Even more car manuals for everyone
Home >> Cadillac >> 2004 >> Escalade EXT >> Repair and Diagnosis (Single Page) >> Brakes >> Antilock Brake System, Traction Control System & Stability Control System >> Repair Instructions >> Electronic Brake Control Module Replacement (w/o JL4) >> Installation Procedure

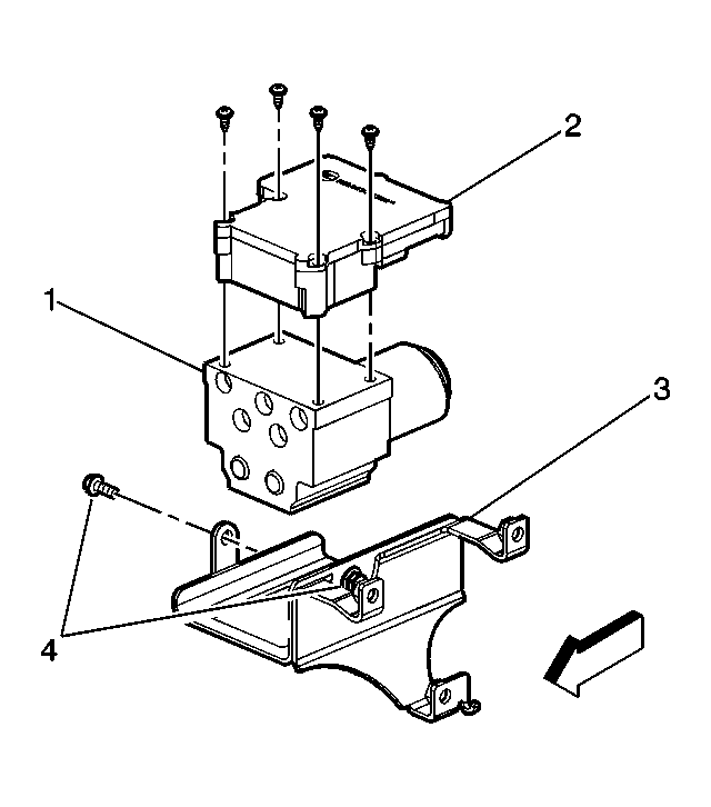
Installation Procedure

IMPORTANT: Do not reuse the old mounting screws. Always install new mounting screws with the new EBCM.
    IMPORTANT: Do not use RTV or any other type of sealant on the EBCM gasket or mating surfaces.
  1. Install the EBCM (2) on to the BPMV (1).
  2. NOTE: Refer to Fastener Notice in Cautions and Notices.
  3. Install the four new screws in the EBCM (2).

    Tighten:  Tighten the four screws to 5 N.m (39 lb in) in an X-pattern.

  4. Fig 1: Exploded View Of EBCM & BPMV Components (w/o JL4)
    GM379484Courtesy of GENERAL MOTORS CORP.
  5. Install or tighten three EHCU bracket mounting bolts (4).

    Tighten:  Tighten the EHCU bracket mounting bolts to 25 N.m (18 lb ft).

  6. Connect the electrical connectors to the EBCM (1).
  7. Fig 2: View Of EBCM/EHCU Assembly
    GM379478Courtesy of GENERAL MOTORS CORP.
  8. Lower the vehicle.
  9. Connect the negative battery cable.
  10. Revise the tire calibration using the Scan Tool Tire Size Calibration function.
  11. Return to Diagnostic Starting Point - Antilock Brake System .