LEMON Manuals: Even more car manuals for everyone
Home >> Cadillac >> 2004 >> Escalade EXT >> Repair and Diagnosis (Single Page) >> Accessories & Equipment >> Headlights >> Lighting Systems (Introduction) >> Component Locator >> Lighting Systems Component Views

Lighting Systems Component Views

Fig 1: Hood Component View
GM310026Courtesy of GENERAL MOTORS CORP.
Callout Component Name
1 Hood
2 Hood Reinforcement
3 Underhood Lamp Assembly Electrical Connector
4 Underhood Lamp Assembly
4 Underhood Lamp Assembly
Fig 2: LF Corner Of Bumper Component View
GM350006Courtesy of GENERAL MOTORS CORP.
Callout Component Name
1 Bumper
2 Fog Lamp - LF
3 Air Deflector
4 Fog Lamp - LF Connector
5 Fog Lamp Harness
6 Fog Lamp Bracket (Part of Fog Lamp)
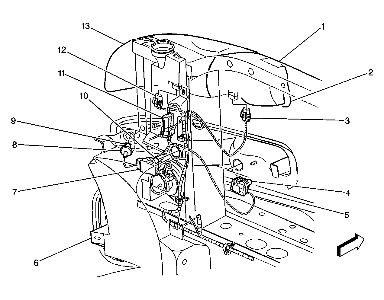
Fig 3: RF Corner Of Vehicle - Lighting Components View
GM310805Courtesy of GENERAL MOTORS CORP.
Callout Component Name
1 Upper Radiator Support - Tie Bar
2 Headlamp-Low Beam - Right
3 Snowplow - Option - Connector C127
4 Park/Turn Signal Lamp - RF
5 Park/Turn Signal Socket - RF
6 Park/Turn Signal Lens - RF
7 Marker Lamp Socket - RH
8 Daytime Running Lamp (DRL) Socket - RH
9 DRL Lamp - RH
10 DRL Lens - RH
11 Headlamp Assembly - Right
12 Headlamp-High Beam - Right
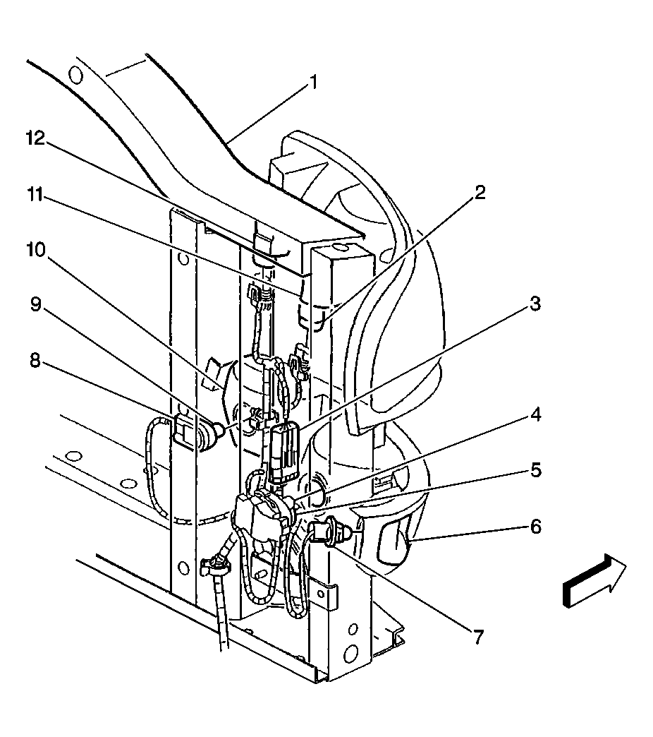
Fig 4: LF Corner Of Vehicle - Lighting Components View
GM310802Courtesy of GENERAL MOTORS CORP.
Callout Component Name
1 Upper Radiator Support - Tie Bar
2 Headlamp Assembly-LF
3 Headlamp-High Beam Connector-LF
4 Daytime Running Lamp (DRL)-LF
5 DRL Socket-LF
6 Windshield Washer Reservoir
7 Park/Turn Signal Lamp Socket-LF
8 Marker Socket-LF
9 Marker Lamp-LF
10 Park/Turn Signal Lamp-LF
11 Snowplow - Option - Connector C125
12 Headlamp-Low Beam Connector-LF
13 Marker Lens-LF
Fig 5: RF Headlamp Assembly Component View (Escalade - LF Similar)
GM1284799Courtesy of GENERAL MOTORS CORP.
Callout Component Name
1 Headlamp Assembly
2 Fender
3 Headlamp Support Housing
4 Headlamp Assembly Connector
5 HID Headlamp Ballast
6 Radiator Upper Air Baffle
Fig 6: Roof Marker & Clearance Lamps Component View
GM762107Courtesy of GENERAL MOTORS CORP.
Callout Component Name
1 Roof Marker Lamp and Harness - Right
2 Roof Marker Lamp and Harness - Left
3 Clearance Lamps and Harness
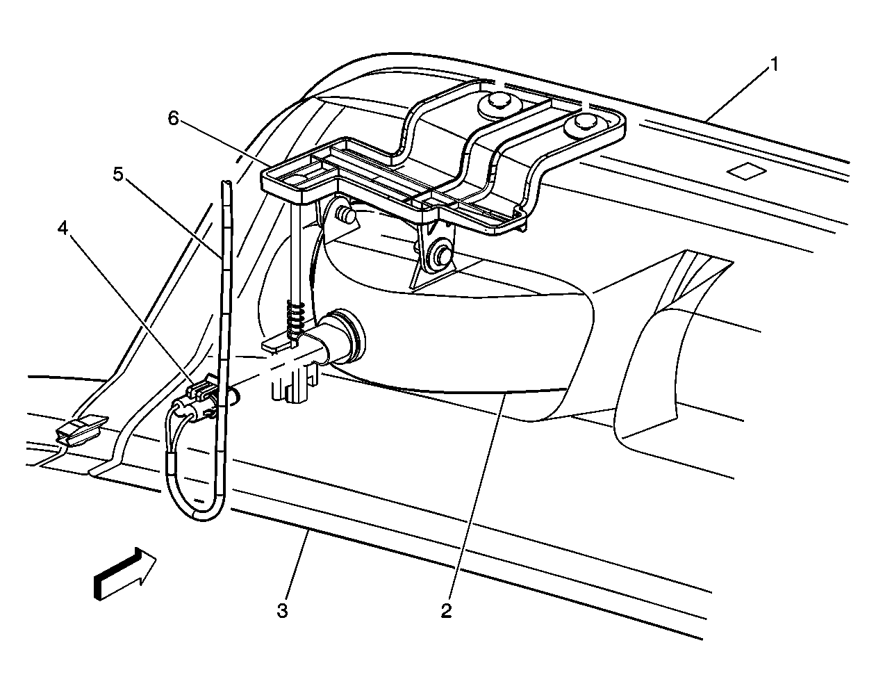
Fig 7: Sunload Sensor Assembly Component View
GM310130Courtesy of GENERAL MOTORS CORP.
Callout Component Name
1 Instrument Panel Bracket
2 Sunload Sensor Harness
3 Sunload Sensor Connector
4 Sunload Sensor Assembly
5 Instrument Panel
Fig 8: Steering Column Components View
GM349986Courtesy of GENERAL MOTORS CORP.
Callout Component Name
1 Hazard Button
2 High Beams/Cruise/Wiper/Washer
3 Cruise Control Switches
4 Tilt Steering Actuator
5 Inflatable Restraint Harness
6 C201 Inline Connector
Fig 9: Left Side Of I/P - Switches Component View
GM310113Courtesy of GENERAL MOTORS CORP.
Callout Component Name
1 Automatic Transfer Case (ATC) Electrical Connector
2 Automatic Transfer Case (ATC) Electrical Connector
3 Automatic Transfer Case (ATC) Select Switch
4 Cargo/Fog Lamp Switch
5 Headlamp and Panel Dimmer Switch
6 Instrument Panel
7 Headlamp and Panel Dimmer Switch Electrical Connector
8 Cargo/Fog Lamp Switch Electrical Connector
Fig 10: Lower Left Side Of I/P Components View
GM310145Courtesy of GENERAL MOTORS CORP.
Callout Component Name
1 Fuse Block-Left I/P Connector
2 Body Control Module (BCM) Connectors
3 Splice Pack SP205
4 Fuse Block-Left I/P
5 Data Link Connector (DLC)
6 Courtesy Lamp-Left
7 Courtesy Lamp Socket-Left
8 Support to Dash-Left
9 Right Windshield Pillar Trim Panel
Fig 11: Center Of I/P - Accessory Switches Component View
GM350001Courtesy of GENERAL MOTORS CORP.
Callout Component Name
1 Fog Lamp Switch
2 Roof Beacon Switch
2 Roof Beacon Switch
3 Accessory Switch Housing
3 Accessory Switch Housing
4 Instrument Panel
Fig 12: Lower Center Of I/P Components View
GM310152Courtesy of GENERAL MOTORS CORP.
Callout Component Name
1 Ashtray Lamp Socket
2 Bulb
3 Ashtray Lamp Shield
4 Instrument Panel
5 Accessory Power Outlet
6 Cigar Lighter Assembly
Fig 13: Instrument Panel Compartment Lamp Component View
GM350014Courtesy of GENERAL MOTORS CORP.
Callout Component Name
1 Instrument Panel
2 Instrument Panel Compartment Lamp and Switch
Fig 14: Driver Door Panel Components - Courtesy Lamp Component View
GM350018Courtesy of GENERAL MOTORS CORP.
Callout Component Name
1 Door Courtesy Lamp Electrical Connector
2 Door Courtesy Lamp
3 Left Door
Fig 15: Overhead Console Component View
GM350007Courtesy of GENERAL MOTORS CORP.
Callout Component Name
1 Headliner
2 Overhead Console
3 Overhead Console Electrical Connector
4 Headliner Harness Electrical Connector
Fig 16: Cargo Lamps Component View (Avalanche/Escalade EXT)
GM781680Courtesy of GENERAL MOTORS CORP.
Callout Component Name
1 Cargo Lamp Harness
2 Cargo Lamp Harness Connector
3 Cargo Box/Stowage Box
4 Cargo Lamp
Fig 17: Lower RR Body Panel Component View
GM1408354Courtesy of GENERAL MOTORS CORP.
Callout Component Name
1 Body Panel - RH
2 Junction Block - Rear Lamps
Fig 18: Rear Bumper Component View (Utility)
GM623140Courtesy of GENERAL MOTORS CORP.
Callout Component Name
1 Rear Bumper
2 Tail Lamp Jumper Harness
3 Inline Connector C403
4 License Plate Lamp-RH (LH similar)
Fig 19: License Lamps Component View
GM309881Courtesy of GENERAL MOTORS CORP.
Callout Component Name
1 Lamp Socket
2 Bulb
3 RH License Lamp
4 Bumper
5 LH License Lamp
6 Rear Cross Sill
7 Rear Lamps Bussing Block
Fig 20: Trailer Wiring Harness Component View
GM349960Courtesy of GENERAL MOTORS CORP.
Callout Component Name
1 Trailer Wiring Connector
2 Trailer Wiring Receptacle
3 Frame
4 Trailer Hitch Receiver