LEMON Manuals: Even more car manuals for everyone
Home >> Cadillac >> 2003 >> Escalade EXT >> Repair and Diagnosis >> External Pages >> Different car >> Section 633 (Antilock Brake System, Traction Control System & Stability Control System) >> Component Locator >> ABS Component Views

ABS Component Views

WARNING: This page is about a different car, the 2004 Cadillac CTS. However, it is still accessible from the selected car via links, so may be relevant.
Fig 1: EBCM and Wheel Speed Sensors
GM1372939Courtesy of GENERAL MOTORS CORP.
Callout Component Name
1 Brake Pressure Modulator Valve (BPMV)
2 Brake Fluid Pressure Sensor
3 Brake Fluid Pressure Sensor Connector
4 Wheel Speed Sensor (WSS) - LR (RR Similar)
5 Wheel Speed Sensor (WSS) Connector - LR (RR Similar)
6 Parking Brake Cable
7 Brake Rotor - LR (RR Similar)
8 Wheel Speed Sensor (WSS) Connector - LF (RF Similar)
9 Wheel Speed Sensor (WSS) - LF (RF Similar)
10 Brake Rotor - LF (RF Similar)
11 Electronic Brake Control Module (EBCM)
12 EBCM Connector Lock
13 EBCM Connector
14 EBCM Connector Position Assurance Retainer
Fig 2: Brake Pedal, Accelerator Pedal, BPP and APP Sensors
GM1334064Courtesy of GENERAL MOTORS CORP.
Callout Component Name
1 Accelerator Pedal Position (APP) Sensor
2 Accelerator Pedal
3 Brake Pedal
4 Brake Pedal Position (BPP) Sensor
Fig 3: Steering Wheel Position Sensor (JL4)
GM1348857Courtesy of GENERAL MOTORS CORP.
Callout Component Name
1 Accelerator Pedal Position (APP) Sensor Connector
2 Accelerator Pedal Position (APP) Sensor
3 Steering Wheel Position Sensor
Fig 4: Traction Control Switch
GM1348868Courtesy of GENERAL MOTORS CORP.
Callout Component Name
1 Traction Control Switch Connector
2 Traction Control Switch
3 Glove Box
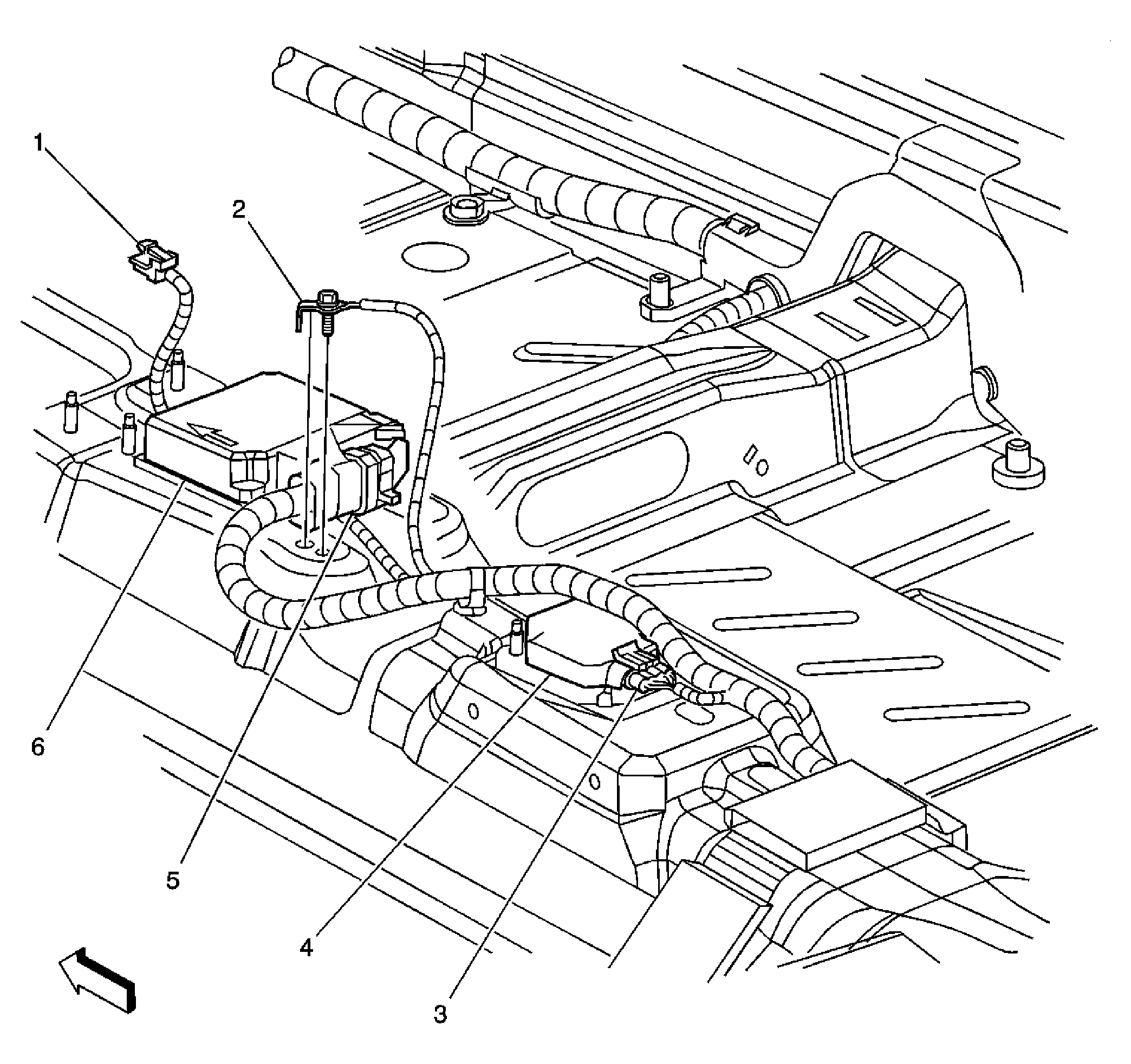
Fig 5: Passenger Compartment - Under Center Console
GM1368986Courtesy of GENERAL MOTORS CORP.
Callout Component Name
1 Shift Control Assembly Connector
2 Body Harness Ground G306
3 Yaw Rate and Lateral Acceleration Sensor Connector
4 Yaw Rate and Lateral Acceleration Sensor
5 Inflatable Restraint Sensing and Diagnostic Module (SDM) Connector
6 Inflatable Restraint Sensing and Diagnostic Module (SDM)