LEMON Manuals: Even more car manuals for everyone
Home >> Cadillac >> 2003 >> Escalade EXT >> Repair and Diagnosis (Single Page) >> Accessories & Equipment >> Headlights >> Lighting Systems >> Component Locator >> Lighting Systems Component Views

Lighting Systems Component Views

Fig 1: Lighting Systems Component - Cargo Lamps (Avalanche/Escalade EXT)
G01457330Courtesy of GENERAL MOTORS CORP.
Fig 2: Lighting Systems Component - Hood
G01457331Courtesy of GENERAL MOTORS CORP.
Fig 3: Lighting Systems Component - Roof Marker & Clearance Lamps
G01457332Courtesy of GENERAL MOTORS CORP.
Fig 4: Lighting Systems Component (Junction Block - Rear Lamps)
G01457333Courtesy of GENERAL MOTORS CORP.
Fig 5: Lighting Systems Component - LF Corner Of Bumper
G01457334Courtesy of GENERAL MOTORS CORP.
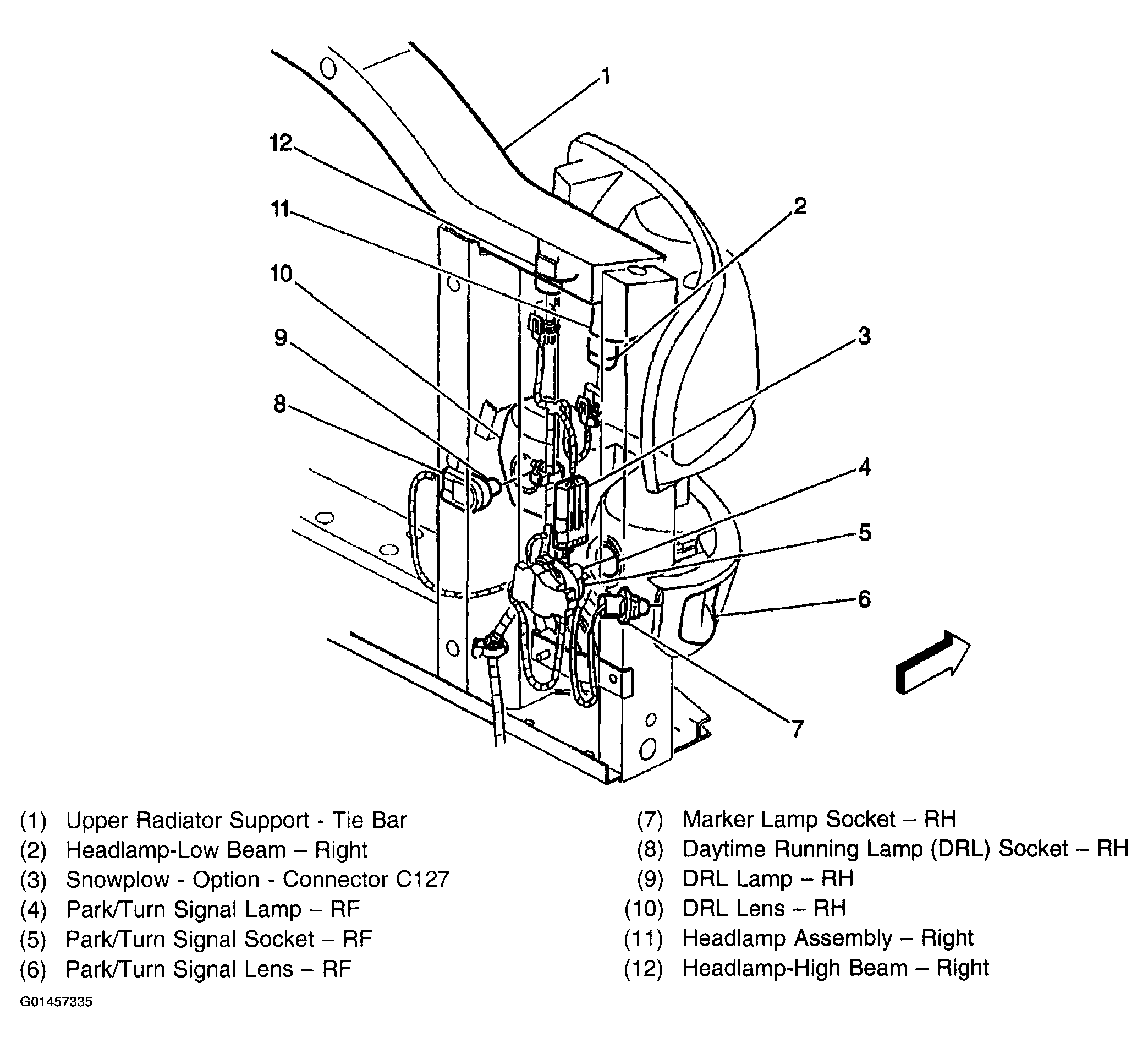
Fig 6: Lighting Systems Component (RF Corner Of Vehicle - Lighting Components)
G01457335Courtesy of GENERAL MOTORS CORP.
Fig 7: Lighting Systems Component (LF Corner Of Vehicle - Lighting Components)
G01457336Courtesy of GENERAL MOTORS CORP.
Fig 8: Lighting Systems Component - Sunload Sensor Assembly
G01457337Courtesy of GENERAL MOTORS CORP.
Fig 9: Lighting Systems Component - Center Rear Of Roof (Pickup)
G01457338Courtesy of GENERAL MOTORS CORP.
Fig 10: Lighting Systems Component - Steering Column Components
G01457339Courtesy of GENERAL MOTORS CORP.
Fig 11: Lighting Systems Component (Left Side Of I/P - Switches)
G01457340Courtesy of GENERAL MOTORS CORP.
Fig 12: Lighting Systems Component - Lower Left Side Of I/P Components
G01457341Courtesy of GENERAL MOTORS CORP.
Fig 13: Lighting Systems Component (Center Of I/P - Accessory Switches)
G01457342Courtesy of GENERAL MOTORS CORP.
Fig 14: Lighting Systems Component - Lower Center Of I/P Components
G01457343Courtesy of GENERAL MOTORS CORP.
Fig 15: Lighting Systems Component - Instrument Panel Compartment Lamp
G01457344Courtesy of GENERAL MOTORS CORP.
Fig 16: Lighting Systems Component (Driver Door Panel Components - Courtesy Lamp)
G01457345Courtesy of GENERAL MOTORS CORP.
Fig 17: Lighting Systems Component - Overhead Console
G01457346Courtesy of GENERAL MOTORS CORP.
Fig 18: Lighting Systems Component - Rear Bumper (Utility)
G01457347Courtesy of GENERAL MOTORS CORP.
Fig 19: Lighting Systems Component - License Lamps
G01457348Courtesy of GENERAL MOTORS CORP.
Fig 20: Lighting Systems Component - Trailer Wiring Harness
G01457349Courtesy of GENERAL MOTORS CORP.