LEMON Manuals: Even more car manuals for everyone
Home >> Cadillac >> 1987 >> Allante F7/ME9 >> Repair and Diagnosis >> Body & Frame >> Body, Cab Control Systems >> Body Computer Module >> Operation >> Output Switching Modules

Output Switching Modules

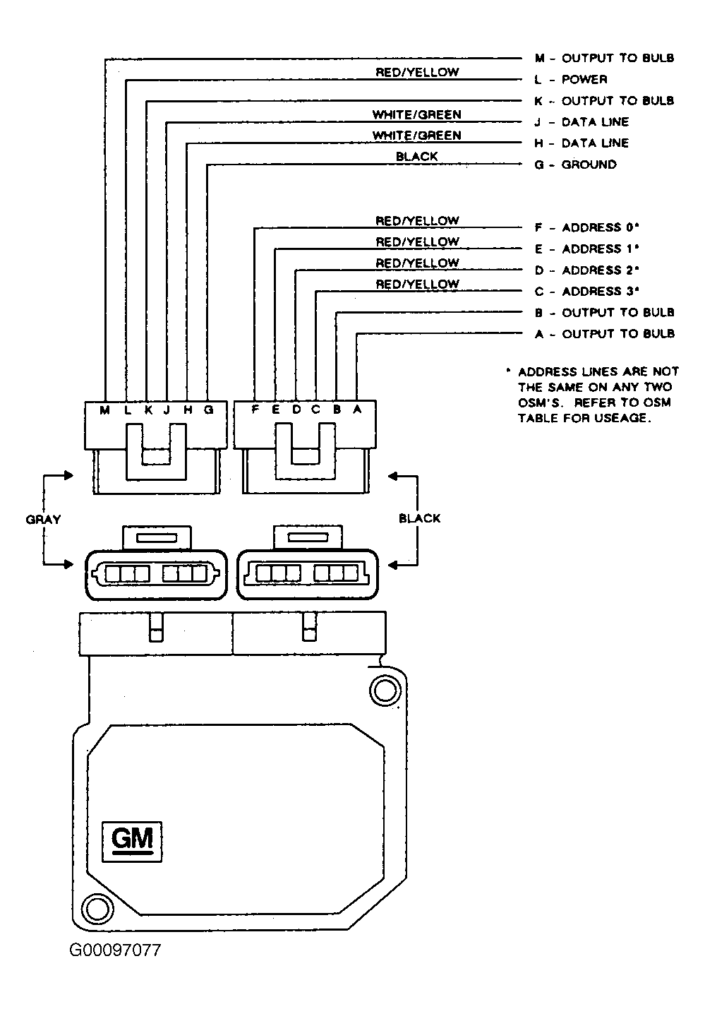
Each Output Switching Module (OSM) is a solid state device consisting of 4 inputs to the power lamps, address pins identifying the location of the OSM, 2 data circuits to communicate with the BCM, a power circuit and a ground circuit. See Fig 1.

The OSM depends on the commands received from the BCM to turn on or off its outputs resulting in operation of all the various lamps in the lighting system as needed. These consist of the headlamps, taillamps, turn signal lamps or courtesy lamps.

Fig 1: Typical Output Switching Module
G00097077Courtesy of GENERAL MOTORS CORP.