LEMON Manuals: Even more car manuals for everyone
Home >> Buick >> 2023 >> Envision Preferred, AWD >> Repair and Diagnosis >> External Pages >> Different car >> Section 74 (Component Connector End Views (S64D-X92CD)) >> Component Connector End Views >> S70R Radio Control Switch - Steering Wheel

S70R Radio Control Switch - Steering Wheel

WARNING: This page is about a different car, the 2021 Buick Envision. However, it is still accessible from the selected car via links, so may be relevant.
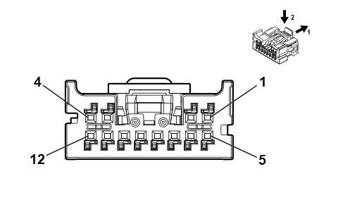
GM5823893Courtesy of GENERAL MOTORS COMPANY
Connector Part Information
  • Harness Type: Steering Wheel
  • OEM Connector: 13541203
  • Service Connector: Service by Harness - See Part Catalog
  • Description: 12 - Way F Mini 50 Series (GY)
Terminal Part Information

Terminal Type ID Terminated Lead Diagnostic Test Probe Terminal Removal Tool
I Not Available No Tool Required Not Available
Pin Size Color Circuit Function Terminal Type ID Option
1 - RD / GN 5140 Battery Positive Voltage I -
2 - YE / BK 3893 Steering Wheel LED Backlight Dimming Control I -
3 - GN / BK 3894 Instrument Cluster LIN Bus 1 I -
6 - BK / WH 6051 Steering Wheel Ground I -
7 - BN / WH 4313 Radio Favorite Forward Switch Signal I -
8 - YE / BU 4312 Radio Favorite Back Switch Signal I -
9 - VT 3892 Indicator Dimming Control 2 I -
10 - BU 4315 Radio Volume Up Switch Signal I -
11 - GY / BN 4314 Radio Volume Down Switch Signal I -