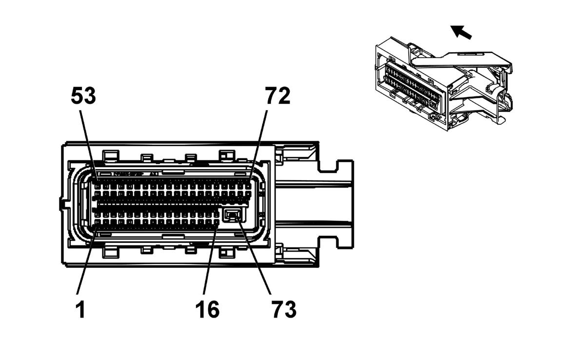
K20 Engine Control Module X3 (LTG+MRC)
WARNING: This page is about a different car, the 2020 Buick Regal TourX, 2020 Buick Regal, 2019 Buick Regal TourX, and 2019 Buick Regal. However, it is still accessible from the selected car via links, so may be relevant.
Courtesy of GENERAL MOTORS COMPANY
|
Connector Part Information
- Harness Type:Engine
- OEM Connector: 35061508
- Service Connector: 13574948
- Description: 73 -Way F 0.64 MQS, 2.8 APEX Series, Sealed (GY)
|
Terminal Part Information
| Terminal Type ID |
Terminated Lead |
Diagnostic Test Probe |
Terminal Removal Tool |
| I |
135877518 |
J-35616-35 (VT) |
J-38125-215A |
| II |
19351723 |
J-35616-64B (LT BU) |
J-38125-215A |
| III |
19355737 |
J-35616-64B (LT BU) |
J-38125-215A |
| Pin |
Size |
Color |
Circuit |
Function |
Terminal Type ID |
Option |
| 1 |
0.5 |
GY / WH |
3113 |
Heated Oxygen Sensor Heater Low Control Bank 1 Sensor 1 |
II |
- |
| 2 |
- |
- |
- |
Not Occupied |
- |
- |
| 3 |
0.5 |
GN / BU |
3889 |
Powertrain Sensor Bus Relay Control |
II |
- |
| 4 |
0.5 |
GN / BU |
428 |
EVAP Canister Purge Solenoid Control |
II |
- |
| 5 |
- |
- |
- |
Not Occupied |
- |
- |
| 6 |
0.5 |
BN / RD |
2917 |
Fuel Rail Pressure Sensor 5V Reference |
II |
- |
| 7 - 13 |
- |
- |
- |
Not Occupied |
- |
- |
| 14 |
0.5 |
BK / VT |
7331 |
Turbocharger Inlet Absolute Pressure Sensor 5 Volt Reference 2 |
II |
- |
| 15 |
0.35 |
YE / RD |
6031 |
Brake Vacuum Sensor 5V Reference |
III |
- |
| 16 |
0.5 |
VT / BU |
5294 |
Powertrain Main Relay Fused Supply 5 |
II |
- |
| 17 |
- |
- |
- |
Not Occupied |
- |
- |
| 18 |
0.5 |
BN |
25 |
Charge Indicator Control |
II |
- |
| 19 |
0.5 |
GY |
23 |
Generator Field Duty Cycle Signal |
II |
- |
| 20 |
0.5 |
BK / GN |
580 |
Engine Control Sensors Low Reference 2 |
II |
- |
| 21 |
0.5 |
BU / WH |
2918 |
Fuel Rail Pressure Sensor Signal |
II |
- |
| 22 |
0.5 |
BK / GN |
2919 |
Fuel Rail Pressure Sensor Low Reference |
II |
- |
| 23 - 29 |
- |
- |
- |
Not Occupied |
- |
- |
| 30 |
0.5 |
GY / RD |
7332 |
Turbocharger Inlet Absolute Pressure Sensor 5 Volt Feedback Signal 2 |
II |
- |
| 31 - 34 |
- |
- |
- |
Not Occupied |
- |
- |
| 35 |
0.5 |
GN |
6935 |
Heated Oxygen Sensor Current Adjust Signal |
II |
- |
| 36 |
0.5 |
YE / GY |
6936 |
Heated Oxygen Sensor Collector Signal |
II |
- |
| 37 |
0.5 |
BN / WH |
6933 |
Heated Oxygen Sensor Current Pump Signal |
II |
- |
| 38 |
0.5 |
BN |
6934 |
Heated Oxygen Sensor Ground |
II |
- |
| 39 |
- |
- |
- |
Not Occupied |
- |
- |
| 40 |
0.5 |
GN / WH |
432 |
Manifold Absolute Pressure Sensor Signal |
II |
- |
| 41 |
0.5 |
BN / GN |
1174 |
Oil Level Switch Signal |
II |
- |
| 42 - 45 |
- |
- |
- |
Not Occupied |
- |
- |
| 46 |
0.5 |
VT / BU |
7330 |
Turbocharger Inlet Absolute Pressure Sensor Signal 2 |
II |
- |
| 47 |
0.5 |
WH / BU |
7329 |
Pre-Throttle Air Temperature Signal |
II |
- |
| 48 |
0.5 |
YE |
3054 |
Turbo Intake Pressure Sensor Signal Bank 1 |
II |
- |
| 49 - 51 |
- |
- |
- |
Not Occupied |
- |
- |
| 52 |
0.5 |
VT / BK |
7300 |
High Pressure Fuel Pump Actuator Low - Control |
II |
- |
| 53 - 54 |
- |
- |
- |
Not Occupied |
- |
- |
| 55 |
0.35 |
GN / VT |
4621 |
Engine Control Module LIN Bus 1 |
III |
- |
| 56 - 58 |
- |
- |
- |
Not Occupied |
- |
- |
| 59 |
0.5 |
BK / GY |
2303 |
Knock Sensor Low Reference 2 |
II |
- |
| 60 |
0.5 |
WH / GY |
1876 |
Knock Sensor Signal 2 |
II |
- |
| 61 |
0.5 |
BK / YE |
1716 |
Knock Sensor Low Reference 1 |
II |
- |
| 62 |
0.5 |
VT / GY |
496 |
Knock Sensor Signal 1 |
II |
- |
| 63 - 71 |
- |
- |
- |
Not Occupied |
- |
- |
| 72 |
0.5 |
YE |
7301 |
High Pressure Fuel Pump Actuator High - Control |
II |
- |
| 73 |
2.5 |
BK / WH |
151 |
Signal Ground |
I |
- |