LEMON Manuals: Even more car manuals for everyone
Home >> Buick >> 2020 >> Envision Base >> Repair and Diagnosis >> External Pages >> Different car >> Section 245 (Component Connector End Views (K20 (X1)-K68)) >> Component Connector End Views >> K20 Engine Control Module X2 (LTG+MRC)

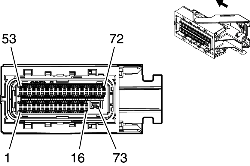
K20 Engine Control Module X2 (LTG+MRC)

WARNING: This page is about a different car, the 2020 Buick Regal TourX, 2020 Buick Regal, 2019 Buick Regal TourX, and 2019 Buick Regal. However, it is still accessible from the selected car via links, so may be relevant.
GM5147382Courtesy of GENERAL MOTORS COMPANY
Connector Part Information
  • Harness Type: Engine
  • OEM Connector: 35061506
  • Service Connector: 13574947
  • Description: 73-Way F 0.64 MQS, 2.8 APEX Series, Sealed (BK)
Terminal Part Information

Terminal Type ID Terminated Lead Diagnostic Test Probe Terminal Removal Tool Service Terminal Tray Name Core Crimp Insulation Crimp
I 19355728 J-35616-35 (VT) J-38125-215A Not Available Not Available Not Available Not Available
II 19355736 J-35616-64B (LT BU) J-38125-215A Not Available Not Available Not Available Not Available
III 19355737 J-35616-64B (LT BU) J-38125-215A Not Available Not Available Not Available Not Available
Pin Size Color Circuit Function Terminal Type ID Option
1 - - - Not Occupied - -
2 0.5 BU 410 Engine Coolant Temperature Sensor Signal II -
3 - - - Not Occupied - -
4 0.35 BN/RD 7445 Fuel Pressure Sensor 5V Reference III -
5 0.5 GY/RD 2704 Manifold Absolute Pressure Sensor 5V Reference II -
6 0.5 GY/YE 5297 Exhaust Camshaft Position Sensor 1 Voltage Reference II -
7 0.5 GY/BU 5300 Intake Camshaft Position Sensor 1 Voltage Reference II -
8 - 11 - - - Not Occupied - -
12 0.5 BN/RD 2701 Throttle Position Sensor 5V Reference 2 II -
13 0.5 BU/WH 3630 Throttle Position Sensor SENT 1 Signal II -
14 0.5 WH/RD 2705 Oil Pressure Sensor 5V Reference II -
15 0.5 VT/BU 6270 Crankshaft Position Sensor Voltage II -
16 - 19 - - - Not Occupied - -
20 0.35 BU/WH 7446 Fuel Pressure Sensor Signal III -
21 0.5 BK/GN 469 Manifold Absolute Pressure Sensor Low Reference II -
22 0.5 BK/GY 5296 Exhaust Camshaft Position Sensor Low Reference 1 II -
23 0.5 BK/GN 5301 Intake Camshaft Position Sensor Low Reference 1 II -
24 - 27 - - - Not Occupied - -
28 0.5 BK/BN 2752 Throttle Position Sensor Low Reference II -
29 0.5 YE/BN 331 Oil Pressure Sensor Signal II -
30 0.5 BK/VT 2755 Oil Pressure Sensor Low Reference II -
31 0.5 BK/VT 6272 Crankshaft Position Sensor Low Reference II -
32 0.5 GN 3060 Turbocharger Bypass Solenoid Valve Control Bank 1 II -
33 - - - Not Occupied - -
34 0.5 WH/YE 3121 HO2S Low Signal Bank 1 Sensor 2 II -
35 - - - Not Occupied - -
36 0.5 BK/VT 6754 Camshaft Position Actuator Solenoid Valve X Low Reference II -
37 0.5 BK/BN 6753 Camshaft Position Actuator Solenoid Valve W Low Reference II -
38 0.5 VT/BK 5273 Exhaust Camshaft Position Sensor 1 II -
39 0.5 YE/VT 5275 Intake Camshaft Position Sensor 1 II -
40 0.5 GN 6271 Crankshaft Position Sensor Signal II -
41 - - - Not Occupied - -
42 0.5 VT/BU 6091 Crankshaft Position Sensor Replicated Signal II -
43 0.5 BK/YE 548 Engine Control Sensors Low Reference 1 II -
44 0.5 BK/BU 2129 Ignition Control Low Reference Bank 1 II -
45 0.5 GN/BU 2123 Ignition Control 3 II -
46 0.5 BU/VT 2121 Ignition Control 1 II -
47 - - - Not Occupied - -
48 0.75 BU 4802 Direct Fuel Injector High Voltage Control Cylinder 2 II -
49 0.75 GY/BU 4804 Direct Fuel Injector High Voltage Control Cylinder 4 II -
50 0.75 GN 4803 Direct Fuel Injector High Voltage Control Cylinder 3 II -
51 0.75 BN 4801 Direct Fuel Injector High Voltage Control Cylinder 1 II -
52 0.5 YE 581 Throttle Actuator Open Control II -
53 - - - Not Occupied - -
54 0.5 VT/BU 3120 HO2S High Signal Bank 1 Sensor 2 II -
55 - - - Not Occupied - -
56 0.5 GY/BU 5282 Exhaust Camshaft Position Actuator Solenoid Valve 1 II -
57 0.5 VT/BN 5284 Intake Camshaft Position Actuator Solenoid Valve 1 II -
58 - 59 - - - Not Occupied - -
60 0.5 GY/WH 3122 HO2S Heater Low Control Bank 1 Sensor 2 II -
61 - 62 - - - Not Occupied - -
63 0.5 BN/YE 258 Turbocharger Wastegate Solenoid Valve Control II -
64 0.5 BU 179 Engine Oil Pump Control II -
65 0.5 BU/WH 2122 Ignition Control 2 II -
66 0.5 YE/BU 2124 Ignition Control 4 II -
67 - - - Not Occupied - -
68 0.75 BU/GY 4902 Direct Fuel Injector High Voltage Supply Cylinder 2 II -
69 0.75 BU/WH 4904 Direct Fuel Injector High Voltage Supply Cylinder 4 II -
70 0.75 GN/GY 4903 Direct Fuel Injector High Voltage Supply Cylinder 3 II -
71 0.75 BN/WH 4901 Direct Fuel Injector High Voltage Supply Cylinder 1 II -
72 0.5 BN/WH 582 Throttle Actuator Close Control II -
73 2.5 BK/WH 151 Ground 1 I -