LEMON Manuals: Even more car manuals for everyone
Home >> Buick >> 2020 >> Envision Base >> Repair and Diagnosis >> External Pages >> Different car >> Section 16 (Component Connector End Views (P17-S66P)) >> Component Connector End Views >> S48E Multifunction Switch - Center Console

S48E Multifunction Switch - Center Console

WARNING: This page is about a different car, the 2018 Buick Regal TourX and 2018 Buick Regal. However, it is still accessible from the selected car via links, so may be relevant.
GM1664585Courtesy of GENERAL MOTORS COMPANY
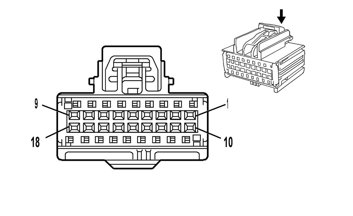
Connector Part Information
  • Harness Type: Floor Console
  • OEM Connector: 89047360
  • Service Connector: Service by Harness - See Part Catalog
  • Description: 18-Way F 0.64 Kaizen Series (BK)
Terminal Part Information

Terminal Type ID Terminated Lead Diagnostic Test Probe Terminal Removal Tool Service Terminal Tray Name Core Crimp Insulation Crimp
I Not Required J-35616-64B (LT BU) No Tool Required Not Required Not Required Not Required Not Required
Pin Size Color Circuit Function Terminal Type ID Option
1 0.5 BK 1850 Ground I -
2 0.35 YE 6817 LED Backlight Dimming Control I -
3 0.35 WH 6816 Indicator Dimming Control I -
4 - 8 - - - Not Occupied - -
9 0.35 GY/GN 2555 Rear Park Assist Disable Signal I UD5/UD7
10 0.35 GN/BN 5852 Rear Park Assist LED Disable Signal I UD5/UD7
11 - - - Not Occupied - -
12 0.35 GY 5054 Sport Mode Switch Signal I F45 /UJC
13 0.35 GN/GY 3215 Computer Command Ride Sport LED Control I F45/UJC
14 0.35 BU/GY 553 Shift Select Switch Performance Signal I F45
15 0.35 WH/BU 3214 Computer Command Ride Tour LED Control I F45
16 0.35 GY/WH 3153 Lane Departure Warning Disable Switch Signal I UHX/UGN
17 0.35 WH 3152 Lane Departure Warning Indicator Control I UHX/UGN
18 - - - Not Occupied - -