LEMON Manuals: Even more car manuals for everyone
Home >> Buick >> 2020 >> Envision Base >> Repair and Diagnosis >> External Pages >> Different car >> Section 16 (Component Connector End Views (P17-S66P)) >> Component Connector End Views >> S47P Seat Memory Switch - Passenger (A44)

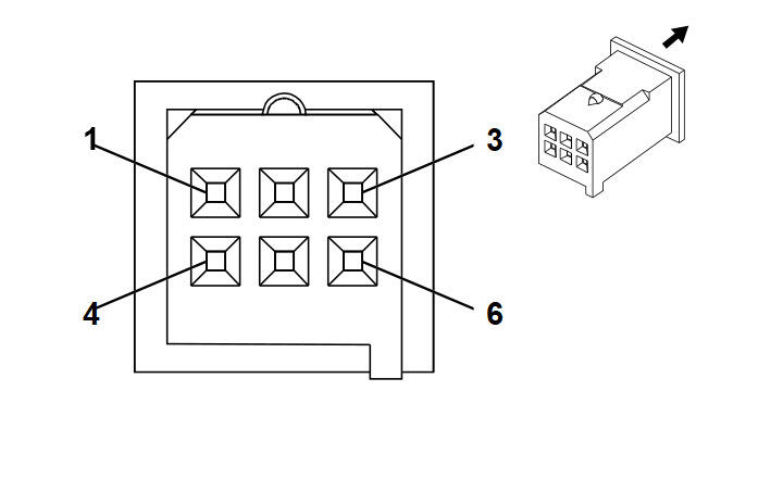
S47P Seat Memory Switch - Passenger (A44)

WARNING: This page is about a different car, the 2018 Buick Regal TourX and 2018 Buick Regal. However, it is still accessible from the selected car via links, so may be relevant.
GM1697500Courtesy of GENERAL MOTORS COMPANY
Connector Part Information
  • Harness Type: Passenger Seat
  • OEM Connector: 24414934
  • Service Connector: Service by Harness - See Part Catalog
  • Description: 6-Way F 0.64 Micro-Quadlock Series (BK)
Terminal Part Information

Terminal Type ID Terminated Lead Diagnostic Test Probe Terminal Removal Tool Service Terminal Tray Name Core Crimp Insulation Crimp
I Not Required J-35616-64B (LT BU) No Tool Required Not Required Not Required Not Required Not Required
Pin Size Color Circuit Function Terminal Type ID Option
1 0.35 BK/BU 4262 Passenger Memory Switch Low Reference 1 I -
2 - 4 - - - Not Occupied - -
5 0.35 BU/GN 4260 Passenger Memory Seat Switch Set Signal I -
6 0.35 WH 4261 Passenger Memory Seat Switch Signal 1 I -