LEMON Manuals: Even more car manuals for everyone
Home >> Buick >> 2020 >> Envision Base >> Repair and Diagnosis >> External Pages >> Different car >> Section 11 (Component Connector End Views (A7-B52C)) >> Component Connector End Views >> A23C Liftgate Latch Assembly (-TC2)

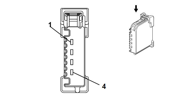
A23C Liftgate Latch Assembly (-TC2)

WARNING: This page is about a different car, the 2018 Buick Regal TourX and 2018 Buick Regal. However, it is still accessible from the selected car via links, so may be relevant.
GM2408185
Connector Part Information
  • Harness Type: Liftgate
  • OEM Connector: 19115646
  • Service Connector: Service by Harness - See Part Catalog
  • Description: 4-Way F 1.5 Series (BK)
Terminal Part Information

Terminal Type ID Terminated Lead Diagnostic Test Probe Terminal Removal Tool Service Terminal Tray Name Core Crimp Insulation Crimp
I Not Required J-35616-14 (GN) No Tool Required Not Required Not Required Not Required Not Required
Pin Size Color Circuit Function Terminal Type ID Option
1 0.75 BK 2350 Ground I -
2 0.35 VT/GY 1303 Lift Gate Ajar Switch Signal 1 I -
3 0.75 BU/WH 6128 Rear Closure Unlatch Motor Unlatch Control I -
4 - - - Not Occupied - -