K84 Keyless Entry Control Module X2
Courtesy of GENERAL MOTORS COMPANY
|
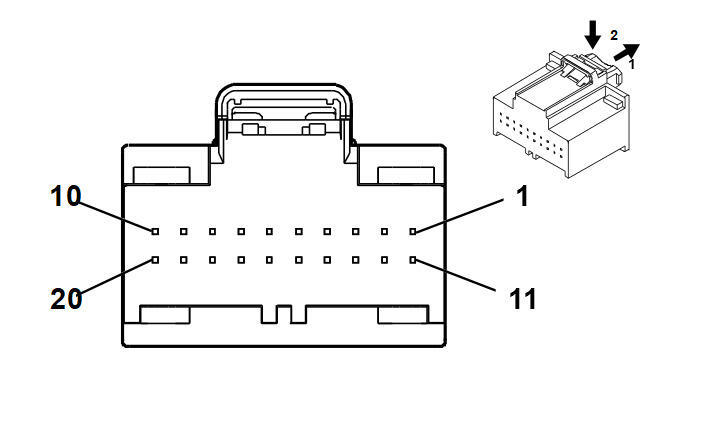
Connector Part Information
- Harness Type: Body
- OEM Connector: 13525991
- Service Connector: 13525991
- Description: 20-Way F 0.64 Series (GY)
|
Terminal Part Information
| Terminal Type ID |
Terminated Lead |
Diagnostic Test Probe |
Terminal Removal Tool |
Service Terminal |
Tray Name |
Core Crimp |
Insulation Crimp |
| I |
13575742 |
J-35616-64B (LT BU) |
J-38125-215A |
SAIT-A03T-M064 |
Yazaki 14 |
P |
P |
| II |
13575867 |
J-35616-64B (LT BU) |
J-38125-215A |
SAIT-A03T-M064 |
Yazaki 14 |
P |
P |
| Pin |
Size |
Color |
Circuit |
Function |
Terminal Type ID |
Option |
| 1 |
0.35 |
YE |
6158 |
Right Rear Door Handle Switch Signal |
II |
- |
| 2 |
0.35 |
BN |
6157 |
Left Rear Door Handle Switch Signal |
II |
- |
| 3 - 5 |
- |
- |
- |
Not Occupied |
- |
- |
| 6 |
0.5 |
VT |
3560 |
Driver Door Keyless Entry Antenna High Signal |
I |
- |
| 7 |
0.5 |
VT/GY |
3561 |
Driver Door Keyless Entry Antenna Low Signal |
I |
- |
| 8 |
- |
- |
- |
Not Occupied |
- |
- |
| 9 |
0.5 |
GN/BK |
3563 |
Passenger Door Keyless Entry Antenna Low Signal |
I |
- |
| 10 |
- |
- |
- |
Not Occupied |
- |
- |
| 11 |
0.5 |
VT/WH |
3571 |
Passenger Door Handle Switch Signal |
I |
- |
| 12 |
0.5 |
GN/WH |
3570 |
Driver Door Handle Switch Signal |
I |
- |
| 13 |
0.35 |
YE/BU |
5797 |
Rear Closure Handle Switch Open Signal |
II |
- |
| 14 - 15 |
- |
- |
- |
Not Occupied |
- |
- |
| 16 |
0.5 |
BN/GN |
3568 |
Rear Closure Keyless Entry Antenna High Signal |
I |
- |
| 17 |
- |
- |
- |
Not Occupied |
- |
- |
| 18 |
0.5 |
GN/GY |
3569 |
Rear Closure Keyless Entry Antenna Low Signal |
I |
- |
| 19 |
- |
- |
- |
Not Occupied |
- |
- |
| 20 |
0.5 |
GN/YE |
3562 |
Passenger Door Keyless Entry Antenna High Signal |
I |
- |