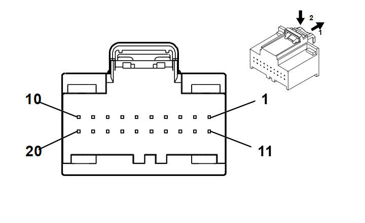
K84 Keyless Entry Control Module X1
Courtesy of GENERAL MOTORS COMPANY
|
Connector Part Information
- Harness Type: Body
- OEM Connector: 13525992
- Service Connector: 13525992
- Description: 20-Way F 0.64 Series (BN)
|
Terminal Part Information
| Terminal Type ID |
Terminated Lead |
Diagnostic Test Probe |
Terminal Removal Tool |
Service Terminal |
Tray Name |
Core Crimp |
Insulation Crimp |
| I |
13575742 |
J-35616-64B (LT BU) |
J-38125-215A |
SAIT-A03T-M064 |
Yazaki 14 |
P |
P |
| II |
13575867 |
J-35616-64B (LT BU) |
J-38125-215A |
SAIT-A03T-M064 |
Yazaki 14 |
P |
P |
| Pin |
Size |
Color |
Circuit |
Function |
Terminal Type ID |
Option |
| 1 |
- |
- |
- |
Not Occupied |
- |
- |
| 2 |
0.5 |
RD/WH |
4042 |
Primary Fused Battery Positive Voltage 40 |
I |
- |
| 3 |
0.35 |
GN |
5060 |
Low Speed GMLAN Serial Data |
II |
- |
| 4 |
- |
- |
- |
Not Occupied |
- |
- |
| 5 |
0.35 |
VT/YE |
4 |
Accessory Voltage |
II |
- |
| 6 |
- |
- |
- |
Not Occupied |
- |
- |
| 7 |
0.5 |
GY/GN |
4083 |
Retained Accessory Power Relay 2 Coil Control |
I |
- |
| 8 |
- |
- |
- |
Not Occupied |
- |
- |
| 9 |
0.5 |
WH/YE |
3574 |
Driver Door Open Switch Signal |
I |
- |
| 10 |
0.35 |
YE/BU |
4086 |
Ignition Mode Switch Challenge Active Signal |
II |
- |
| 11 |
0.5 |
GN/BK |
3558 |
Ignition Mode Switch Signal 2 |
I |
- |
| 12 |
0.5 |
BK/GY |
3559 |
Passive Start Switch 2 Low Reference |
I |
- |
| 13 |
0.35 |
VT/BK |
3 |
Run/Crank Ignition 1 Voltage |
II |
- |
| 14 |
0.5 |
BK |
2350 |
Ground 23 |
I |
- |
| 15 |
0.35 |
GY/BK |
3555 |
Interior Keyless Entry Antenna 2 Low Signal |
II |
- |
| 16 |
0.35 |
BN/BK |
3552 |
Interior Keyless Entry Antenna 1 High Signal |
II |
- |
| 17 |
0.35 |
WH |
3553 |
Interior Keyless Entry Antenna 1 Low Signal |
II |
- |
| 18 |
0.5 |
WH/GN |
3556 |
Interior Keyless Entry Antenna 3 High Signal |
I |
- |
| 19 |
0.5 |
GN |
3557 |
Interior Keyless Entry Antenna 3 Low Signal |
I |
- |
| 20 |
0.35 |
BU |
3554 |
Interior Keyless Entry Antenna 2 High Signal |
II |
- |