LEMON Manuals: Even more car manuals for everyone
Home >> Buick >> 2020 >> Envision Base >> Repair and Diagnosis (Single Page) >> Electrical >> Wiring Diagrams >> Component Connector End Views (K39 (X2)-M17 (X2)) >> Component Connector End Views >> K157 Video Processing Control Module X1

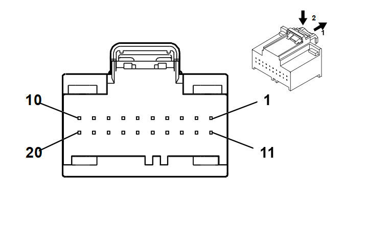
K157 Video Processing Control Module X1

GM5112891Courtesy of GENERAL MOTORS COMPANY
Connector Part Information
  • Harness Type: Body
  • OEM Connector: 13525990
  • Service Connector: 13525990
  • Description: 20-Way F 0.64 Series (BK)
Terminal Part Information

Terminal Type ID Terminated Lead Diagnostic Test Probe Terminal Removal Tool Service Terminal Tray Name Core Crimp Insulation Crimp
I 13582297 J-35616-64B (LT BU) J-38125-215A Not Available Not Available Not Available Not Available
Pin Size Color Circuit Function Terminal Type ID Option
1 0.35 GY/YE 6972 Rearview Camera Signal [+] I UVH
2 0.35 BK/WH 1351 Ground 13 I UVH
3 0.35 BK/WH 1351 Ground 13 I UVH
4 0.35 GY/YE 6972 Rearview Camera Signal [+] I UVH
5 0.35 WH/GN 2628 Left Sideview Camera Video Signal [+] I UVH
6 0.35 BK/GN 4664 Left Sideview Camera Feedback Signal I UVH
7 0.35 BK/BU 4667 Right Sideview Camera Feedback Signal I UVH
8 0.35 WH/BU 2627 Right Sideview Camera Video Signal [+] I UVH
9 - 10 - - - Not Occupied - -
11 0.35 WH/BU 6973 Rearview Camera Signal [-] I UVH
12 0.35 GN/YE 6840 Auxiliary Device 2 Switched Voltage I UVH
13 0.35 GN/YE 6840 Auxiliary Device 2 Switched Voltage I UVH
14 0.35 WH/BU 6973 Rearview Camera Signal [-] I UVH
15 0.35 GY/GN 2625 Left Sideview Camera Video Signal [-] I UVH
16 0.35 VT/GN 4663 Left Sideview Camera Control I UVH
17 0.35 VT/BU 4666 Right Sideview Camera Control I UVH
18 0.35 GY/BU 2626 Right Sideview Camera Video Signal [-] I UVH
19 - 20 - - - Not Occupied - -