LEMON Manuals: Even more car manuals for everyone
Home >> Buick >> 2019 >> Regal Base >> Repair and Diagnosis (Single Page) >> Electrical >> Body Electrical >> Component Connector End Views (B118B-K8 (X1)) >> Component Connector End Views >> B218L Side Object Sensor Module - Left (UD7)

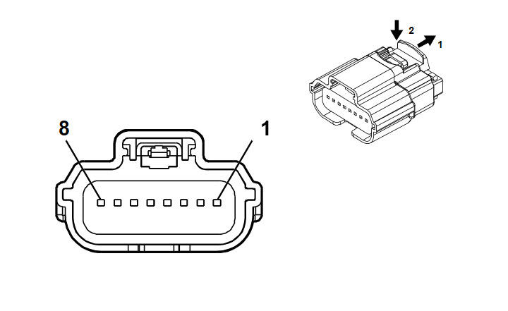
B218L Side Object Sensor Module - Left (UD7)

GM4708234Courtesy of GENERAL MOTORS COMPANY
Connector Part Information
  • Harness Type: Rear Fascia
  • OEM Connector: 33231695
  • Service Connector: Service by Harness - See Part Catalog
  • Description: 8-Way F 64 Series, Sealed (BK)
Terminal Part Information

Terminal Type ID Terminated Lead Diagnostic Test Probe Terminal Removal Tool Service Terminal Tray Name Core Crimp Insulation Crimp
I Not Required J-35616-64B (LT BU) No Tool Required Not Required Not Required Not Required Not Required
Pin Size Color Circuit Function Terminal Type ID Option
1 0.5 GN 5060 Low Speed GMLAN Serial Data I -
2 - 3 - - - Not Occupied - -
4 0.5 BU/WH 3812 High Speed GMLAN Serial Data [+] 5 I -
5 0.5 BU/YE 3810 High Speed GMLAN Serial Data [-] 5 I -
6 - - - Not Occupied - -
7 0.5 BK 2750 Ground 27 I -
8 0.5 RD/GN 5140 Secondary Fused Battery Positive Voltage 51 I -