LEMON Manuals: Even more car manuals for everyone
Home >> Buick >> 2019 >> Envision Base >> Repair and Diagnosis >> External Pages >> Different car >> Section 47 (Component Connector End Views (K9-K33A)) >> Component Connector End Views >> K33A HVAC Control Module - Auxiliary (CJ4)

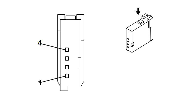
K33A HVAC Control Module - Auxiliary (CJ4)

WARNING: This page is about a different car, the 2018 Buick Envision. However, it is still accessible from the selected car via links, so may be relevant.
GM2831061Courtesy of GENERAL MOTORS COMPANY
Connector Part Information
  • Harness Type: Floor Console
  • OEM Connector: AIT2PB-04M-1AK
  • Service Connector: Service by Harness - See Part Catalog
  • Description: 4-Way F 0.64 Series (BK)
Terminal Part Information

Terminal Type ID Terminated Lead Diagnostic Test Probe Terminal Removal Tool Service Terminal Tray Name Core Crimp Insulation Crimp
I Not Required J-35616-64B (LT BU) No Tool Required Not Required Not Required Not Required Not Required
Pin Size Color Circuit Function Terminal Type ID Option
1 0.5 YE/BU 5442 Endgate Window Regulator Up Signal I -
2 - - - Not Occupied - -
3 0.35 GN/YE 7531 Local Interconnect Network Serial Data Bus 9 I -
4 0.5 BK 2250 Ground I -