LEMON Manuals: Even more car manuals for everyone
Home >> Buick >> 2019 >> Envision Base >> Repair and Diagnosis >> External Pages >> Different car >> Section 45 (Component Connector End Views (A3L-B174G)) >> Component Connector End Views >> B77LF Radio Volume Compensator Interior Noise Microphone - Left Front

B77LF Radio Volume Compensator Interior Noise Microphone - Left Front

WARNING: This page is about a different car, the 2018 Buick Envision. However, it is still accessible from the selected car via links, so may be relevant.
GM2179778Courtesy of GENERAL MOTORS COMPANY
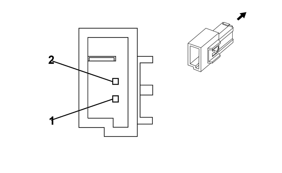
Connector Part Information
  • Harness Type: Headliner
  • OEM Connector: 19153429
  • Service Connector: 19299682
  • Description: 2-Way M 0.64 Series (BK)
Terminal Part Information

Terminal Type ID Terminated Lead Diagnostic Test Probe Terminal Removal Tool Service Terminal Tray Name Core Crimp Insulation Crimp
I Not Required J-35616-65B (LT BU) No Tool Required Not Required Not Required Not Required Not Required
Pin Size Color Circuit Function Terminal Type ID Option
1 0.35 GN/BK 3008 Noise Reduction Microphone 1 Low Reference I -
2 0.35 GN/BN 3005 Noise Reduction Microphone 1 Signal I -