LEMON Manuals: Even more car manuals for everyone
Home >> Buick >> 2019 >> Envision Base >> Repair and Diagnosis >> External Pages >> Different car >> Section 45 (Component Connector End Views (A3L-B174G)) >> Component Connector End Views >> B63RF Side Impact Sensor - Right Front

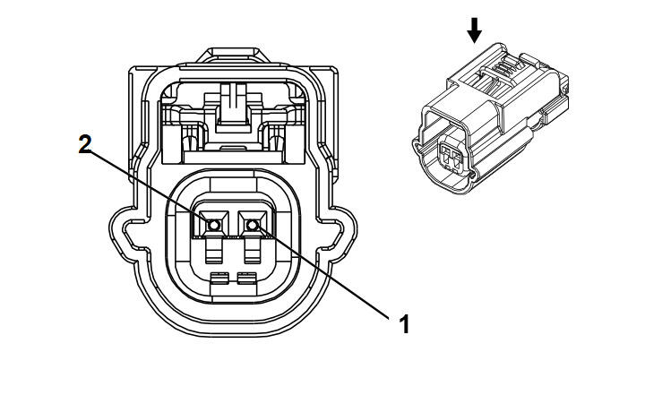
B63RF Side Impact Sensor - Right Front

WARNING: This page is about a different car, the 2018 Buick Envision. However, it is still accessible from the selected car via links, so may be relevant.
GM3556418Courtesy of GENERAL MOTORS COMPANY
Connector Part Information
  • Harness Type: Passenger Door
  • OEM Connector: 89047492
  • Service Connector: Service by Harness - See Part Catalog
  • Description: 2-Way F 0.64 Series, Sealed (L-GY)
Terminal Part Information

Terminal Type ID Terminated Lead Diagnostic Test Probe Terminal Removal Tool Service Terminal Tray Name Core Crimp Insulation Crimp
I Not Required J-35616-64B (LT BU) No Tool Required Not Required Not Required Not Required Not Required
Pin Size Color Circuit Function Terminal Type ID Option
1 0.5 BN/OG 2134 Right Front Side Impact Sensing Module Signal I -
2 0.5 BK/OG 6629 Right Front Side Impact Sensing Module Low Reference I -