LEMON Manuals: Even more car manuals for everyone
Home >> Buick >> 2019 >> Envision Base >> Repair and Diagnosis >> External Pages >> Different car >> Section 45 (Component Connector End Views (A3L-B174G)) >> Component Connector End Views >> A9A Outside Rearview Mirror - Driver

A9A Outside Rearview Mirror - Driver

WARNING: This page is about a different car, the 2018 Buick Envision. However, it is still accessible from the selected car via links, so may be relevant.
GM2676921Courtesy of GENERAL MOTORS COMPANY
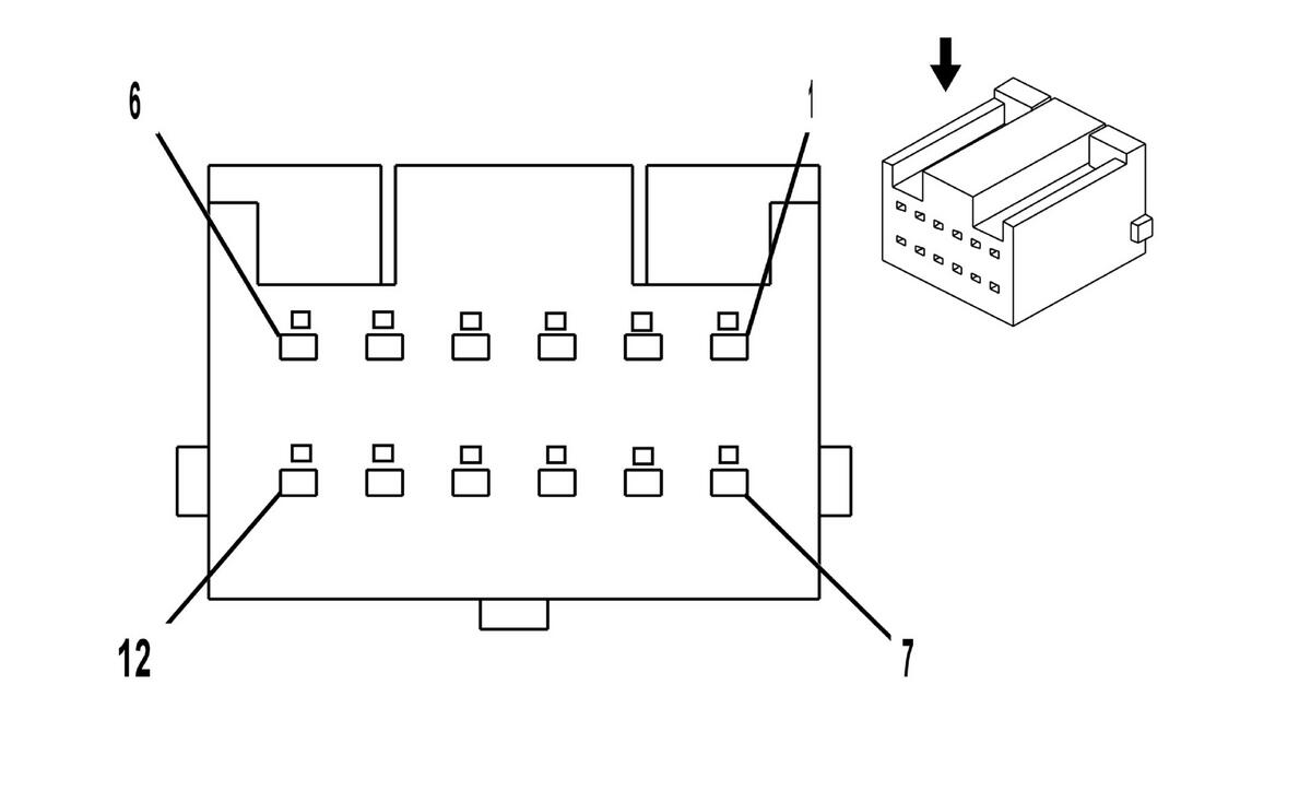
Connector Part Information
  • Harness Type: Driver Door
  • OEM Connector: 13504884
  • Service Connector: Service by Harness - See Part Catalog
  • Description: 12-Way F 0.64 Series (BK)
Terminal Part Information

Terminal Type ID Terminated Lead Diagnostic Test Probe Terminal Removal Tool Service Terminal Tray Name Core Crimp Insulation Crimp
I Not Required No Tool Required No Tool Required Not Required Not Required Not Required Not Required
Pin Size Color Circuit Function Terminal Type ID Option
1 0.35
0.35
GN/WH
GY/YE
6159
5853
Outside Left Mirror Horizontal Position Control
Driver Side Object Detection LED Signal 1
I
I
A45
UKC
2 0.35
0.35
BU/WH
BN/WH
6160
1314
Outside Left Mirror Vertical Position Control
Left Front Turn Signal Lamp Control
I
I
A45
DWL
3 0.35 BU/RD 672 Left Outside Rear View Mirror Position Sensor 5V Reference I A45
4 0.35 BK/BN 673 Left Outside Rear View Mirror Position Sensor Low Reference I A45
5 0.35 GY/BK 7197 Outside Left Mirror Drive Motor Ground I A45
6 0.35 GN/BU 784 Left Mirror Vertical Position Sensor Signal I A45
7 0.35 VT/GY 786 Left Mirror Horizontal Position Sensor Signal I A45
8 0.5 BK 2267 Mirror Heating Element Control I -
9 0.35
0.35
VT/BU
GN/WH
3390
1690
Driver Mirror Motor Up (+) Down (-) Control
Automatic Day/Night Mirror Signal
I
I
-A45
DWL
10 0.35
0.35
BN/BK
RD/BN
3389
1691
Driver Mirror Motor Right (+) Left (-) Control
Automatic Day/Night Mirror Low Reference
I
I
-A45
DWL
11 0.5 BK 1550 Ground I UKC
12 0.35 YE/BN 3391 Driver Mirror Motor Common Control I -A45