LEMON Manuals: Even more car manuals for everyone
Home >> Buick >> 2018 >> Regal Base >> Repair and Diagnosis (Single Page) >> Quick Lookups >> Wiring Diagrams >> Component Connector End Views (F101-K20) >> Component Connector End Views >> K20 Engine Control Module X2 (LGX)

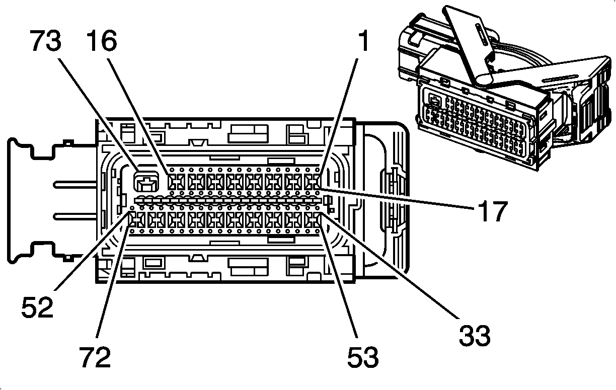
K20 Engine Control Module X2 (LGX)

GM2329692
Connector Part Information
  • Harness Type: Engine
  • OEM Connector: 19167541
  • Service Connector: 13395416
  • Description: 73-Way F 0.64, 2.8 Series, Sealed (BK)
Terminal Part Information

Terminal Type ID Terminated Lead Diagnostic Test Probe Terminal Removal Tool Service Terminal Tray Name Core Crimp Insulation Crimp
I 19355728 J-35616-35 (VT) J-38125-215A Not Available Not Available Not Available Not Available
II 19355736 J-35616-64B (LT BU) J-38125-215A Not Available Not Available Not Available Not Available
III 19355737 J-35616-64B (LT BU) J-38125-215A Not Available Not Available Not Available Not Available
Pin Size Color Circuit Function Terminal Type ID Option
1 0.5 GY/WH 3122 Heated Oxygen Sensor Heater Low Control Bank 1 Sensor 2 II LGX
2 0.5 WH/BN 3223 Heated Oxygen Sensor Heater Low Control Bank 2 Sensor 2 II LGX
3 - 6 - - - Not Occupied - -
7 0.35 GN/VT 4621 Local Interconnect Network Serial Data Bus 21 III LGX
8 - - - Not Occupied - -
9 0.5 BN/GN 1174 Oil Level Switch Signal II LGX
10 - - - Not Occupied - -
11 0.5 YE/BN 331 Oil Pressure Sensor Signal II LGX
12 0.5 BK/YE 548 Engine Control Sensors Low Reference (1) II LGX
13 - 16 - - - Not Occupied - -
17 0.5 GY/WH 3113 Heated Oxygen Sensor Heater Low Control Bank 1 Sensor 1 II LGX
18 0.5 GN/YE 3212 Heated Oxygen Sensor Heater Low Control Bank 2 Sensor 1 II LGX
19 - 26 - - - Not Occupied - -
27 0.5 WH/RD 2705 Oil Pressure Sensor 5V Reference II LGX
28 0.5 VT/BU 5294 Powertrain Main Relay Fused Supply 5 II LGX
29 - 34 - - - Not Occupied - -
35 0.5 WH/BK 3111 Heated Oxygen Sensor Low Signal Bank 1 Sensor 1 II LGX
36 0.5 YE/WH 3211 Heated Oxygen Sensor Low Signal Bank 2 Sensor 1 II LGX
37 0.5 WH/YE 3121 Heated Oxygen Sensor Low Signal Bank 1 Sensor 2 II LGX
38 0.5 YE/BU 3221 Heated Oxygen Sensor Low Signal Bank 2 Sensor 2 II LGX
39 0.5 BK/YE 1716 Knock Sensor Low Reference 1 II LGX
40 0.5 BK/GY 2303 Knock Sensor Low Reference 2 II LGX
41 - - - Not Occupied - -
42 0.35 YE/WH 3200 Throttle Inlet Absolute Pressure Sensor Signal III LGX
43 0.35 WH/RD 3201 Throttle Inlet Absolute Pressure Sensor 5V Reference III LGX
44 - 46 - - - Not Occupied - -
47 0.5 GY/RD 2704 Manifold Absolute Pressure Sensor 5V Reference II LGX
48 0.5 BK/GN 469 Manifold Absolute Pressure Sensor Low Reference II LGX
49 - 50 - - - Not Occupied - -
51 0.5 BK/GY 626 Engine Control Sensors Low Reference (3) II LGX
52 0.5 BN/WH 582 Throttle Actuator Control Close II LGX
53 - 54 - - - Not Occupied - -
55 0.5 VT/GY 3110 Heated Oxygen Sensor High Signal Bank 1 Sensor 1 II LGX
56 0.5 VT/WH 3210 Heated Oxygen Sensor High Signal Bank 2 Sensor 1 II LGX
57 0.5 VT/BU 3120 Heated Oxygen Sensor High Signal Bank 1 Sensor 2 II LGX
58 0.5 VT/GN 3220 Heated Oxygen Sensor High Signal Bank 2 Sensor 2 II LGX
59 0.5 VT/GY 496 Knock Sensor Signal 1 II LGX
60 0.5 WH/GY 1876 Knock Sensor Signal 2 II LGX
61 - 62 - - - Not Occupied - -
63 0.35 BK/VT 2760 Intake Air Temperature Sensor Low Reference III LGX
64 - 66 - - - Not Occupied - -
67 0.5 GN/WH 432 Manifold Absolute Pressure Sensor Signal II LGX
68 - 69 - - - Not Occupied - -
70 0.5 WH/BU 6289 Induction Air Temperature Sensor Signal II LGX
71 - - - Not Occupied - -
72 0.5 YE 581 Throttle Actuator Control Open II LGX
73 2.5 BK/WH 151 Signal Ground I LGX