LEMON Manuals: Even more car manuals for everyone
Home >> Buick >> 2018 >> Regal Base >> Repair and Diagnosis (Single Page) >> Quick Lookups >> Wiring Diagrams >> Component Connector End Views (F101-K20) >> Component Connector End Views >> K20 Engine Control Module X1 (LGX)

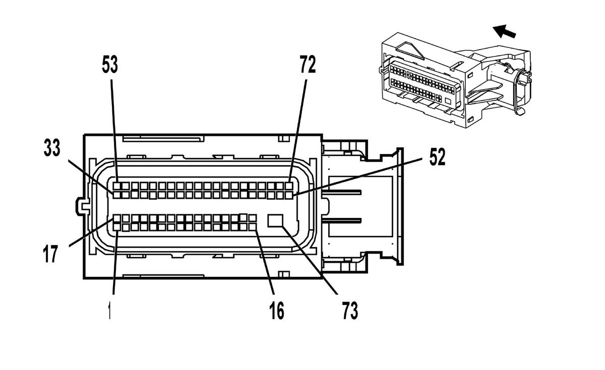
K20 Engine Control Module X1 (LGX)

GM2889071
Connector Part Information
  • Harness Type: Engine
  • OEM Connector: 19167545
  • Service Connector: 19167545
  • Description: 73-Way F 0.64, 2.8 Series, Sealed (BK with BU Terminal Position Assurance)
Terminal Part Information

Terminal Type ID Terminated Lead Diagnostic Test Probe Terminal Removal Tool Service Terminal Tray Name Core Crimp Insulation Crimp
I 19355728 J-35616-35 (VT) J-38125-215A Not Available Not Available Not Available Not Available
II 19355736 J-35616-64B (LT BU) J-38125-215A Not Available Not Available Not Available Not Available
III 19355737 J-35616-64B (LT BU) J-38125-215A Not Available Not Available Not Available Not Available
Pin Size Color Circuit Function Terminal Type ID Option
1 - 3 - - - Not Occupied - -
4 0.5 WH 4499 High Speed GMLAN Serial Data (-) 7 II LGX
5 0.35 BK/VT 1272 Accelerator Pedal Position Low Reference 2 III LGX
6 0.35 YE/WH 1161 Accelerator Pedal Position Signal 1 III LGX
7 0.35 BK/BU 1271 Accelerator Pedal Position Low Reference 1 III LGX
8 0.5 WH 7494 High Speed GMLAN Serial Data (-)3 II -
9 0.35 BK/YE 5382 Brake Position Sensor Low Reference III LGX
10 - 11 - - - Not Occupied - -
12 0.5 WH 2501 High Speed GMLAN Serial Data (-) 1 II LGX
13 0.35 WH/BU 6311 Cruise/ETC/TCC Brake Signal III LGX
14 0.35 WH/GY 459 A/C Compressor Clutch Relay Control III LGX
15 0.5 YE 5991 Powertrain Relay Coil Control II LGX
16 0.35 BN/WH 419 Check Engine Indicator Control III LGX
17 0.35 WH 2368 Cooling Fan Control Signal III LGX
18 - 19 - - - Not Occupied - -
20 0.5 BU/BN 4498 High Speed GMLAN Serial Data (+) 7 II LGX
21 0.35 BN/RD 1274 Accelerator Pedal Position 5V Reference 2 III LGX
22 0.35 GN/WH 1162 Accelerator Pedal Position Signal 2 III LGX
23 0.35 WH/RD 1164 Accelerator Pedal Position 5V Reference 1 III LGX
24 0.5 BU/BK 7493 High Speed GMLAN Serial Data (+)3 II -
25 0.35 WH/RD 5381 Brake Position Sensor 5V Reference III LGX
26 0.35 WH/GN 5380 Brake Position Sensor Signal III LGX
27 - - - Not Occupied - -
28 0.5 BU 2500 High Speed GMLAN Serial Data (+) 1 II LGX
29 - - - Not Occupied - -
30 0.5 GN/WH 492 Mass Air Flow Sensor Signal II LGX
31 0.35 YE/BK 625 Starter Enable Relay Control III LGX
32 - 33 - - - Not Occupied - -
34 0.35 GY 5127 After Boil Heater Relay Control III LGX
35 - 38 - - - Not Occupied - -
39 0.5 BN/GY 4008 Humidity Sensor Signal II LGX
40 0.5 YE/BU 4171 Transmission Position Sensor A 9V Reference II LGX
41 - 43 - - - Not Occupied - -
44 0.5 BK/GN 580 Engine Control Sensors Low Reference (2) II LGX
45 0.35 YE/RD 6031 Brake Vacuum Sensor 5V Reference III LGX
46 - - - Not Occupied - -
47 0.35 BN/RD 2700 A/C Pressure Sensor 5V Reference III LGX
48 - - - Not Occupied - -
49 0.5 VT/BU 5292 Powertrain Main Relay Fused Supply 3 II LGX
50 0.5 VT/BU 5291 Powertrain Main Relay Fused Supply 2 II LGX
51 0.5 VT/YE 5985 Accessory Wakeup Serial Data II LGX
52 0.5 RD/WH 140 Battery Positive Voltage II LGX
53 - 55 - - - Not Occupied - -
56 0.35 YE 5530 Hood Open Switch Signal III LGX
57 - 59 - - - Not Occupied - -
60 0.5 WH/BU 5726 Ignition Mode Switch Mode Control Backup II LGX
61 - 63 - - - Not Occupied - -
64 0.35 BU/GY 636 Outside Ambient Air Temperature Sensor Signal III LGX
65 0.35 YE/VT 6030 Brake Vacuum Sensor Signal III LGX
66 - - - Not Occupied - -
67 0.35 GN 380 A/C Refrigerant Pressure Sensor Signal III LGX
68 - - - Not Occupied - -
69 0.35 GN/GY 465 Fuel Pump Primary Relay Control III LGX
70 0.35 YE/VT 4325 Starter Pinion Solenoid Relay Control III LGX
71 0.5 VT/GN 439 Run/Crank Ignition 1 Voltage II LGX
72 0.75 VT/BU 5292 Powertrain Main Relay Fused Supply 3 II LGX
73 2.5 VT/BU 5290 Powertrain Main Relay Fused Supply 1 I LGX