LEMON Manuals: Even more car manuals for everyone
Home >> Buick >> 2018 >> Regal Base >> Repair and Diagnosis (Single Page) >> Quick Lookups >> Wiring Diagrams >> Component Connector End Views (B52D-F101) >> Component Connector End Views >> B110 Battery Sensor Module X2 (LTG+(M3D/M3T/MRC))

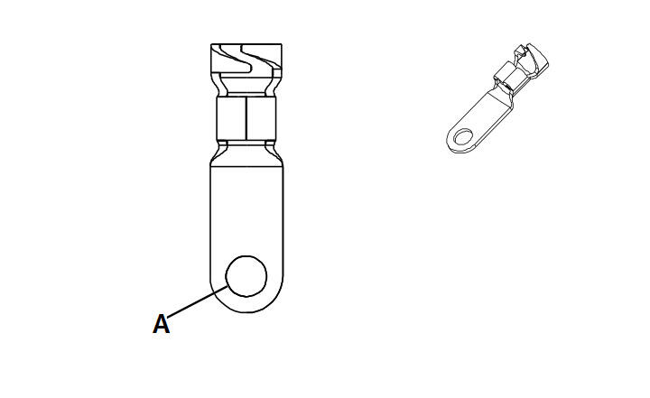
B110 Battery Sensor Module X2 (LTG+(M3D/M3T/MRC))

GM3823743
Connector Part Information
  • Harness Type: Battery Cable
  • OEM Connector: 33342578
  • Service Connector: Service by Harness - See Part Catalog
  • Description: 1-Way Ring Terminal
Terminal Part Information

Terminal Type ID Terminated Lead Diagnostic Test Probe Terminal Removal Tool Service Terminal Tray Name Core Crimp Insulation Crimp
I Not Required No Tool Required No Tool Required Not Required Not Required Not Required Not Required
Pin Size Color Circuit Function Terminal Type ID Option
A 35 BK 50 Ground I -