LEMON Manuals: Even more car manuals for everyone
Home >> Buick >> 2018 >> Envision Base >> Repair and Diagnosis >> Electrical >> Wiring Diagrams >> Component Connector End Views (K36-K182) >> Component Connector End Views >> K71 Transmission Control Module X1

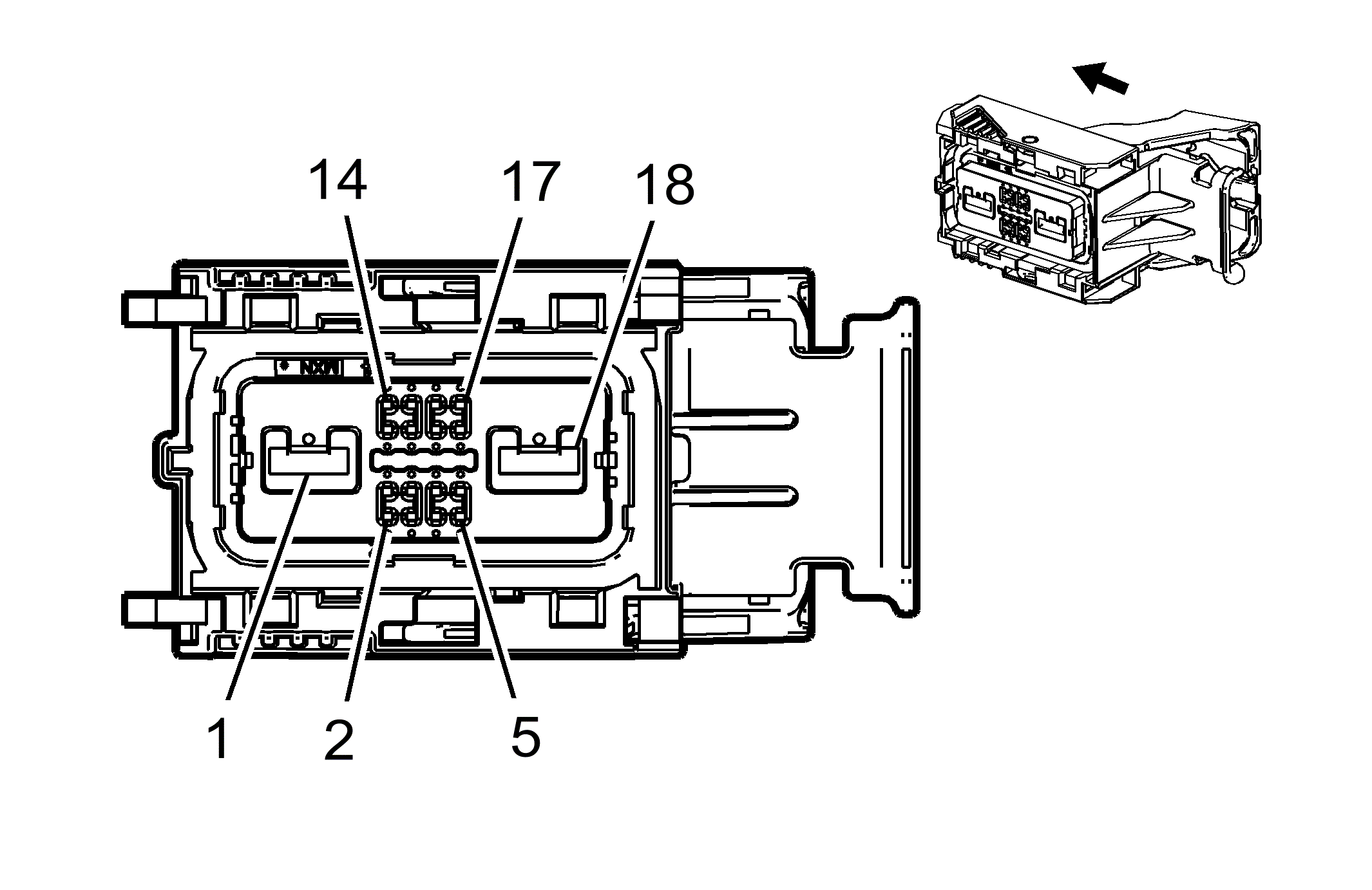
K71 Transmission Control Module X1

GM3961674Courtesy of GENERAL MOTORS COMPANY
Connector Part Information
  • Harness Type: Engine
  • OEM Connector: 12644157
  • Service Connector: Not Available
  • Description: 18-Way F 0.64, 6.3 Series (BK)
Terminal Part Information

Terminal Type ID Terminated Lead Diagnostic Test Probe Terminal Removal Tool Service Terminal Tray Name Core Crimp Insulation Crimp
I Not Required Not Available Not Available Not Required Not Required Not Required Not Required
Pin Size Color Circuit Function Terminal Type ID Option
1 1.0 RD/GN 2173 12V Regulated Supply Voltage 2 I -
2 1.0 BK/WH 151 Signal Ground I -
3 - 5 - - - Not Occupied - -
6 0.5 BU 2500 High Speed GMLAN Serial Data (+) 1 I -
7 0.5 BU 2500 High Speed GMLAN Serial Data (+) 1 I -
8 0.5 WH 2501 High Speed GMLAN Serial Data (-) 1 I -
9 - 11 - - - Not Occupied - -
12 0.5 VT/GN 439 Run/Crank Ignition 1 Voltage I -
13 0.5 VT/YE 5985 Accessory Wakeup Serial Data I -
14 0.5 WH 2501 High Speed GMLAN Serial Data (-) 1 I -
15 - 18 - - - Not Occupied - -