LEMON Manuals: Even more car manuals for everyone
Home >> Buick >> 2017 >> Verano Base, Gas/Ethanol >> Repair and Diagnosis >> Quick Lookups >> Electrical Component Locations >> Electrical Component Locator - Passenger Compartment/Roof Component Views >> Passenger Compartment/Roof Component Views >> Headliner Components

Headliner Components

Headliner Components

Items
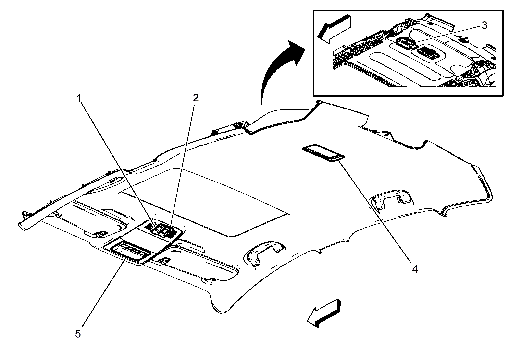
1: S72 Sunroof Switch (CF5) S72 Sunroof Switch
2: S88 Sunroof Tilt Switch (CF5) S88 Sunroof Tilt Switch
3: K77 Remote Control Door Lock Receiver K77 Remote Control Door Lock Receiver X1
4: E37R Dome/Reading Lamps - Rear E37R Dome/Reading Lamps - Rear
5: E37F Dome/Reading Lamps - Front E37F Dome/Reading Lamps - Front
Fig 1: Headliner Components
GM3337952Courtesy of GENERAL MOTORS COMPANY